Invented by Lee; Donggeun, Kim; Sung-Rae, Kim; Ki-Heung, Choi; Jinyong

When your phone, tablet, or laptop works smoothly, it’s thanks to memory chips inside them. Sometimes, things go wrong with those chips, and it’s important to know exactly what happened, right away. This article will help you understand a new way to spot and signal problems in memory chips, based on a recent patent application. We’ll keep things simple, explain why this matters, and show you how this invention could change the way devices handle memory faults forever.
Background and Market Context
The world is full of digital devices—phones, computers, smart watches, and even cars—all using memory chips to store and move data. These memory chips, called semiconductor memory devices, are everywhere. One of the most common types is called DRAM (Dynamic Random Access Memory), which is fast but needs power to keep data.
As people want their devices to do more—watch videos in high quality, play games, use artificial intelligence, and last longer on a single battery charge—memory chips need to be faster and smarter. The newest type, LPDDR6, is being developed for mobile gadgets and embedded systems. It is much quicker than older versions and saves more energy. It also has better ways to check if something is wrong with the data (using something called Error Correcting Code, or ECC).
But as memory gets faster and holds more data, more things can go wrong. Sometimes data gets lost, scrambled, or not read properly during use. If these problems are not found and fixed quickly, it can cause your device to freeze, crash, or even lose important stuff.
Device makers want memory to not only be fast and efficient, but also reliable. They need to know, right away, if something is wrong inside the memory chip. This is called “real-time fault detection.” Right now, finding out about memory problems can take extra time, or needs special wires or signals that make devices more complicated and expensive.

That’s why the new patent we’re looking at is so important. It shows a way for memory chips to send out signals about problems as soon as they happen, using the same paths they already use to send data. This could help make future devices more reliable, cheaper, and easier to fix if something goes wrong.
Scientific Rationale and Prior Art
Before this invention, memory chips used several tricks to spot and handle errors. The most common is ECC (Error Correcting Code), which can catch and sometimes fix mistakes in data. But ECC isn’t perfect. Sometimes, errors slip through, or the system only finds out about them long after they happen.
In older systems, memory chips might use special pins (little metal legs on the chip) just for sending out “fault flags”—little signals that say, “something is wrong.” But adding pins means more cost, more space, and more power use. Other chips might store information about problems and send it later, but this isn’t real-time. By the time the controller (the brain that manages memory) finds out, it might be too late to fix the problem or stop a crash.
Memory chips often have different “modes.” For example, a “meta mode” for setup and testing, and a “normal mode” for everyday work. Some have a “RAS mode”—which stands for Reliability, Availability, and Serviceability. This mode is supposed to help with error checking, but until now, it hasn’t always given real-time, detailed reports on every little thing that goes wrong.
A few earlier patents and products tried to use the data path itself to send error info, but it was hard to make sure the controller could trust what it was getting. Data could get mixed up, or the error signal itself might have errors.
This new patent tackles those problems head-on. It lets the memory chip send out fault flags using the same pipeline as normal data, but in a clever way that makes sure the controller can spot, understand, and even fix errors quickly and reliably.

Invention Description and Key Innovations
Let’s break down what this invention does, how it works, and why it matters for the future of electronics.
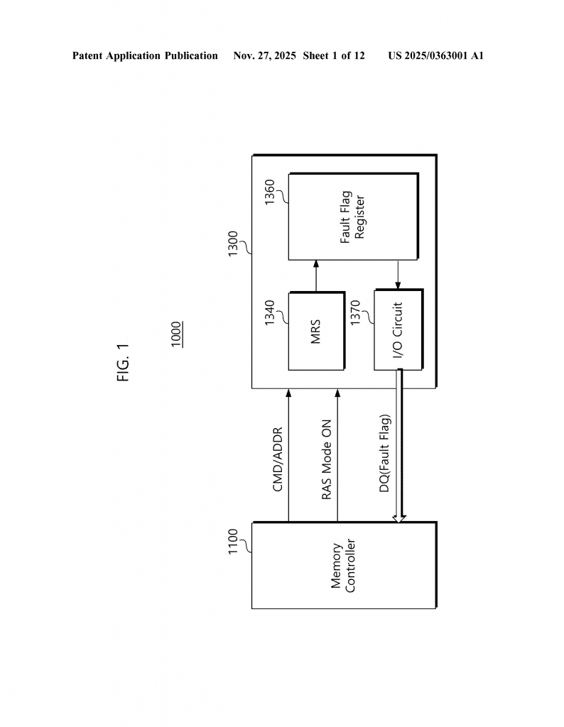
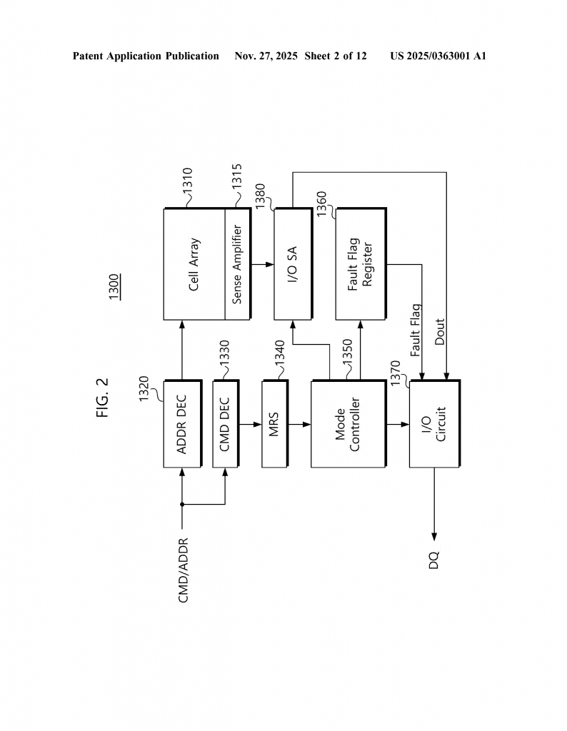
First, the memory chip can switch between different modes. When it’s time to watch for errors and keep things running smoothly, it switches to RAS mode. This mode is special because it lets the chip collect information about problems—called “fault flags”—as soon as they happen.
The fault flags are small pieces of info, like:
- Is the data read valid?
- Is there an error that ECC can fix?
- Is there an error that ECC can’t fix?
- Did something go wrong with the link between the chip and the controller?
Instead of sending these fault flags through extra wires or waiting to report them later, the chip puts them right into the data packets it already sends out. Each time the chip sends a packet of data (for example, 256 bits of user data plus some extra bits), it uses some of the extra bits—called the metadata field—to carry the fault flag.

But what if there’s a problem with the fault flag itself? The invention solves this by writing the same flag value into several bits, not just one. For example, if the chip wants to say, “there’s an error ECC can fix,” it writes ‘111’ into three spots in the metadata field. When the controller gets the data, it checks those three bits. If all three say ‘1,’ it’s sure the signal is true. If only two say ‘1,’ the controller uses a “majority rule”—if most of the bits agree, it trusts the result. This way, even if there’s a glitch or small error, the system can still know what’s really going on.
The invention also covers what happens when the chip and the controller use something called link ECC. This is a way to protect not only the data, but also the fault flag itself, as it travels between the chip and the controller. When link ECC is turned on, the chip adds special codes (parity bits) to the data packet. If anything gets scrambled along the way, the controller can spot it, and sometimes even fix it, making the whole system even more reliable.
All of these changes happen right away, as soon as a problem shows up. The controller gets the data packet—including the fault flag and the error correction info—in real time. It can then decide what to do: ignore the error, fix it, or take special action (like stopping transmission if the error is very bad).
The patent describes not just how the chip creates and sends these fault flags, but also how the controller receives, checks, and uses them. It even explains how the chip can be used in all sorts of devices—phones, tablets, computers, and even big servers with stacked memory chips.
This invention’s key innovations include:
– Real-time reporting: The chip sends out error info instantly, so problems can be fixed before they get worse.
– Using existing data paths: No extra wires or pins are needed, saving space and cost.
– Redundant flag writing: Writing the same flag into more than one place increases trust in the signal.
– Majority decision logic: The controller can spot and correct errors in the flag itself, not just the data.
– Flexible, mode-based operation: The chip can switch between different modes for setup or error-checking as needed.
– Full compatibility: Works with all kinds of memory chips and systems, from phones to servers to high-bandwidth memory in data centers.
The result is a system where devices can watch for, report, and even fix memory problems instantly, without extra hardware or delay. This can help make future gadgets faster, safer, and more dependable than ever before.
Conclusion
Memory chips are the heart of all our devices. As we rely on them more and more, making sure they work right—every second—is more important than ever. This new way of sending out real-time fault flags, right inside the data packets, is a clever and powerful step forward. It makes error reporting faster, simpler, and more reliable, helping everything from your phone to giant data centers run better.
For device makers, this means fewer crashes, easier fixes, and happier users. For everyone else, it means more dependable gadgets and technology you can trust. As memory chips keep getting faster and smarter, inventions like this will shape the future of electronics for years to come.
Click here https://ppubs.uspto.gov/pubwebapp/ and search 20250363001.
