Invented by Squires; Isaac, Said; Simon, Tenea; Bogdan, 2hr Learning, Inc.

Online learning has changed the way students learn. But keeping students engaged and on track is still hard, even with digital tools. A new patent application aims to solve this by using a smart system that watches how students behave online, gives them feedback, and helps them learn better. Let’s break down what makes this invention special and why it matters for students, teachers, and anyone who cares about real learning online.
Background and Market Context
The move from classrooms to online platforms has opened doors for students everywhere. Now, kids can learn from home, on their own time, and use fun learning apps like Khan Academy, IXL, or Duolingo. These platforms offer lessons, quizzes, and games, making learning more flexible and even fun for some. But there’s a big problem: not all students learn the same way, and not every platform “talks” to others. This means a student might do well in one app but struggle in another, and teachers or parents can’t see the whole picture of their progress.
In the past, online learning sites worked alone. They could only see what you did inside their own app and made guesses about what you needed next. They might suggest practice problems, videos, or games, but these choices were the same for every student, no matter what that student really needed. If a student got bored or distracted, or started guessing answers just to finish faster, the system couldn’t help. Teachers often had to rely on their own observations, which takes time and can miss small but important problems.
The rise of artificial intelligence (AI) promised to help. AI can look at lots of data and find patterns that people miss. But until now, most AI for education was basic. It might recommend a harder question if you got the last one right, or an easier one if you got it wrong. It didn’t understand why you were making mistakes, if you were rushing, or if you were looking away from the screen. It also didn’t help if you switched between different learning apps, because each app kept its own data.
This new invention steps in to fill the gap. It’s a system that doesn’t just look at grades or quiz scores. It watches how you interact with the lessons—how long you spend on questions, if you skip parts, if you use hints too much, or if you’re not paying attention. It works across different learning apps, bringing all your data together. Then, it uses AI to give you real-time advice, like a personal tutor who knows your strengths and struggles. For students, this means more help right when they need it. For teachers and parents, it means a better way to see what’s really going on.

Scientific Rationale and Prior Art
Why is this needed? Old systems for online learning had a lot of limits. They only looked at test scores or if you finished a lesson. They couldn’t see if you were bored, stuck, or just clicking through as fast as you could. To spot problems, they relied on students to say when they were confused or on teachers to watch every student. This doesn’t work well, especially in big classes or for kids who don’t want to admit they’re struggling.
Some apps tried to use AI, but they mostly followed simple rules. If you got three questions wrong, you’d get a hint. If you kept getting them right, you’d get a harder problem. But this is still one-size-fits-all. These systems didn’t know if you were looking up the answer online, chatting with a friend, or just guessing to finish quickly. They also didn’t work if you used more than one learning platform. Each kept its own data, so no one could see the whole story.
A few tools tried to use “gamification” to help. They gave out points or badges for finishing lessons or getting high scores. This sometimes helped students stay motivated, but it still didn’t fix the problem of understanding real learning behavior. If a student got a badge for finishing quickly, they might rush and not actually learn.
The new invention builds on these ideas but goes much further. It uses a special system that combines all kinds of data: scores, time spent, which answers you pick, how you move through lessons, even if you’re distracted or away from your seat. It connects different learning platforms using APIs (ways for programs to talk to each other), so you get a full view of each student, no matter where they’re learning.
Then, the real magic happens: the system uses AI, but not in the usual way. It gives the AI very clear rules—“prompts”—so it doesn’t make up answers or miss important clues. The AI looks for patterns like rushing, skipping, or using outside help when you shouldn’t. If it finds a problem, it sends a message to the student right away, often in a pop-up window, with advice on what to do next. It can also give out points, badges, or other rewards to keep students engaged, but only for real learning, not just finishing fast.
This approach is new because it doesn’t just watch what you do—it tries to understand why you’re doing it, and it works in real time, across different apps, with guidance that keeps the AI focused on real learning goals.

Invention Description and Key Innovations
So, what exactly does this invention do and how does it work? At its core, it’s a set of computer programs and AI tools that connect to online learning sites. Here’s how it works in simple terms:
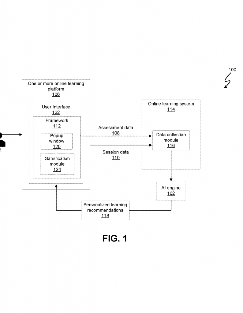
When a student logs into a learning site, a special framework (like a browser extension) starts watching. It collects lots of data: your quiz scores, how much time you spend on each question, where you click, if you use hints, and even if you’re looking at the screen or away from your computer. If you use more than one app—maybe math on one, reading on another—it pulls all the data together.
All this information is sent to a data collection module. This part acts like a smart notebook, keeping track of every move. It looks for patterns—are you skipping hard questions, guessing, using hints too much, or getting distracted? If something seems off, the system creates a “prompt” for the AI engine. This prompt is like a set of instructions telling the AI what to look for and what advice to give.
Unlike regular AI that might just guess, this system guides the AI with very clear rules. For example, it tells the AI to look for signs that you’re away from your desk (no face in the webcam), or if you’re spending too little time on questions (rushing), or if you’re using outside help (cheating). It even checks if you’re ignoring explanations after wrong answers or if you’re just browsing unrelated websites.
Once the AI has analyzed your behavior, it generates a personalized recommendation. This might be advice like “Try spending more time on each question,” “Be sure to read the explanation before moving on,” or “You seem distracted. Take a break and come back focused.” These recommendations pop up right on your screen, so you get help exactly when you need it.
The system also uses gamification, but in a smart way. It gives points, badges, or even small rewards not just for finishing, but for learning the right way—staying on task, not skipping, and actually understanding the material. There are leaderboards and levels to keep things fun, but the focus is always on real learning, not just speed.

Everything is stored in a database, so students, teachers, and parents can see progress over time. If a student keeps struggling with a topic, the AI might suggest extra practice, videos, or a new way to learn. If a student is doing well, it might offer harder challenges or new topics to explore.
The invention’s technical innovations include:
1. Real-Time Behavior Tracking: The system doesn’t wait for the end of a lesson or quiz to give feedback. It watches as you work and reacts right away, which helps students correct mistakes before they become habits.
2. Multi-Platform Integration: By using APIs, the system collects data from different learning apps and brings it all together, giving a full picture of each student’s learning journey.
3. Guided and Constrained AI: The AI doesn’t just guess what you need—it gets specific instructions and rules to follow, so its advice is focused, clear, and avoids common AI problems like making things up.
4. Anti-Pattern Detection: The system is smart enough to spot “bad habits” like rushing, skipping, or cheating, and it intervenes with helpful suggestions, not just penalties.
5. Smart Gamification: Rewards and points are given for good learning behavior, not just for finishing quickly or getting lucky guesses. This keeps students motivated in the right way.
6. Privacy and Security: All data is stored securely and handled according to privacy rules, so students’ information stays safe.
7. Teacher and Parent Insight: Because the system collects and combines so much data, it gives teachers and parents a much clearer view of what students are doing, where they need help, and how they can improve.
8. Custom Prompts and Feedback: The AI can be tailored for different subjects, platforms, or student needs, making the advice and feedback even more personal and effective.
The technical set-up is complex behind the scenes, but for the user, it’s simple: log into your learning app, and the system quietly helps you stay on track, learn better, and avoid common pitfalls. Teachers can see real reports, and students get advice that feels like a real tutor is always by their side.
Conclusion
This new invention is a big step forward for online learning. By using a guided AI system that watches how students behave—not just what answers they give—it gives real help, right away, across all learning platforms. It helps students stay focused, learn better, and avoid distractions or bad habits. For teachers and parents, it offers a true window into how students are doing, so they can offer better support. As online learning continues to grow, solutions like this are not just helpful—they’re essential for making sure every student can succeed, no matter where or how they learn.
Click here https://ppubs.uspto.gov/pubwebapp/ and search 20250363580.
