Invented by ZHAO; FANGYUN, Guo; Yunfei, Zhang; Weide, Xu; Wenda, Li; Fulan, Zhang; Chengkun

Revolutionizing Extremity Rehabilitation with Personalized Robotic Devices: A Deep Dive
Extremity rehabilitation is getting a major upgrade. Today, we’ll look at a new patent application that brings together robotics, smart software, and the real-life routines of patients to create a better way to recover movement and strength. This article will break down why this invention matters, what science and technology led to it, and how it works in simple, clear terms.
Background and Market Context
Every year, millions of people all over the world need help getting their arms, hands, or legs working again after things like strokes or injuries. These people want to move better so they can dress themselves, eat, or play with their kids. But the road to recovery is tough and often boring.
Hospitals and clinics have therapists who use exercises and special tools to help patients. Sometimes, these centers use simple games or activities to make therapy more fun. But many patients still find it hard to stay motivated. They may also miss out on therapy because they can’t travel often, or because therapy doesn’t match what they really do at home.
In recent years, robotic devices have started to help with rehabilitation. Robots can repeat movements over and over, measure how strong someone is, and keep track of progress. Some even use computer games to make therapy more like play. Virtual and augmented reality headsets are also coming into use, showing patients colorful scenes and interactive objects while they exercise.
But even with these new tools, there are still big problems. Most robotic systems focus only on the physical part: moving an arm or leg back and forth. They don’t connect with the patient’s real life. For example, a patient might practice moving their hand in therapy, but the movement has nothing to do with their morning routine, like brushing their teeth or pouring cereal. This can make therapy feel disconnected from daily life. Plus, many rehab tools don’t pay attention to thinking skills, which is important because many patients—especially stroke survivors—also have trouble with memory or planning.
The healthcare industry is strongly interested in making therapy more effective and engaging. Hospitals, home care services, and even insurance companies know that better, personalized rehab means people recover faster and need less help. There’s also a growing market for home-based systems—devices that patients can use where they live, guided by software and remote therapists.
The market is ready for a solution that fits each patient’s real world, makes therapy both physical and mental, and keeps people interested in coming back day after day. The patent application we’ll explore today aims to do exactly that.

Scientific Rationale and Prior Art
The science behind recovery after injury or illness is all about helping the brain and body learn to work together again. This is called neuroplasticity. Therapy often focuses on repeating movements, because practicing is what helps nerves and muscles relearn lost skills.
Research has shown that therapy works better when it’s meaningful—when the tasks are connected to things people do every day. If you practice movements that match your real-life routines, your brain and muscles remember them better. This is why therapists often ask patients to practice things like combing their hair, tying shoes, or picking up a cup.
At the same time, therapy also needs to be engaging. Studies have proven that people who enjoy their therapy or who find it interesting will practice more and recover faster. That’s why computer games and virtual reality are becoming popular in rehab. They make therapy more like a game, giving rewards and feedback to keep patients motivated.
Previous inventions in this area have included robotic arms that help move a patient’s limb, devices that track movement, and software that offers simple games or exercises. Some systems let therapists set up routines and track progress. A few advanced products even use virtual or augmented reality to show objects the patient can “touch” or “move” while exercising.
However, these older systems have some limits. Most do not build therapy routines based on what the patient actually does at home. They may have a set of pre-made exercises or games, but they don’t adjust to each person’s daily habits or favorite activities. Also, while some use games to make therapy fun, they rarely combine both physical and thinking challenges in one session.
Another big advance in recent years is in artificial intelligence (AI) and machine learning. AI can look at lots of data and find patterns, helping to make decisions or suggestions. In healthcare, AI is being used to predict patient risks, suggest treatments, and even design personalized exercise plans. Some research is looking at AI to help create or adjust therapy routines for patients.
So, to sum up, before this new invention, rehab technology could:
– Move a patient’s limb or help them practice movements,
– Offer simple games for engagement,
– Provide some tracking of progress,

– Sometimes use virtual or augmented reality,
– And, in a few cases, use AI to make decisions.
But these systems did not:
– Build therapy routines based on the patient’s real-life habits and daily activities,
– Combine physical and cognitive training in one process,
– Use AI to create truly personalized, daily-life-based therapy sessions,
– Give real-time feedback and adjust to the patient’s needs during therapy,
– Or generate detailed, personalized reports that show both physical and cognitive progress.
This is the gap that the new patent aims to fill—by using a smart robotic device, personalized data, and modern AI to create therapy that feels real, fits the patient’s life, and helps both body and mind.
Invention Description and Key Innovations
The heart of this invention is a smart robotic device that helps people practice movements, guided by routines that match their real life. It uses information about the patient’s daily habits and activities to make therapy feel like natural parts of their day. Here’s how it works in simple words.
First, the system gathers personalized information about the patient. This means learning what the patient does each day—like making breakfast, brushing their teeth, or putting on clothes. The system can get this info from the patient, their family, therapists, or even from hospital records.

This personalized data is stored in a secure database. Next, the system uses advanced AI, called a machine learning model, to look at this data and build a custom therapy routine. This is not a one-size-fits-all session. Instead, the robot suggests exercises and tasks that match the patient’s real habits. For example, if a patient starts every day with a cup of coffee, the robot might include a task where the patient practices lifting a cup.
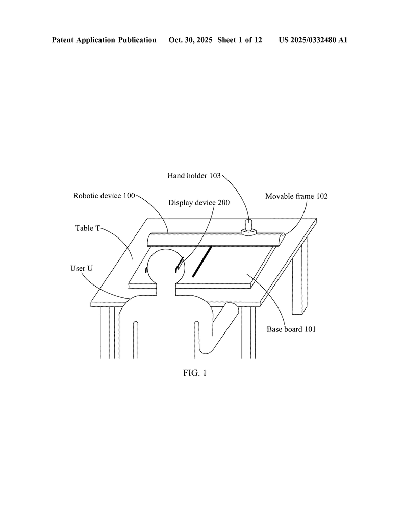
The therapy routine is turned into an interactive experience. The robot can be something like a smart arm on a table, a wearable exoskeleton, or even a mobile helper. The patient interacts with the robot using their arm or hand. The robot senses how much force the patient is using, how far they can move, and how steady they are.
Here is where things get really interesting. The routine is not just physical. The robot and its connected display device—like a headset or screen—show the patient a scene that matches their real life. Maybe it’s a virtual kitchen, a bathroom, or a living room. The patient can see and “touch” virtual objects, such as a toothbrush, a spoon, or a shirt. The robot gives real physical feedback by pushing back a little or helping the patient, depending on how the therapy is set up.
The system can work in different modes. Sometimes, it lets the patient move freely, just tracking their actions. Other times, the robot helps guide the movement or gives some resistance, making it a bit harder so their muscles get stronger. The patient or therapist can choose which mode is best for each session.
As the patient completes each task—say, “brushing teeth” or “pouring water”—the robot measures how they do. It senses how much force they use, how smoothly they move, and how long it takes. The scene on the display changes to match their progress, just like moving through steps in a real-life routine.
At the end of each session, the system uses the data it collected to build a personalized report. This report shows the patient (and their therapist or family) how much they improved. It displays things like how far they could move their arm, how strong they were, and how well they completed each step of the routine. This feedback is shown on the display in easy-to-understand pictures or charts, so patients can feel proud of their progress.
One of the key advances is the use of generative AI models. These models don’t just pick from a list—they actually create new therapy routines and scenes based on the patient’s real data. If the patient’s lifestyle changes, the robot and display update the routines. This keeps therapy fresh, interesting, and always linked to what matters most in the patient’s daily life.
The robot itself is built for safety and comfort. It has sensors that measure force and position very carefully, making sure it never pushes too hard or moves too fast. The end of the robot that touches the patient can be adjusted for each person’s size and needs. Motors inside the robot are controlled using smart software that adjusts how much they help or resist, depending on what the therapy calls for.
Another big plus is that the system works with different display devices. Some people may want to use a simple screen, while others can wear a headset that shows 3D scenes. The display can switch between showing the real world, a fully virtual world, or a mix of both with objects overlaid on the real environment.
The invention also values privacy and security. All personal data is kept safe, and only shared with people the patient trusts, like their doctor or therapist.
In short, the key innovations are:
– Using real-life routines to build therapy sessions,
– Combining physical and cognitive training in one seamless process,
– Letting the patient interact with virtual objects that match their daily activities,
– Giving real-time feedback and adjusting the challenge level,
– Building detailed, personalized reports to show progress,
– And using smart AI that learns and adapts as the patient’s needs change.
This system can be used in clinics, hospitals, or even at home. It means that recovery is no longer just about repeating boring exercises. Instead, therapy becomes a part of daily life, helping patients regain both movement and confidence in things that matter to them.
Conclusion
This new approach to extremity rehabilitation marks a real shift in how we think about recovery. By making therapy personal, interactive, and deeply connected to everyday life, the invention described in this patent application stands to help patients recover faster and enjoy the process much more. It brings together robotics, smart AI, and real-world understanding—creating a system that truly fits each person, instead of forcing everyone into the same mold.
For healthcare providers, this means better outcomes and happier patients. For users and their families, it means a smoother, more meaningful journey back to independence. And for the future of rehab technology, it sets a high bar—one where therapy is not just about movement, but about living fully again.
Click here https://ppubs.uspto.gov/pubwebapp/ and search 20250332480.
