Invented by Bae; Junhee, Choi; Beomgyu, Hong; Seungpyo, Samsung Display Co., Ltd.
Display technology is everywhere today, in our smartphones, watches, and even glasses. Making these screens strong, clear, and free from defects is a big challenge for companies. A recent patent application describes a new way to build display screens that are tougher, look better, and are easier to make. Let’s break down what this invention means, why it matters, and how it works.
Background and Market Context
Display devices are essential in our daily lives. From the phone in your pocket to the smartwatch on your wrist, these gadgets rely on screens that can show sharp images while staying safe from scratches or cracks. Over the years, companies have tried different materials to protect these screens. Glass was popular for a long time because it is clear and cheap. But glass can break easily.
Then came stronger materials, like sapphire. Sapphire is almost as hard as diamond. This makes it very good at resisting scratches. That’s why some expensive watches and smartphones use sapphire covers. But sapphire is not perfect. It is expensive to cut and shape, especially into the curved shapes that many modern devices require. When companies try to make complex shapes from sapphire, they often end up with a lot of waste and many defects. These defects can make the screens look bad or even cause them to break.
Wearable devices, like smartwatches, have special needs. They are small, often round, and must fit comfortably on your body. Their screens must be both tough and beautiful. Manufacturers want to make these screens strong enough to survive bumps and scratches, but also thin and light so the device stays comfortable. And of course, the screens must let light through perfectly, so you see bright, clear images. All of these needs make it very hard to design the perfect cover window for a display device.
In addition to being strong and clear, manufacturers want to hide the circuits and wires that sit under the screen. No one wants to see a mess of electronics when they look at their watch or phone. Usually, companies solve this by adding a black layer around the edge of the screen. But making this layer perfect is another big challenge, especially when using hard materials like sapphire.
This is where the new patent comes in. It offers a way to build a display cover that uses strong materials like sapphire, but avoids the manufacturing problems that have troubled companies until now. It also promises to keep the screen looking clear and beautiful, hiding the messy parts underneath.
Scientific Rationale and Prior Art
To understand why this patent is important, let’s look at how screens were made before.
Most display covers are made from one solid piece of glass or sapphire. When companies want a flat screen, this is pretty simple. They cut out a flat piece, polish it, and glue it on top of the display. But when a device needs a curved or shaped cover, things get tricky. You have to cut away a lot of material to get the shape you want. With glass, you can do this fairly easily, but the glass can still break. With sapphire, the process is much harder. Sapphire is strong but also brittle, so it can crack during cutting. The more you cut, the more likely it is to break or have ugly marks. This means a lot of wasted material and higher costs.
To protect the display and hide its electronics, companies often add a black “mask” layer around the edges of the screen. This layer is usually made from a dark color or an opaque material. It blocks light, so you don’t see the wires and circuits underneath. Sometimes, this black layer is printed directly onto the glass. Other times, it’s a separate piece glued on. But if the cover is not perfectly shaped, gaps can appear, and the mask doesn’t work well. Also, if you use glue that lets light through, you might still see the electronics below.
Some companies have tried using two pieces for the cover: a strong central piece (like sapphire) for the clear middle part, and a different material for the edges. The idea is to save on expensive sapphire by using it only where you need it most. But connecting these two pieces securely is not easy. If the join is weak, the cover can break or let in dust and water. Also, if the joint is not perfectly hidden, users can see where the two pieces meet, which looks bad.
Other approaches involved using colored glue to join pieces together. If the glue is not opaque enough, or if it is not spread evenly, you can still see ugly lines or bubbles. If the glue is too thick or thin, the cover’s strength and clarity suffer.
In short, before this patent, companies faced big problems:
– Making tough, shaped covers from sapphire was hard and wasteful.
– Hiding the electronics under the screen was tricky, especially at the edges.
– Joining different materials together without visible defects or weak spots was difficult.
This patent solves these problems with a clever new structure for the display cover.
Invention Description and Key Innovations
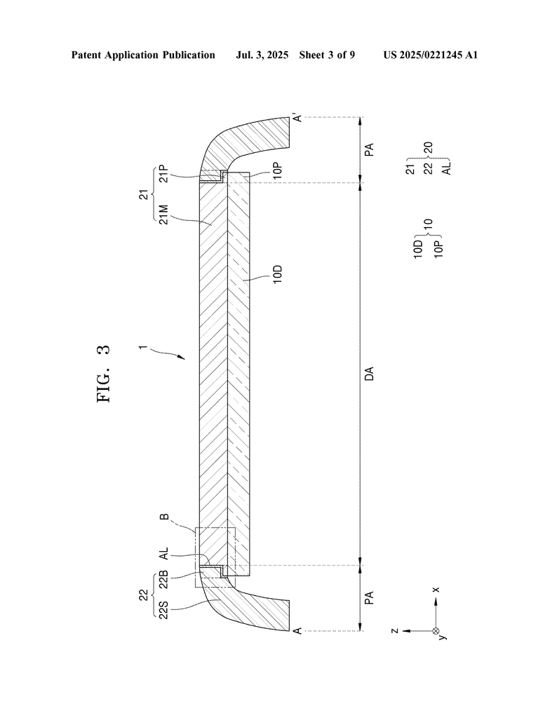
The invention introduces a new way to build a cover window for display devices, especially smartwatches and other wearables. Instead of cutting one big piece of sapphire into a tricky shape, the cover is made from two main parts that fit together like puzzle pieces.
First, there is the base portion. This is the flat, clear part in the middle that sits directly above the display. It is made from sapphire, so it is very hard and scratch-resistant. Most of the images you see on the device will shine through this part. The base portion has two parts: a main portion in the center, and a small protrusion that sticks out around its edge.
Next, there is the edge portion. This goes around the outside of the base portion. The edge portion has two sections: a lateral wall that forms the side of the cover, and a binding portion that reaches inward and sits on top of the protrusion from the base. The edge portion can be made from a tough, opaque material like black ceramic, black sapphire, or crystallized glass. This material is strong, but less expensive and easier to shape than pure sapphire. The edge portion is usually colored black or another dark color, so it blocks light and hides the electronics under the edge of the display.
These two parts are joined together with an adhesive layer. The adhesive is not just sticky—it also includes a light-blocking material, like black dye or tiny black particles. This makes sure that no light leaks through the join, so users never see what’s underneath.
The invention is very careful about the size and shape of the protrusion and binding portion. The protrusion is just big enough (between about 0.5 and 1.0 millimeters long, and 0.1 to 0.25 millimeters thick) to give a strong, solid connection, but not so large that it weakens the cover or lets in extra light. If the protrusion is too small, the join is weak. If it is too big, the cover becomes fragile or lets in too much refracted light, which can make the screen look odd.
In some versions, the edge portion is transparent (like crystallized glass) rather than black. In this case, a separate light-blocking layer is added on top of the edge portion to hide the electronics below. The invention allows for different shapes, but is especially well-suited for round or circular screens, as often found in smartwatches. In these cases, the base portion is a circle, and the edge portion is a ring that fits perfectly around it.
This structure offers several big advantages:
– Fewer defects during manufacturing: By making the edge and base portions separately, manufacturers can avoid cutting away lots of expensive sapphire. This reduces waste and the risk of cracks or flaws.
– Better appearance: The join between the two parts is hidden under the edge of the screen, so users never see it. The black adhesive and/or black edge portion ensure that no light leaks through to show the circuits below.
– Strong and durable: The careful design of the protrusion and binding portion means the cover is held together very tightly, but without adding extra weight or thickness.
– Flexible material choices: Manufacturers can choose different materials for the edge portion depending on the look and feel they want, and can use sapphire only where it matters most.
– Easy to adapt: The design can be used for other shapes and types of devices, not just round smartwatches. It can also work with different display technologies, including OLEDs, LEDs, and quantum dot screens.
The patent also describes how the cover fits over the display panel itself. Under the cover, the display panel contains all the usual parts: pixels that light up in different colors, circuits that control them, and layers to protect the sensitive electronics. By using the new cover window structure, the display panel can be kept safe from scratches and impacts, and users see only a bright, clean screen.
Finally, the invention describes ways to make sure that even if the edge portion is transparent, you can still block out unwanted light or hide the electronics. This is done by adding an extra light-blocking layer on top of the edge, made from black dye, metal particles, or other dark materials.
In summary, this patent lays out a smart, flexible way to make tough, beautiful display covers that are easier and cheaper to manufacture, while hiding the messy parts of the device from view.
Conclusion
This new patent shows a big step forward in display technology. By splitting the cover into two carefully designed pieces and joining them with a special light-blocking adhesive, manufacturers can make screens that are strong, clear, and free from defects. The design is especially useful for wearables, where space is tight and appearance matters a lot. With this invention, companies can use hard materials like sapphire only where they are needed, saving money and reducing waste. The clever way the pieces fit together means users never see the joins or the electronics underneath, just a bright, beautiful screen. As devices get smaller and more advanced, smart solutions like this will help make our gadgets tougher and better looking than ever before.
Click here https://ppubs.uspto.gov/pubwebapp/ and search 20250221245.




