Invented by KIM; Kyung Hwan, KWAK; Hyeong Geol, PARK; Yong Cheol, LEE; Seong Hun, BH EVS Co., Ltd.
Wireless charging is now everywhere, from phones to earbuds and even cars. But making wireless charging safe and efficient is not easy. A new patent application brings a smart way to track and manage power loss in these systems, especially losses caused by friendly metals inside devices. This article will break down the market background, explain the science and earlier solutions, and then dive deep into the new invention. Our goal is to help you understand why this patent matters and how it will shape the future of wireless charging.

Background and Market Context
Wireless charging has changed the way we power our gadgets. Instead of plugging in, you simply place your phone or device on a pad, and it charges through the air. This is possible using magnetic induction, where a coil in the charger (called the transmitter) creates a magnetic field, and a coil in the device (called the receiver) picks it up and turns it back into electricity.
The Wireless Power Consortium (WPC) sets the main rules for how this works. You may have heard of the “Qi” standard, which is followed by most wireless chargers and devices today. Over time, Qi has evolved. It started with the Baseline Power Profile (BPP) for basic charging, then moved to the Extended Power Profile (EPP) for faster charging. Now, there’s the Magnetic Power Profile (MPP), inspired by Apple’s MagSafe, which uses magnets to line up the charger and device perfectly.
Wireless charging is great for convenience, but it comes with two big challenges. First, there’s the risk of something getting between the charger and the device. This could be a coin, a key, or any small metal object. If this happens, the object can get very hot or even catch fire. Second, even if there’s nothing in the way, the device itself often has metal parts (called “friendly metal”) that can soak up some of the power, making charging less efficient.
To deal with the first problem, the Qi standard requires Foreign Object Detection (FOD). This means the charger has to check if anything is in the way and stop charging if it finds something. But to do this well, the charger also has to know exactly how much power is being lost to the device’s own metal parts. If this is not measured right, the charger might think a safe device is actually unsafe, or miss a real problem. This is where Power Loss Accounting (PLA) comes in—it’s the process of figuring out exactly where the power is going.
As wireless charging gets more popular, users expect it to be fast, safe, and work with many kinds of devices. Companies want to make chargers that are universal and smart, but also affordable. The market is growing quickly, with wireless charging now found in homes, cars, airports, and even furniture. However, technical problems like poor power loss estimation can lead to slow charging, unhappy customers, or even safety recalls. That’s why any improvement in power loss accounting is a big deal for the industry.
Scientific Rationale and Prior Art
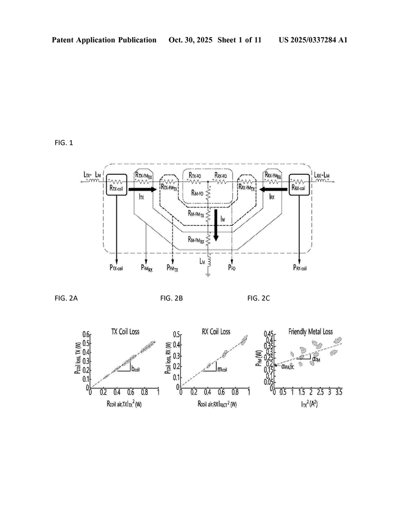
The science behind wireless charging relies on magnetic fields. When you bring the transmitter and receiver coils close together, energy jumps from one to the other. But not all the energy makes it to the device. Some is lost as heat in the coils themselves, in the circuits, or in any metal parts nearby. The biggest sources of loss are:
- Coil losses: Heat made in the transmitter and receiver coils.
- Circuit losses: Heat made in the electronics.
- Friendly metal losses: Heat made in metal parts inside the device, like a steel plate for magnets.

To keep charging safe, the system has to watch for extra losses that might mean there is a foreign object (like a coin). But first, it must subtract out the normal losses caused by the device itself. If it guesses wrong, the charger might shut off for no reason, or worse, miss a real threat.
Right now, the Qi standard and most products use what’s called a linear model for estimating friendly metal loss. This model assumes that the power loss from friendly metal is linked only to the square of the transmitter’s coil current (ITx2). In simple words, as the current in the coil goes up, the losses go up even more. The formula looks like this:
Power Loss (FM) = coefficient × (coil current)2 + another constant
The problem is, real wireless charging setups are more complicated. The amount of power lost in friendly metal also depends on how far apart the coils are (the “z-distance”) and on the voltage inside the receiver (“rectified voltage” or VRECT). If you move the device or change its settings, the losses jump in ways the simple model can’t catch.
For example, if the device is further from the charger, or if the receiver voltage changes, the magnetic field spreads out and hits more of the friendly metal. This means more energy is lost than the old model predicts. As a result, current systems often make big mistakes—sometimes up to 30-40% off—leading to poor charging or false alarms.
The Wireless Power Consortium and companies have tried to fix this by making special “reference” chargers and receivers to measure losses, or adding more guesswork into the models. They use packets of data sent back and forth between the charger and device to help estimate conditions. But none of these solutions fully solve the problem. They either add lots of cost and complexity, or still leave big errors in real use. That’s why the need for a smarter, more accurate way to estimate power loss is so important.
Invention Description and Key Innovations
The new patent application introduces a clever solution: Instead of just looking at the coil current, it uses extra information—the distance between the charger and device, and the rectified voltage inside the device—to get a much better estimate of friendly metal losses. This makes the system smarter, safer, and more reliable in real life.

Let’s look at how this works step by step.
What Information Is Used?
The system gathers two key pieces of data:
- Distance (z-distance): How far apart are the charger and device coils? If they’re close together, less energy is lost. If they’re far apart, more energy is lost in the friendly metal. This distance is often figured out using a “coupling coefficient,” which is a number that shows how well the coils are lined up and how strongly they’re linked.
- Rectified Voltage (VRECT): This is the voltage inside the device, after the wireless power is converted back to direct current. Changes in this voltage can signal changes in how the energy is flowing, or even sudden jumps in current inside the device. Both affect how much power is lost in the metal parts.
The transmitter and receiver each have special parts (called “acquisition units” and “estimation management units”) that gather this information and use it to make smart guesses about losses.
How Does It Work?
First, the charger and device start talking to each other. They send packets of data that include their measured values—like the coupling coefficient, the rectified voltage, and other numbers that help estimate losses. These packets also let each side know what model or formula to use for the current situation.
The key trick is that the invention stores different sets of coefficients and scaling factors for different distances and voltages. When the system sees that the coils are close, it uses one set of numbers. If the coils are further apart, or if the voltage changes, it switches to a different set. This way, it always uses the best-fit model for the real-world conditions, not just a “one size fits all” guess.
For example, if the system sees that the coupling coefficient is high (meaning coils are close), it picks the model for close distances. If the coefficient drops below a certain value, it picks the model for longer distances. The same logic applies for rectified voltage—if VRECT is 12V, one model is used; if it’s 14V, another model is chosen. This switching happens automatically and instantly, making the power loss estimate much more accurate.

In practice, this is done by sending data packets that include which coefficients to use, what the conditions are, and even which set of models to apply. Both the charger and the device know how to store, send, and pick these numbers based on real-time data. The method works not just for “reference” chargers and devices defined by the Qi standard, but also for any “general” product, making it very flexible.
What Are the Benefits?
By using this smarter model, the system can cut errors in estimating friendly metal losses by 30-40% or more. This means:
- Foreign object detection (FOD) gets much better. The charger can tell if a strange object is present, or if it’s just normal loss from the device’s own metal.
- Charging efficiency goes up. Less power is wasted, so devices charge faster and produce less heat.
- Safety is improved. The risk of overheating or fire from missed foreign objects is much lower.
- Compatibility is broader. The system works for many types of devices and chargers, no matter their design or the thickness of their metal parts.
Tests and simulations show that the new method can reduce root mean squared error (RMSE) by over 30% compared to the old model, across many real-world settings. The system is also easy to build into current wireless charging chips and firmware, since it just needs some extra math and data packets—no new hardware is required.
How Is It Implemented?
Let’s walk through a simple example of how this improved method is used in a real wireless charging setup:
- The charger and device start charging. They measure their own conditions—distance and voltage.
- The device sends its data (like rectified voltage and coefficients) to the charger using a special data packet.
- The charger uses this information to figure out the coupling coefficient, which tells how well the coils are lined up.
- Based on the coefficient and voltage, the charger picks which set of scaling factors and coefficients to use. These numbers are stored in memory for all the common conditions (close/far, low/high voltage, etc).
- The charger uses the chosen formula to estimate friendly metal loss. This lets it separate out normal losses from any extra loss that could mean a foreign object is present.
- If the system sees way more loss than expected, it can shut off charging to stay safe. If not, charging continues efficiently.
This approach is flexible. The models and coefficients can be updated as new devices or chargers are made, or as new types of friendly metal are used. The method can be applied to all types of wireless charging, including the newer MPP (Magnetic Power Profile) systems used in products like MagSafe.
Why Is This a Big Step Forward?
Previous methods only worked well for very specific setups, or needed lots of testing with “reference” devices to calibrate. They ignored the effects of distance and voltage changes, leading to big errors in real use. The new invention is smarter—it adapts to real-world changes, uses more data, and keeps everything safe and efficient. It does all this without making products more expensive or complicated for users.
From a business standpoint, this method helps manufacturers build chargers and devices that are safer, work better, and are more likely to pass tough safety standards. For users, it means wireless charging that just works—fast, safe, and with less risk of annoying “charging stopped” errors or slowdowns.
Conclusion
This new patent application offers a smarter way to handle one of the hardest problems in wireless charging: figuring out how much power is lost inside the device itself. By using both the distance between the charger and device and the voltage inside the device, it creates a far more accurate model of friendly metal losses. This leads to much better safety, efficiency, and compatibility for all kinds of wireless charging products.
As wireless charging becomes even more common, from phones to cars, solutions like this will be key to building trust and keeping users happy. The best part is, this new method can be used with existing hardware and standards, making it easy for companies to adopt. In a fast-moving tech world, small improvements like these can make a big difference for everyone—manufacturers, users, and the whole wireless charging ecosystem.
Click here https://ppubs.uspto.gov/pubwebapp/ and search 20250337284.
