Invented by Noble; Diego Vrague, Santana; Ítalo Gomes, Paredes Quiñones; Miguel
Quantum computing is moving fast, but the problems it tries to solve can be huge and very hard. Sometimes, these problems are just too big for even the best quantum computers we have today. A new invention wants to help fix this. It does this by breaking big problems into smaller pieces and by picking the smartest tool to solve each piece. If you want to know how this works, why it matters, and what makes it special, keep reading. We will start with the basics, look at the science behind it, and then break down the invention in simple words.
Background and Market Context
Quantum computers have been in the news a lot, and for good reason. They promise to solve problems that even a supercomputer would take years to crack. The kinds of problems quantum computers target are often about finding the best answer out of many options, like scheduling, routing, or planning. These are called optimization problems, and many of them can be written as a type called QUBO – short for Quadratic Unconstrained Binary Optimization.
But even with all the excitement, quantum hardware is still very new. Real quantum computers (physical quantum annealers) are hard to build, expensive, and have a limited number of quantum bits or “qubits.” If a problem needs more qubits than a machine has, you cannot solve the whole thing at once. Even simulated quantum computers (which run on regular computers but act like quantum ones) or simulated annealers (which use regular math tricks) can get bogged down with big problems.
Because of this, many companies and researchers use a trick: they chop the big problem into smaller parts called subproblems. This is like cutting a giant puzzle into smaller puzzles, each of which is easier to solve. But here’s the catch — not every small puzzle is the same. Some are better solved with a real quantum computer, others with a simulated one, and sometimes it’s best to use a classic computer with clever algorithms.
In the real world, time and money matter. Running a problem on a physical quantum computer might get a good answer, but it can be slow and expensive. Running the same problem on a regular computer is often much cheaper, but it might not work as well for every piece. So, figuring out how to break up the problem and what tool to use for each piece is a big deal. If you can do this better, you can save lots of time and money, and you can solve bigger and harder problems than before.
This is where the new invention steps in. It does two main things: it breaks a big QUBO into smaller subQUBOs (cutting), and it uses a smart helper (a classifier) to pick the best way to solve each piece. Even better, it can switch methods as it goes along, depending on how each piece changes after each step. This means it is always using the best tool for the job, every time, for every piece.
Right now, companies working in shipping, finance, drug discovery, and machine learning all need to solve big optimization problems. They want to use quantum computers, but they are held back by size limits and high costs. With this new system, they can get more out of both quantum and classical (regular) computers. The market for quantum computing is set to explode in the next decade, and tools like this will help bridge the gap until quantum hardware catches up with our dreams.
Scientific Rationale and Prior Art
Let’s get into the science a bit, but we will keep it simple. QUBO problems are math problems where we try to pick a set of zeros and ones (binary numbers) that minimize a special formula. This formula is built from a square matrix (a table of numbers, called the QUBO matrix). Each possible answer gives a “score,” and we want the one with the lowest score. Think of this like trying to find the flattest spot in a very bumpy field, but you can only step on certain squares.
Solving QUBO problems is hard. For small ones, you can just try all possible answers. For big ones, that’s impossible — there are just too many options. That’s where special computers come in. Quantum annealers (like the ones made by D-Wave) use quantum physics to find low scores quickly. Simulated annealers copy the same idea but use regular computers. Simulated quantum annealers try to act like quantum ones but run in software.
For years, researchers have tried to get around the size limits of quantum computers. One old idea is called “problem decomposition” or “cutting.” You split the big QUBO into smaller parts (subQUBOs). Each smaller part is easier to fit onto a quantum computer or to solve with a regular computer. After solving all the parts, you patch the answers together to get a solution to the big problem.
But there’s a hitch. Not all subproblems are the same. Some are “easy” for a quantum computer, some are “easy” for a regular computer, and some are “hard” no matter what. Picking which tool to use for each piece is not obvious. Most old methods just use the same tool for everything or follow a fixed plan. That means they waste time or use expensive hardware when a cheaper, faster method would work just as well.
Another problem: as you solve each subQUBO, its “shape” can change. The numbers in its QUBO matrix can shift after each step, making it easier or harder for different computers to handle. If you keep using the same tool, you might miss a chance to speed up or save money.
Machine learning has been used to help pick the right solver for some problems. A “classifier” is a program trained to look at data and say what class or bucket it fits in. In this case, the classifier looks at a subQUBO and says, “this one is best for a quantum annealer,” or “use a simulated annealer for this one.” But before, most systems picked the solver only once, at the start, and stuck with it. They didn’t check if things had changed after each step.
In short, the old way was to break up the problem and pick a solver, but then just go with it. This meant wasted resources and slower results. There was a need for a system that could break up the problem, check the state of each piece after every step, and always pick the best solver for the job — all in one smooth process.
Invention Description and Key Innovations
This new invention brings together problem cutting, machine learning, and flexible solver choice into one smart system. Here is how it works in simple words.
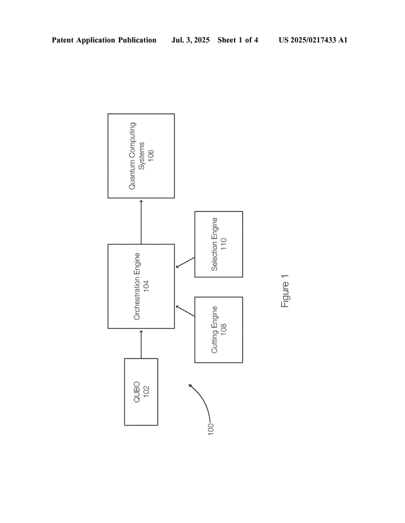
First, you start with a big QUBO problem. The system cuts this problem into smaller subQUBOs. Each small piece is easier to handle. But instead of just picking a solver and running with it, the system uses a trained classifier to look at each subQUBO. The classifier is like a smart advisor. It looks at the numbers in the subQUBO and says, “For this one, you should use a certain kind of annealer.” An annealer can be a classic simulated annealer, a simulated quantum annealer, or a real quantum computer.
The first time around, the classifier picks the best annealer for each subQUBO. The system runs each piece in its chosen solver. After this step, each subQUBO is updated — its numbers change a bit. Now, the system checks if the shape of the updated subQUBO means it can be solved faster or cheaper on a regular simulated annealer, which is usually the least costly option.
To do this, the system compares the biggest number in a special vector (a row of numbers representing the subQUBO’s state) with the smallest number on the diagonal of the QUBO matrix (these diagonal numbers tell you how the subQUBO’s own variables affect the score). If the difference is positive, the subQUBO is in a good shape to use a simulated annealer. If not, the updated subQUBO is sent to the classifier again, which can pick a new solver for the next round.
This process keeps going: after each round, the system checks each subQUBO and decides if it should switch the solver. This can happen many times. The system keeps iterating until it finds a “minimum” (the best answer it can get), or until it has done a set number of rounds. This gives a lot of control — you can stop early if you want, or keep going to get a better answer.
This invention is special for a few reasons:
1. Dynamic Solver Choice: Instead of picking a solver once, it checks every time if it should switch. This saves time and resources.
2. Smart Use of Machine Learning: The classifier learns from past data. It knows which kinds of subQUBOs are best for which solvers. Over time, it gets even better at making these choices.
3. Better Hardware Use: Because it picks the right solver for each subQUBO at every step, it can use classic computers where possible and quantum computers only when needed. This saves money and lets you solve bigger problems.
4. Flexible and Scalable: You can use this system on all kinds of hardware — on-premises, in the cloud, or a mix. It fits right into existing computing environments, from laptops to big data centers.
5. Works for More Than Just QUBO: While built for QUBO problems, the same ideas can work for other optimization models, like the Ising model, which is popular in physics.
6. Automatic Updates: As subQUBOs change after each iteration, the system always checks if the best solver has changed, so it never wastes a step.
7. Cost and Speed Savings: By using the cheapest solver possible at each step, and only using quantum hardware when really needed, the system can cut costs and speed up results.
In practice, here’s what using this invention might look like:
You have a large scheduling problem. You feed it to the system. It splits the problem into pieces. For each piece, the classifier picks the best solver. Maybe half the pieces go to a simulated annealer, the others to a simulated quantum annealer. After the first round, the system checks the updated pieces. For a few, it switches to a real quantum annealer because their shapes changed and they’ll get better results there. For others, it sticks with the cheaper simulated method. This keeps going until every subQUBO is solved as well as possible. At the end, the system puts the answers back together to get the best overall solution.
This system can be set to run for a fixed number of rounds or until it can’t make the answer any better. It can be set up to always pick the cheapest solver, the fastest, or balance the two. It can run on your own computers or in the cloud. The classifier can be retrained as new data comes in, so it gets smarter over time.
For businesses, this means more value from their quantum investment. For researchers, it means they can try bigger problems with the hardware they have. For the whole field, it means a step closer to using quantum computing in everyday work, right now.
Conclusion
Quantum computing is still growing, and we all want to use it for bigger and harder problems. But hardware is limited and expensive. This new invention lets us break down giant problems, pick the best tool for each part, and keep checking after every step to always use the smartest option. It uses machine learning to get better over time, works with any kind of computer, and saves both money and time. With tools like this, we can get more out of quantum computers today, while we wait for tomorrow’s machines to catch up. If you want to solve big problems faster, cheaper, and smarter, this new system is a game-changer.
Click here https://ppubs.uspto.gov/pubwebapp/ and search 20250217433.




