Invented by Light; Steven Patrick
Today’s hiring world is changing fast. Finding the best match for a job is no longer just about reading resumes or checking off skills. It’s about seeing the whole person—including how they come across on video and how they connect with others. With more job interviews now done online, companies need new ways to understand candidates beyond their words. Let’s explore how a new patent-pending computer-implemented system could change digital hiring forever by analyzing video, audio, and behavior, giving employers and job seekers a better, fairer shot.
Background and Market Context
Recruiting has always been about finding the right person for the job. In the past, this meant reading stacks of resumes and running interviews in person. Then, technology stepped in. Tools called Applicant Tracking Systems (ATS) helped companies sort and filter resumes, making it easier to handle big numbers of applicants. These systems look for keywords and certain formats, but sometimes miss great people because of how their resume is written.
As the world became more digital, video interviews became common. Companies could meet candidates from anywhere, saving time and money. But there’s a catch. Video interviews can feel awkward, and it’s hard for both sides to get a true sense of each other. Recruiters can see and hear candidates, but it’s tough to pick up on subtle things like a nervous smile, a confident gesture, or the tone of someone’s voice—especially when everyone is staring at a screen.
To fill that gap, some companies use personality quizzes and online tests. These try to measure who the candidate is and how they might fit into a team. But even these assessments are not perfect. People can try to answer how they think a company wants, not how they really feel, making the results less useful.
All these methods—ATS, video interviews, quizzes—only show part of the picture. They don’t always catch how a person acts, how they react, or how they really communicate. And in a remote world, where face-to-face meetings are rare, companies miss out on those little signals that often make the difference between a good hire and a great one. This leads to missed opportunities, mismatched hires, and sometimes, quick turnover when new employees don’t fit in.
What’s needed is a system that goes past just words and resumes. A way to truly “see” and “hear” the candidate, picking up on every detail—how they talk, move, and engage. That’s where this new invention fits in, using the latest in computer science and machine learning to read between the lines and help both sides make smarter choices.
Scientific Rationale and Prior Art
The idea behind this invention is to look at people the way humans naturally do—by seeing, hearing, and feeling their presence, but to do it with technology. Science tells us that much of our communication is nonverbal. This means things like facial expressions, hand gestures, posture, eye contact, and the sound of our voice. People use these cues all the time, often without thinking. They show if someone is confident, nervous, excited, or unsure. In live, in-person interviews, recruiters pick up on these cues without even knowing it. But during video calls, these signals can be easy to miss or misread.
Before this invention, some tools tried to solve this problem. For example, there are programs that scan resumes for keywords. Other tools give personality quizzes or skills tests online. Some platforms even try to measure simple things from video, like how much a candidate smiles or how often they blink. But these old approaches have limits:
First, keyword scanners are rigid. They often miss the big picture, and can drop candidates who simply format their resume differently. Second, personality tests can be “gamed,” with candidates picking answers they think will win them the job. Third, basic video analysis tools might count smiles or track eye contact, but they don’t connect these details with the rest of the candidate’s story—like their answers, background, or the meaning behind their gestures.
What’s missing is a solution that can bring all these pieces together—audio, video, and test results—into one smart system. This is where modern computer science, especially machine learning and computer vision, comes in. These are powerful tools that can be trained to see patterns across many types of data at once. For example, a deep learning model can look at a video, hear the audio, and spot connections between how someone talks and how they move their hands or face. It can learn from thousands of interviews, picking up on what works and what doesn’t.
Other fields, like medicine and security, already use similar technology. Doctors use machine vision to spot signs of illness in scans. Security cameras can flag suspicious movements in a crowd. But in hiring, this kind of detailed, multimodal analysis—combining sight, sound, and context—has not been widely used, especially in a way that is fair, private, and useful for both companies and candidates.
This patent application stands out because it doesn’t just look at one thing. It links together everything about the candidate—their resume, quiz results, and especially their live, real-time behavior on video. It uses advanced algorithms to keep each detail in context, making sure nothing is lost or misread. The system even gets smarter over time, learning from feedback and outcomes to help it do a better job for the next person.
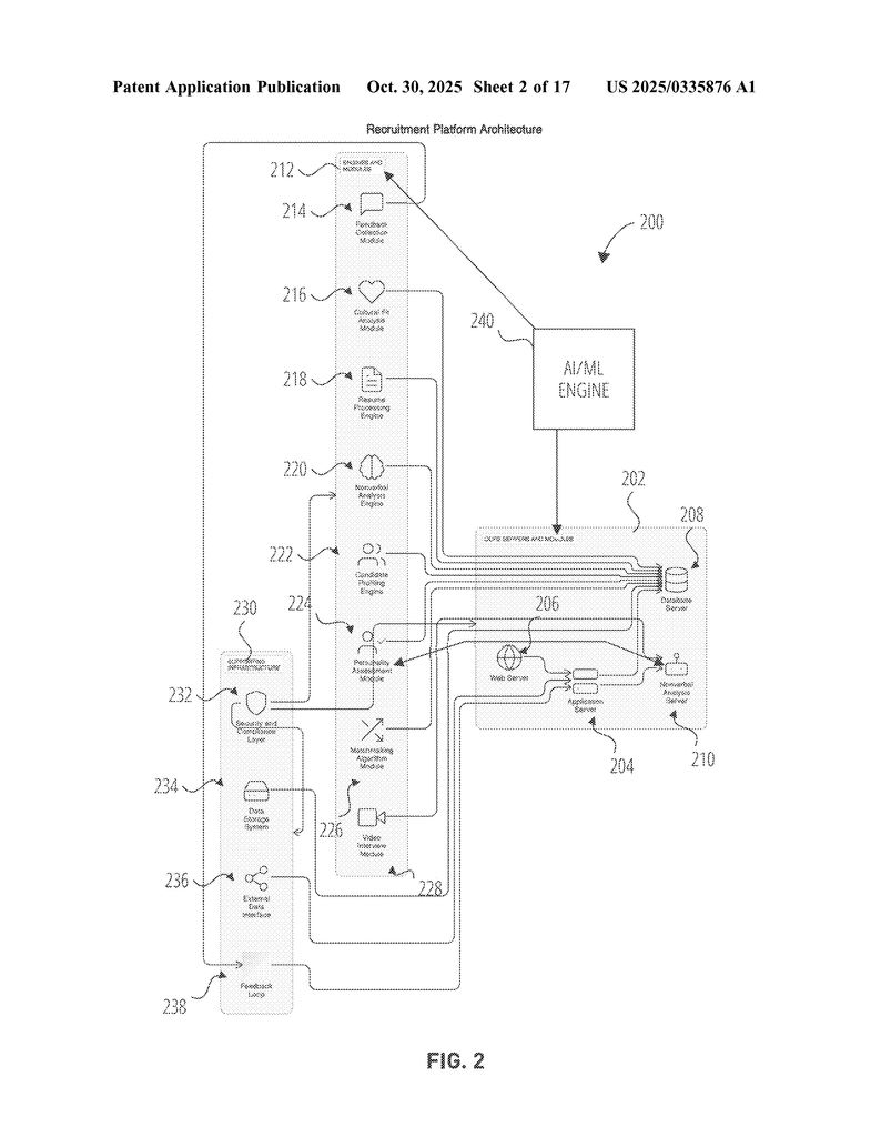
Invention Description and Key Innovations
The heart of this invention is a computer system that can watch, listen, and understand people in a digital interview. It does this by collecting two types of data: what people say (audio) and how they look and move (video). Here’s how it works in simple steps:
1. Collecting and Syncing Data:
The system starts by gathering video and audio of the candidate. This can be a live interview or a recorded session. The key is that both the video and audio are captured together, so the system can see and hear every little detail, down to a smile, a pause, or a shift in tone.
2. Building a Smart Model:
Before it can judge candidates, the computer needs to learn what to look for. This is done by “training” it with lots of examples—videos and audios from many different people, showing all sorts of communication styles. The model uses special computer vision tools to spot things like facial expressions and gestures in the video, and audio processing tricks to pick up on how someone speaks. It learns which patterns match up with good interview performance, confidence, or cultural fit.
3. Keeping Everything Connected:
One of the stand-out features is that the system keeps the timing of every gesture, word, and facial movement lined up. For example, if someone smiles just as they finish a strong answer, the model knows to connect those moments. This way, it doesn’t just count smiles or words—it understands how behaviors work together.
4. Deep Analysis and Scoring:
When a new candidate does an interview, the system breaks the video and sound into smaller parts. It checks each segment for important features—like how fast the person talks, if they pause, how their face changes, or how their hands move. It then gives each behavior a confidence score, showing how sure it is that it found what it was looking for.
5. Bringing in Personality and Resume Data:
This invention doesn’t stop at audio and video. It also takes in the candidate’s resume and any personality quiz results. By combining all this information, the system can ask smarter, more personal questions in the interview. It can even help match candidates with jobs that fit their work style and company culture.
6. Giving Feedback and Visual Results:
After analyzing everything, the system creates an easy-to-understand report. It can show which parts of the interview stood out, what nonverbal cues were strong, and where there’s room for improvement. The feedback is shown in a clear dashboard, with charts and sometimes even video clips, so candidates and recruiters can see exactly what happened.
7. Learning and Improving:
The model isn’t static. It gets better over time. Every time a candidate is hired and succeeds (or doesn’t), the system can learn from that outcome. This feedback loop helps the model adjust, so future evaluations are even more accurate.
8. Extra Features for Real-World Use:
– The system can spot when the video isn’t clear or when gestures are blocked, and fix or ignore these errors.
– It can generate custom interview questions based on what it sees and hears from the candidate.
– It can run mock interviews, analyze the results, and coach candidates on how to improve.
– To keep things fair and private, the system can blur or anonymize video, and only show recruiters the analysis, not the raw footage.
Technical Innovations:
This invention brings several new ideas to the table:
– It connects audio and video in a way that keeps every detail in context, using advanced timing and syncing.
– It uses both automatic and human-reviewed labeling to make sure the computer learns from real, meaningful data.
– Its model architecture is multimodal. This means it processes sight and sound in separate channels first, then combines them using cross-modal techniques. This is much more powerful than just adding up simple counts.
– It can handle different speaking and body styles, correcting for things like accidental gestures or background noise.
– It’s built to work with the tools companies already use, like ATS and HR systems.
– Most importantly, it keeps improving with every interview and every piece of feedback.
For candidates, this system is like having a coach and a mirror at the same time. They can see where they shine and what to work on. For companies, it means fewer missed great hires, less bias, and a smarter way to match people to the right roles.
Conclusion
Digital recruitment is no longer just about scanning for the right words on a resume or counting how many times someone smiles on video. It’s about truly understanding people—how they express themselves, how they fit into a team, and how they’ll grow at work. This patent-pending system brings together the best of computer vision, audio analysis, and machine learning to create a full, fair, and evolving picture of each candidate. By syncing every gesture, word, and tone, it gives both companies and job seekers the insights they need. It’s smart, it learns, and it cares about privacy and fairness. As hiring becomes more digital, tools like this will set the new standard for what it means to really “see” and “hear” the person behind the application.
With this technology, the future of hiring is brighter, smarter, and more human—even in a digital world.
Click here https://ppubs.uspto.gov/pubwebapp/ and search 20250335876.




