Invented by Cella; Charles Howard, Cardno; Andrew
The world is rapidly changing, especially when it comes to how we make, store, and use energy. A new patent application describes an advanced artificial intelligence (AI) platform that brings together many new technologies to help manage energy in smarter ways. In this article, we’ll break down this invention into simple, clear ideas so you can understand why it matters and how it works.
Background and Market Context
Energy is at the heart of everything we do. We use it to light our homes, run our factories, power our cars, and even make the internet work. For a long time, most of our energy came from large power plants, traveling through big networks called grids to reach us. But things are changing fast.
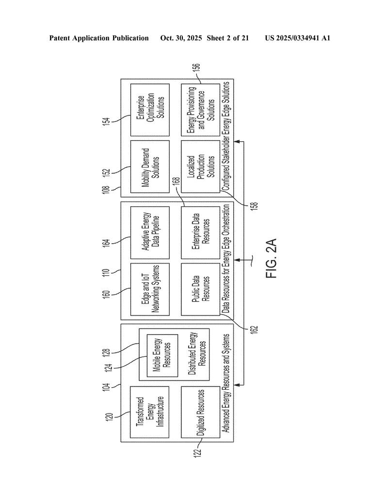
Now, new ways of making and storing energy are popping up everywhere. Solar panels on rooftops, wind turbines in fields, electric cars that can store and share power, and smart gadgets that help us use less energy – all these things are spreading. This means energy is becoming more local and less controlled by just a few big companies.
At the same time, we have many new tools to help us manage all this energy. Tiny computers (edge devices) and sensors make our machines smart. The Internet of Things (IoT) lets devices “talk” to each other. Artificial intelligence can spot patterns and learn how to save energy or use it better. Even digital ledgers like blockchain can help keep track of who makes, stores, or uses energy.
With all these changes, the old ways of managing energy don’t always work anymore. If we want to use energy smarter, save money, cut pollution, and keep the lights on for everyone, we need new systems. This is where the AI-based platform described in the patent comes in.
The platform is designed for a world where energy is made and used in many places, not just a few. It can help companies, cities, and even regular people make better choices about energy—like when to use solar power, when to store it in a battery, or when to sell extra power back to the grid. It can also help fix problems faster when something goes wrong.
The market for this kind of technology is huge. As more people and companies invest in renewable energy, electric vehicles, and smart devices, there is a big need for systems that can tie everything together. By making energy management smarter and more flexible, this invention could help save money, support cleaner energy, and keep our modern world running smoothly.
Scientific Rationale and Prior Art
Before this invention, energy systems were usually managed in two ways: either by big, central computers that controlled the whole grid, or by small, local controls that didn’t “talk” much to each other. Traditional systems were okay when energy was only made in big power plants and used in predictable ways. But now, with so many new ways to make and use energy, those old systems struggle.
Let’s look at some of the earlier ideas and why they’re not enough today:
First, there were simple “smart meters” that could measure how much energy you used at different times. They sent this data back to the energy company, which could charge you more or less depending on when you used energy. That helped a little, but it didn’t give you much control, and it didn’t help you decide when to use your own solar panels or batteries.
Next, there were “demand response” programs. These could ask people or businesses to use less energy during busy times, like hot afternoons. Sometimes, they would send signals to big air conditioners or factories to turn down for a while. Again, this helped, but only in a small way, and it was usually controlled by the utility, not by the people or companies who owned the devices.
Then, as more people got solar panels and batteries, we saw “distributed energy resources” (DERs). These are things like rooftop solar, home batteries, electric cars, and small wind turbines. Some early systems let you control a few of these things, but they didn’t work well together, and they weren’t very smart. If you wanted to know how much solar to use, when to store energy, or when to sell it back, you had to figure it out yourself.
Over time, more advanced computer systems came along to help manage energy in buildings, data centers, and factories. Some of these used machine learning to spot patterns, but they were often limited to one place or one kind of device. They couldn’t easily connect with other systems, or make decisions based on lots of different kinds of data like weather, prices, and equipment health.
Other inventions used blockchain to record energy trades or track renewable energy credits, but these systems were often slow or complex to use. They also didn’t combine the power of AI with blockchain, sensors, and flexible controls.
What was missing was a platform that could bring together all these new technologies—AI, IoT, edge devices, digital twins, and smart contracts—in a way that was flexible, smart, and easy to use. It needed to handle all kinds of data, from energy meters to weather forecasts, and make decisions that could help both big companies and regular people.
The scientific reason for this invention is simple: as our energy world gets more complex, we need systems that can think, learn, and make decisions faster and better than any one person or old-fashioned computer could do. AI can spot patterns, predict problems, and help us make choices about when and how to use energy. Edge devices and IoT let us collect data in real time from all over. Digital twins let us model what’s happening in the real world, so we can plan and fix things before they go wrong. Smart contracts make it easy to buy, sell, or share energy automatically.
The patent takes all these pieces and brings them together in a new way. It’s not just one more smart meter, or one more AI model. It’s a full platform that can connect to many devices, learn from lots of data, and help manage energy in the smartest way possible.
Invention Description and Key Innovations
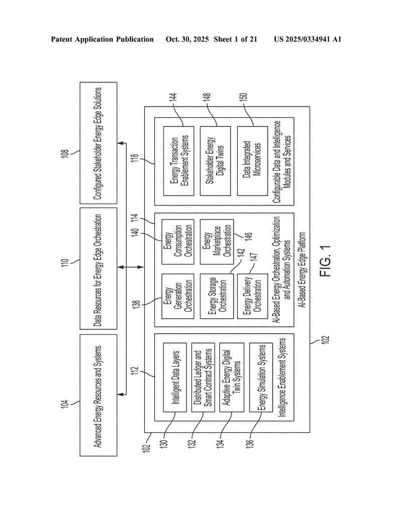
Now let’s talk about what this invention really does, and why it’s different. The patent describes an AI-based platform that acts like an “energy brain” for modern power systems. Here’s how it works, step by step, in simple words.
At its core, the platform uses a network of “edge devices.” These are small computers placed near where energy is made, stored, or used—like in factories, smart buildings, solar panels, or batteries. These edge devices are loaded with AI systems that can process data right where it happens. That means they don’t always have to send data far away to a cloud or central computer. This makes things faster and more reliable.
These devices collect all kinds of information: how much energy is being made by solar panels, how full the batteries are, how much energy is being used by machines, what the weather is like, what the energy prices are, and even how people are using buildings. The AI systems look at all this data and figure out the best mix of energy sources and uses for each situation.
For example, if a factory has solar panels, a big battery, and is connected to the grid, the platform can decide:
- When to use solar energy
- When to store extra energy in the battery
- When to use energy from the grid (maybe when it’s cheaper or solar is not available)
- When to sell extra energy back to the grid or to neighbors
It can make these choices based on many things, like the cost of energy, how much energy is needed, the weather forecast, or even company rules about using clean energy. The output is a simple data set that says, “Use this much solar, this much battery, and this much grid at this time.”
The platform can go even further. It can:
- Connect to smart contracts and blockchains to handle payments or track clean energy credits automatically
- Use digital twins—virtual models of real systems—to test what might happen before making changes in the real world
- Work with all kinds of devices, from electric cars to home appliances to big industrial machines
- Handle both old-fashioned energy systems (like big power plants) and new, flexible ones (like home batteries or portable generators)
- Support many different users, from big companies to regular people, and help them meet their own energy goals
What’s really new here is how all these pieces come together. Instead of being stuck with one way of doing things, the platform is flexible. It can work in a city, a factory, a data center, or even out in the country where there is no grid. It can take in new types of energy (like wind or solar), handle new devices (like electric vehicles), and make decisions in real time.
The AI in the platform isn’t just one kind—it can use many types of machine learning, from simple rules to deep neural networks. It can learn over time, get better as it collects more data, and even handle new problems it’s never seen before. For example, it can learn to predict when a battery will fail, or when energy prices will spike, or when a storm will cut power.
The platform can also work with “digital twins,” which are like video games for real-world systems. It can create a digital copy of a power plant, a building, or a whole city, and test out changes before making them in real life. This helps avoid mistakes, save money, and keep things running smoothly.
Another big piece is the use of smart contracts and blockchain. These allow the platform to create, track, and enforce energy deals automatically. For example, if you sell extra solar power to your neighbor, the platform can make sure you get paid and that the energy is really delivered.
The platform can even connect to quantum computing services for really hard problems, like figuring out the best way to route energy across a huge network, or splitting profits fairly in a big company.
And it’s not just about technology. The platform is designed to help people and companies reach their own goals, whether that’s saving money, cutting pollution, or making sure critical systems (like hospitals) always have power. It can be set up to follow company rules, government laws, or market prices, and it can adapt as things change.
In summary, the key innovations are:
- An AI platform that connects many kinds of energy devices and systems, both old and new
- Smart edge devices that process data locally for fast, reliable control
- Use of digital twins for planning and testing
- Built-in smart contract and blockchain support for easy, automatic energy deals
- Flexible, learning AI that can handle new problems and get smarter over time
- Support for all types of energy—solar, wind, batteries, grid power, and more
- Tools for both big companies and regular users to manage, save, and share energy
This invention isn’t just a step forward—it’s a platform for building the energy systems of the future.
Conclusion
The world of energy is changing from big, simple systems to many small, smart, and flexible ones. The patent we explored describes an AI-powered platform that brings together cutting-edge technology—AI, edge computing, IoT, digital twins, and smart contracts—to manage energy in ways that old systems can’t. It can help save money, support clean energy, and keep everything running smoothly, no matter how complex things get. As we move toward a future with more renewable energy, electric cars, and smart devices, platforms like this will be at the heart of how we live, work, and thrive.
Click here https://ppubs.uspto.gov/pubwebapp/ and search 20250334941.




