Invented by Davis; Justin Michael, Guerrieri; Fabrizio, Linde; Oskar
If you want to understand how sensors in smart devices and wearables can work faster and smarter, this article is for you. Let’s break down a new patent that changes the way sensors gather and process information, making devices like VR headsets, AR glasses, and even smart wearables much better. We’ll look at the market needs, the science behind older systems, and finally, how this new invention makes a real difference.

Background and Market Context
Today, we use many devices with sensors. Think about your phone’s camera, a smartwatch that tracks your heart rate, or virtual reality headsets that know exactly where you are looking. Sensors inside these gadgets constantly gather data. As people want gadgets to be faster and more accurate, companies try to make their sensors collect information more often—raising the “frequency” of their work. For example, if a sensor works at 60 times per second (60 Hz), it gets updated every 16.6 milliseconds. But if we want even smoother and more real experiences, we need these sensors to work at 90 or 120 times per second (90 Hz or 120 Hz), which means there’s less time for each sensor action.
This is a big deal in areas like virtual reality (VR) and augmented reality (AR). In VR, you want the images to move as fast as you do, so you don’t feel dizzy or see lag. In AR, your glasses need to know exactly where your hand or head is, almost instantly. Even small delays or roughness can ruin the experience. The same needs are popping up in smartwatches, fitness bands, gaming controllers, and even in smart cars.
But here’s the problem: as we ask sensors to work faster, each sensor has less time in each cycle to do its job. That means it’s harder to take in good, clear pictures or accurate sensor readings. Sensors might miss important changes or details, leading to poor user experience. This is even more tricky when a single sensor needs to do more than one thing, like taking a photo and tracking movement at the same time. Companies have been struggling to fit all these jobs into the tiny slices of time available at high speeds.

That’s why technology like the one in this patent matters. It offers a new way for sensors to handle more than one task in each short timeframe, without dropping quality or missing data. In the market, this means devices can become faster, smoother, and more reliable—opening the door for better VR games, safer wearables, smarter health trackers, and much more.
Scientific Rationale and Prior Art
Let’s look at how sensors have worked until now and why the old ways do not keep up with today’s needs.
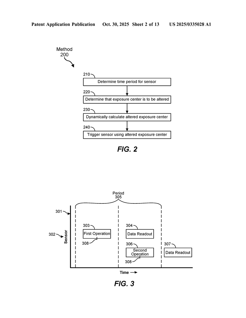
Most sensors operate in cycles, doing their job and then sending the data to memory. Imagine a camera in a headset: it opens (exposes), captures the image, then closes and sends the image data to be saved. This process is tied to the device’s speed or “frequency.” At 60 Hz, each cycle is about 16.6 milliseconds; at 120 Hz, only 8.3 milliseconds. As you can see, there is less time for each step when you want to go faster.
Traditionally, the middle point of each sensor’s job—the “exposure center”—was fixed. Think of it like always taking a photo exactly halfway through the time slot. The timing of data reading was also fixed. These methods worked fine at lower speeds, but as cycles got shorter, it became hard to fit in all the sensor’s tasks before the next cycle started.
If a sensor needed to do more than one job in each cycle—like taking both a picture and tracking movement—there wasn’t enough time for both. Manufacturers often had to choose which job to do, or they had to run sensors at slower speeds, which meant lag or lower quality.

Some systems tried to help by splitting the time evenly for each job, making “symmetric slots.” For example, if two actions needed to happen, each got half the time. But this was not flexible. Some tasks take longer than others, and not all need the same time, so one job might be rushed or another might waste time waiting. This caused problems like blurry images, missed tracking data, or dropped frames.
Another approach was to use several sensors, so each could focus on a single job. But this made devices bigger, more expensive, and used more power—none of which are good for wearables or small gadgets.
So, the field needed a way to let a single sensor do multiple jobs, even when time was short, and to use each time slot as cleverly as possible. That’s where this new invention steps in.
Invention Description and Key Innovations
This new patent changes the way sensors handle their jobs. Instead of being stuck with fixed, even timing for each operation, the invention lets the device move the “exposure center” for each job—either earlier or later in the cycle, depending on what’s needed. It also lets the device use “asymmetric slots,” where some jobs can have more time and others less, based on what the sensor needs to accomplish.
Here’s how it works in simple terms:

1. The system first looks at what the sensor needs to do in the next cycle. Maybe it needs to track both your hand and your head, or take a picture while also measuring distance.
2. It checks how much time is available, based on how fast the sensor is running (like 120 times per second means each cycle is only 8.3 milliseconds).
3. The system figures out which job needs more time and which needs less. It then moves the center of the job’s “exposure” (the main moment the sensor is working) to the best spot in the cycle. For example, if tracking your hand takes less time than taking a photo, the tracking can happen earlier, and the photo can use the rest of the time.
4. If two or more jobs need to happen, the system can make the time slots for each job different sizes. So, one job might get a wide slot (more time), and another a narrow slot (less time). These slots can even swap size from one cycle to the next, so over several cycles, both jobs get the time they need, just not evenly split each time.
5. The system keeps checking and changing these timings on the fly, so it can adapt if something changes—like if you suddenly move your head very fast or if the light in the room changes, making picture-taking harder.
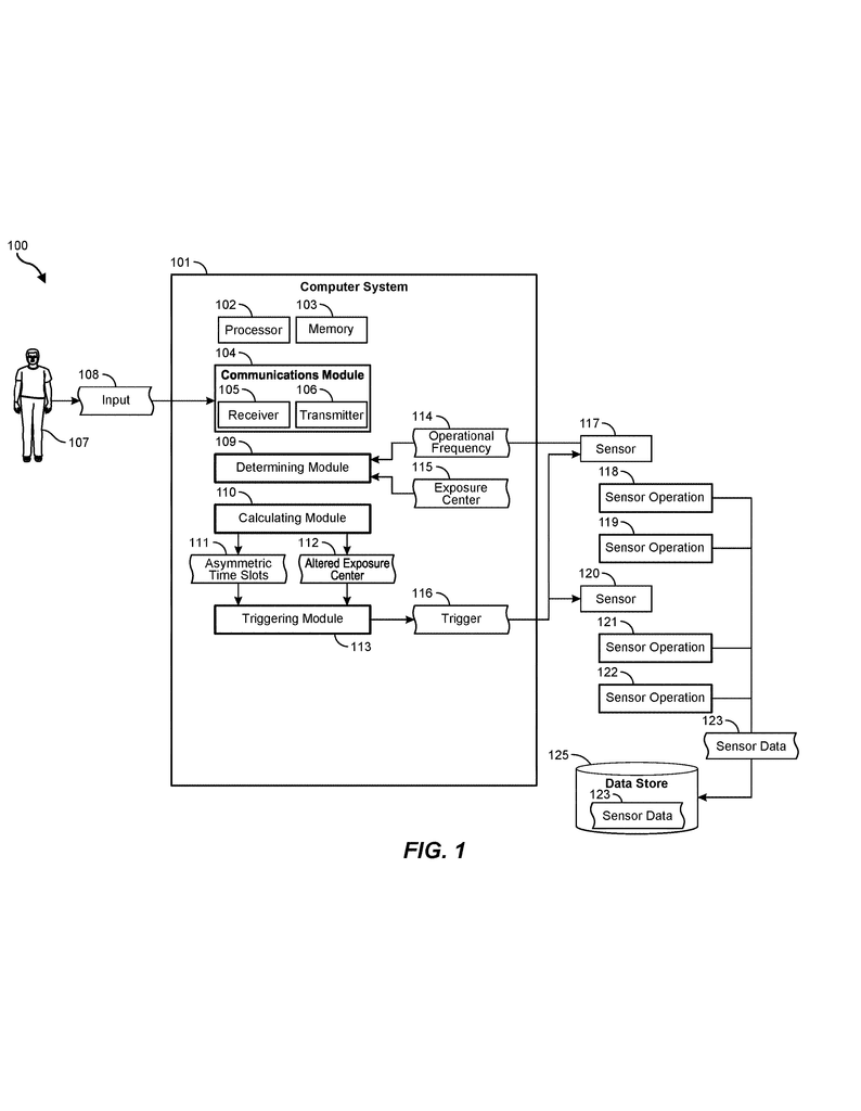
All this is done by computer instructions running on the device’s processor, which can be part of a headset, smart glasses, wearable band, or any other smart gadget. The instructions can be stored on the device itself or loaded from memory as needed. The system also works with many kinds of sensors: cameras, light sensors, motion trackers, and more.
There are a few key improvements that make this invention stand out:
Dynamic Exposure Centering: The center of each sensor’s job can be moved earlier or later, not just stuck in the middle. This gives every job the best chance to finish in time, based on what’s actually needed, not just a fixed rule.
Asymmetric Time Slots: Time for each job does not have to be equal. The system can give more time to a job that needs it, and less to one that doesn’t. This lets devices work at much higher speeds (like 120 Hz), even when sensors have to do complex jobs in each cycle.
Multiple Data Types in One Cycle: One sensor can gather different types of information in the same short window. For example, a camera could take both a photo and depth measurement, or a wearable could track both heart rate and movement, all in one go.
Better Use of Sensor Readout: As soon as one job is done, the sensor starts sending the data to memory, even while the next job is still running. This overlapping of actions helps make the best use of each millisecond.
Automatic, On-the-Fly Adjustments: The system is smart enough to change how it splits up time, every cycle, based on what’s actually happening. This means better results, even as things change quickly—like your movements, lighting, or the type of data needed.
Works for Many Devices: The same method can be used in VR headsets, AR glasses, fitness bands, gaming controllers, and even smart cars. It’s not limited to one kind of sensor or device.
For people building new products, this means you can design smaller, cheaper, and smarter devices that don’t need extra sensors or lots of memory. You can make wearables feel more natural, VR games smoother, and health trackers more accurate. Even in cars or smart home gadgets, sensors can work better and faster, making everything more responsive and reliable.
From a patent law perspective, this invention covers not just the method (how to split and center the time), but also systems (the devices that use the method), and the computer-readable instructions (software that makes it all possible). This gives strong protection against copying, and creates a foundation for licensing or building products that use these ideas.
Conclusion
This patent opens the door for sensors to do more, faster, and with better quality. By letting the system move the “center” of each job and use uneven timing, devices can run at high speeds without missing key data or making mistakes. This invention makes smart sensors even smarter, helping all kinds of gadgets—from VR headsets to smartwatches—work better for everyone. If you’re building new products or want to stay ahead in smart device technology, understanding and using these ideas could make your next project stand out in a crowded market.
Click here https://ppubs.uspto.gov/pubwebapp/ and search 20250335028.
