Invented by SCHMIDLIN; Elizabeth
Imagine playing your favorite computer game, fully immersed, and suddenly feeling dizzy or nauseous. Motion sickness can strike quickly, taking the fun out of gaming. A new patent application offers a way to spot early signs of motion sickness before you feel sick, using a simple camera and smart software. Let’s unpack how this invention works, why it’s needed, and the science behind it—so you can enjoy games without worry.

Background and Market Context
More people are playing computer games than ever before. From kids to adults, gaming is now a big part of daily life. The rise of virtual reality (VR) and augmented reality (AR) headsets makes games even more real, putting players “inside” the game world. But as games become more lifelike and immersive, a hidden problem grows: motion sickness.
Motion sickness is not new. People have felt sick while riding cars, boats, or airplanes for a long time. But now, even sitting on your couch with a controller in hand, you might start to feel dizzy or queasy. This happens most often with VR headsets, but it can also occur during regular gaming on a TV or computer screen. The symptoms—dizziness, nausea, clammy skin, headaches—can last long after you stop playing. And once you start feeling sick, it’s hard to make it go away quickly.
Why does this happen? The main reason is something called “sensory conflict.” Your eyes see movement on the screen, but your body feels like it’s sitting still. This mix-up in signals confuses your brain and can make you feel sick. This is true for both old and new gaming systems, but it’s especially common with VR, where the game world moves with your head.
Gaming companies know about this problem. They try to reduce motion sickness by improving graphics, making smoother movements, and letting players change settings. But even with the best settings, some people still get sick. And right now, most games can only react after you feel bad. There are no smart ways to warn you before you get sick—until now.
This new patent tackles the problem in a fresh way. Instead of waiting for symptoms, the system uses a camera to watch your movements as you play. If you start moving in a way that often leads to motion sickness, the system warns you early. This gives you time to stop, take a break, or change your settings—before you start to feel sick. It’s an idea that could change gaming for millions of people, making games safer and more comfortable for everyone.

Scientific Rationale and Prior Art
To understand why this invention matters, it helps to know how scientists think about motion sickness. The main idea is the sensory conflict theory: when your brain gets mixed messages from your eyes, ears, and body, it can trigger motion sickness. For example, if your eyes see fast movement in a game but your inner ear feels nothing, your brain gets confused. Not every mismatch causes sickness, but big or repeated mismatches often do.
Researchers have looked for clues—called “precursors”—that might show when motion sickness is about to start. One strong clue comes from how people move, even when standing or sitting. When people are about to feel sick, they often start to sway or shift their weight in new ways. These small changes in posture or head movement can show up before any nausea or dizziness starts.
Until now, most systems could only react after a player felt sick. Some VR headsets tried to help by letting you change the field of view, refresh rate, or other display settings. A bigger field of view can make you feel more stable, and a higher refresh rate can make movements look smoother. But these settings are usually only changed by the player after symptoms start, and not every player knows what to adjust.
Some earlier research tried to use sensors, like accelerometers or gyroscopes, to measure head or body movement. This data gave a better idea of how people were moving, but these solutions were either expensive, hard to use, or only worked in certain devices. Other ideas included software that adjusted the game display if the player reported feeling sick, but these systems required the player to notice and act on their symptoms.
Machine learning models—computer programs that learn from lots of data—have been used in some areas to spot patterns in movement or behavior. In fields like sports or health, these models can predict when someone might fall or get hurt. But using a camera to watch a player’s movements, analyze them in real time, and warn about motion sickness before it happens is a brand new step.
This patent builds on all these ideas, but in a new way. It uses regular cameras—like those found on game consoles, laptops, or VR headsets—to watch the player’s body. Then, using smart software and machine learning, it looks for movement patterns that often come before motion sickness. If it spots a risky pattern, it alerts the player right away. The idea is simple, but powerful: stop motion sickness before it starts, by watching for the warning signs hidden in how you move.

Invention Description and Key Innovations
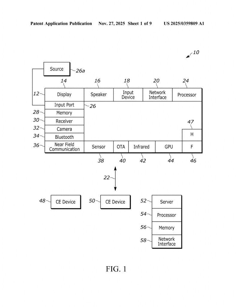
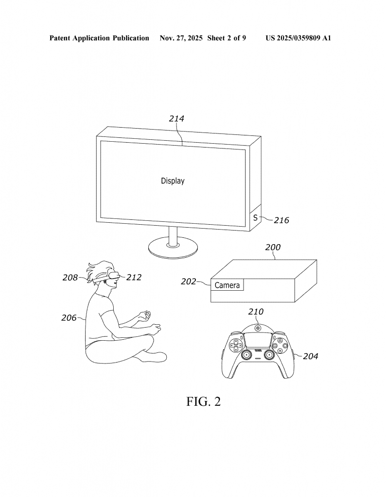
Let’s take a closer look at how this invention works and what makes it stand out. The heart of the system is a camera—any camera that can see the player while they play. It might be built into a game console, a VR headset, a laptop, or even a separate webcam. The camera records images or video of the player, focusing on how the player moves over time.
As you play, the system uses these camera images to track your motion. It’s looking for small shifts—like swaying, leaning, or nodding—that often come before motion sickness. The software can focus on your head, stomach, arms, or even your eyes. It builds a “baseline” of how you move when you’re not feeling sick, and then watches for changes compared to this baseline.
To spot the risky patterns, the system sometimes turns these movements into “frequency” data using something called a Fourier transform. This is a math technique that helps find repeating patterns or rhythms in your movement. The system then checks if these new patterns match known warning signs from a database of past cases—or uses a machine learning model trained on lots of examples to decide if you might be at risk.
If the system thinks you’re starting to move in a way that can lead to sickness, it sends you a warning. This warning can show up on your screen as a message, or play as a sound through your speakers or headset. The message might say, “Your movements suggest you may feel motion sickness soon. Take a break or adjust your settings.” The goal is to catch the problem early, before you actually feel bad.
But the system doesn’t stop there. After the warning, it keeps watching you. If you keep moving in a risky way, it can suggest or even make changes to your game display. For example, it might widen the field of view, make the image smoother by adjusting the refresh rate, or slow down sudden changes from indoor to outdoor scenes. You can choose to make these changes yourself, using simple sliders on the screen, or let the system do it automatically.
Here’s what makes this invention truly new and helpful:
1. Real-time detection: The system watches your movements as you play, not just after you feel sick. This early warning can help you avoid symptoms altogether.

2. Camera-based monitoring: Instead of needing expensive sensors, it uses regular cameras that most gaming devices already have.
3. Smart software and machine learning: The system learns from lots of examples to spot risky movement patterns, even if they’re different for each person.
4. Personalized advice and auto-adjustment: The system can suggest or make changes to your display settings based on how you move, making games more comfortable for everyone.
5. Works with many devices: It can be used with game consoles, VR headsets, computers, or even smart TVs—anywhere there’s a camera.
The invention is also flexible. You can choose how you want to be warned—by sound, on-screen message, or both. You can pick if you want to change settings yourself or let the system do it for you. The system can even combine camera data with other sensor data (like from headsets or controllers) for even better accuracy.
The result is a smarter, safer gaming experience. By watching for early signs of trouble, this invention lets you play longer and feel better, with less risk of getting sick. It’s a simple, clever use of technology that could help millions of players enjoy their favorite games without worry.
Conclusion
Motion sickness has always been a problem in gaming, especially as games become more immersive and realistic. Until now, most solutions have only helped after you start to feel sick. This new patent changes the game by using a camera and smart software to watch for early warning signs in how you move. By catching risky patterns before symptoms appear, the system can warn you and suggest changes—helping you stay comfortable and safe while playing.
This invention is easy to use, works with many types of gaming devices, and can be tailored to each player’s needs. Whether you’re a casual gamer or a VR enthusiast, this technology could make your gaming experience smoother and more enjoyable. As gaming continues to grow, inventions like this will be key to making sure everyone can play without worry.
If you want to stay ahead of motion sickness in your gaming setup, keep an eye out for systems like this—early warnings and smart adjustments could keep your fun uninterrupted and your health protected.
Click here https://ppubs.uspto.gov/pubwebapp/ and search 20250359809.
