Invented by HODRIUS; Manuel, PAGANO; Kevin T, HOU; Yixuan, DU; Yanbo
Welcome! Today, we will walk through a smart new approach to product packaging—one that uses clever paper posts to hold and protect items like electronic adapters. This is not just a box; it’s a carefully designed system that balances strength, user experience, and care for the planet. Whether you are a designer, a business owner, or simply curious about how modern retail packaging works, you’re in the right place. Let’s break down what makes this invention stand out, how it fits into today’s market needs, and why the science and design behind it matter.
Background and Market Context
When you buy a new product, the box it comes in does more than keep it safe on the shelf. Packaging is the first thing you see and touch. It shapes how you feel about what’s inside and about the company that made it. Good packaging is easy to open, keeps the product protected, and looks neat and pleasing. But today, companies and shoppers want even more: packaging should be better for the environment and easy to recycle, while still keeping the product safe and secure.
For a long time, many companies used plastic parts inside boxes to hold products in place. Plastic is strong and can be shaped into almost any form, but it is not great for the environment. It takes a long time to break down and is hard to recycle in some places. As more people care about waste and pollution, companies have been searching for ways to make packaging that uses less plastic or none at all.
Now, many brands, especially those selling in stores, are moving to paper-based packaging. Paper and cardboard can be recycled more easily. They are also lighter, which means it costs less energy to ship them. But there’s a challenge: can paper really hold products tightly and safely, especially if you want customers to use and re-use the packaging?
Think about items like electronic adapters—those little plug pieces that help your phone or computer work in different countries. They’re often heavy and have odd shapes. They need to stay put in the box, not just for the trip from the store to your home, but sometimes for longer if you want to use the box for storage or travel. So, a new kind of packaging is needed: one that is strong, reusable, easy to recycle, and pleasant to use.
This is the problem space where paper post packaging comes in. It’s designed to solve these needs—making packaging that looks good, works well, is simple to use, and is kinder to the environment. The invention we’re exploring does all these things by using folded paper posts inside the box to hold products in place. These posts are strong enough to be used again and again, making the packaging more than just a throw-away box.
Scientific Rationale and Prior Art
Let’s talk about the science and design choices behind this new packaging. In the past, holding products inside a box was done with molded plastic trays, foam inserts, or special shapes cut from thick cardboard. These methods work, but each comes with trade-offs.
Plastic inserts are tough and can be shaped to fit almost any product. They hold items very securely, sometimes with a “snap” or interference fit. But as we said, plastic is not easy to recycle and can make the whole box harder to process in recycling centers. Foam is light and soft, but it’s often not recyclable at all, and it can break down into tiny pieces that make a mess.
Some boxes use folded cardboard or paperboard to make little shelves or pockets. This approach is better for the environment, but paper is not as strong as plastic. It can bend, tear, or lose shape after a few uses—especially if it has to hold a heavy item. That’s why most reusable packaging has stuck with plastic, even as the world looks for greener choices.
There have been some clever attempts to make paper stronger. Boxes with layers of thick cardboard, or with panels folded into triangles or arches, can hold more weight. Some use paper “locks” or tabs to snap together, but these often wear out after repeated use. Another challenge is keeping things simple for the shopper: packaging should be easy to open, and putting the product back inside should not be a puzzle.
A key idea from science is that folded shapes can be much stronger than flat ones. Think about how a folded piece of paper stands up better than a flat one. If you fold a paper strip into a U or an L shape, it resists bending. This is called structural reinforcement by folding. Some packaging uses this trick, but most designs still rely on a basic slot or pocket that just “holds” the product—not one that grips it tightly or can be used over and over.
Another important idea is the “interference fit.” This is when two parts are shaped so that one just barely fits into the other, creating friction and holding power. Many plastic packages use this method: the product snaps into a tight spot and stays put. Doing this with paper is harder, because paper can deform or wear out faster than plastic.
There are also prior designs where paperboard is cut and folded to make posts or tabs. Sometimes these posts stick up from the bottom of the box and the product sits on top, or slides onto the post. But most of these are single-use: after one or two times, the posts may rip or lose their shape. Very few paper-based designs are made for repeated use, or for holding heavy or oddly shaped items.
What sets the new invention apart is how it brings all these ideas together: using folded paper in a special way to create posts that are strong, can flex and return to shape, and can hold products with a tight fit—similar to how plastic would, but using just paper. These posts are made from a single piece of paper, folded into a strong shape, and attached in a way that lets the packaging be used again and again without wearing out quickly. This has not been done in quite this way before.
Invention Description and Key Innovations
Now, let’s take a close look at the heart of this invention: the packaging system with its unique paper posts. The design is much more than just a box with flaps; it’s a carefully engineered system that keeps products safe, allows for repeat use, and is made from simple, recyclable materials.
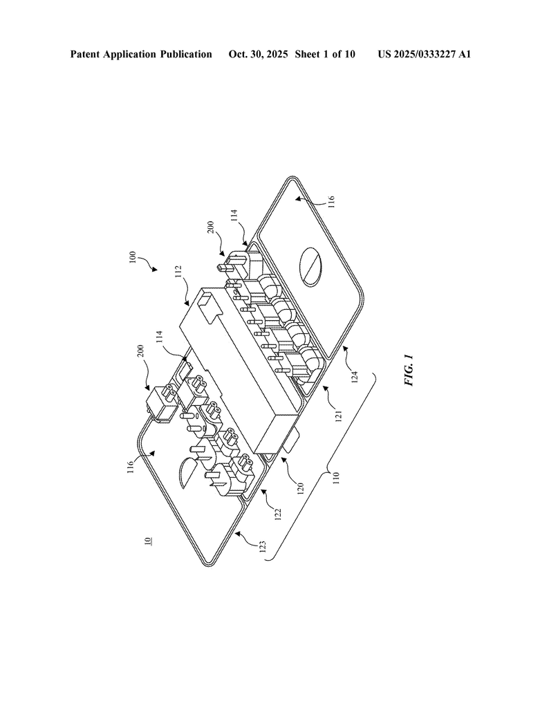
At its core, the packaging has a flat base panel made from paper or board. From this base, a series of “paper posts” stand up. Each post is built from a single sheet of paper, folded along carefully planned lines. The post has two side walls and a flat top panel, forming a channel in between. The side walls are not straight up and down—they taper, coming closer together as they rise from the base to the top. This shape is not just for looks; it makes the post stronger and gives it a built-in “springiness” to grip products.
To hold a product, such as an electronic adapter, the post fits into a slot (often called a T-slot) in the product. The post starts off narrow at the base, so the product can slide on easily. But as the product moves along the post, the post gets a bit wider. This creates a snug fit—a gentle squeeze that holds the product in place. The post can flex a little as the product goes on, then bounces back to its original shape when the product is removed. This makes it easy for shoppers to take out the product and put it back, again and again, without breaking the packaging.
There’s more: on top of the base panel is a cover layer with holes (apertures) cut out. The paper posts poke up through these holes, standing above the cover layer. The holes are shaped so the top of the post is a bit bigger than the hole itself. This means the post can’t simply fall back through; it’s “locked” in place by its shape. The cover layer also hides the fold lines, making the packaging look clean and smooth.
If the packaging needs to hold more than one item, several posts are made from the same folded sheet, with connecting pieces between them. This keeps the posts lined up and adds strength. The posts can be placed at different distances from the edge of the box, so the packaging can hold products of different sizes without them bumping into each other. For example, if you have three adapters of different shapes, each post can be set at just the right spot to keep things tidy and safe.
The invention also includes a support structure inside the box, formed from more folded paper. This structure acts like a shelf or cradle, holding the products steady when the box is closed. It helps spread out the weight, so the posts don’t have to carry the whole load. There are even special recesses (little cutouts) in the support, sized to match bigger products, so everything fits just right.
To open and close the box, there are lid panels attached with fold lines. These are also made from paper and can include extra layers for strength and looks. The lid panels overlap when closed, keeping everything inside protected. They can even have locking tabs to keep the box shut during travel.
All parts—the base, posts, cover, support, and lid—are made so they can be glued or welded together using methods like adhesives or high-frequency welding. This keeps everything strong, and because it’s all paper, the whole package can be recycled as one piece in most places.
The real magic here is in the details:
- The paper posts are shaped to create both a friction fit (so the product stays put) and a geometry fit (so the product can’t slide off accidentally).
- The posts are strong enough to be used many times, not just once.
- The design does not need any plastic or foam, making it better for recycling and the environment.
- Everything is made from simple, flat sheets of paper, cut and folded in smart ways—great for keeping costs low and processes simple.
- The packaging can be opened, closed, and reused without tearing or wearing out quickly.
This system is especially helpful for products that need to be stored or carried after purchase, like travel adapters. The box becomes a handy case, not just something to throw away. The posts keep the adapters organized, easy to grab, and protected from bumps.
In summary, the key innovations are:
- Specially shaped, folded paper posts that grip products with a snug fit, using only paper.
- Posts made from one piece of folded paper for strength and repeat use.
- Smart placement of posts and support structures to hold different shapes and sizes of products without waste or extra bulk.
- A fully recyclable, plastic-free design that looks good and is pleasant to use.
- Packaging that can be used as a long-term storage case, adding value for the customer and reducing waste.
Conclusion
The paper post packaging system is a big step forward in making product boxes that do more—protecting items, looking great, being easy to use, and caring for the environment. By using clever folding and smart design, it solves the problems of old-style plastic and foam packaging. It creates a box that holds products tightly, can be used over and over, and can be recycled easily.
For brands, this means a better customer experience, lower environmental impact, and a story to tell about innovation and responsibility. For shoppers, it means packaging that is not just a barrier to throw away, but a helpful tool they can use long after buying the product. And for the planet, it means less waste, less pollution, and a step toward a cleaner future.
As more companies look for ways to go green without giving up quality, the paper post invention is a clear example of how simple materials, used in smart ways, can make a big difference. Whether you’re designing your next product package or just want to understand how the things you buy are changing, this new approach shows what’s possible when creativity and care for the earth go hand in hand.
Click here https://ppubs.uspto.gov/pubwebapp/ and search 20250333227.




