Invented by Ganschow; Tim, Ganschow; John
Imagine watching a live soccer match on your phone and, as soon as a goal is scored, you get a pop-up with instant stats, betting options, and a replay—all without leaving the stream. This isn’t just a dream for fans and marketers; it’s the vision baked into a new patent application for interactive video overlays. In this article, we’ll break down the background of this technology, look at why it matters, see what came before, and explain exactly what makes this invention stand out. Let’s dive in.
Background and Market Context
Watching video online used to be simple: you pressed play, sat back, and watched. But today, people want much more. They want to talk with friends, see live stats, make bets, and shop—all at the same time, without missing a moment of action. The rise of smartphones and smart TVs has made video more personal and interactive. As a result, companies are racing to make the viewing experience more engaging and social.
Streaming platforms—like those for sports, music, or news—know that if they keep viewers inside their apps longer, they can show more ads, sell more products, and keep users coming back. But there’s a problem: most apps can’t show extra info or let viewers interact without forcing them to leave the video or open another app. This means fans miss out, and companies lose chances to connect or earn money.
Another issue is with ads. Old video ads either block the main content or send the viewer away from the app. This annoys users and can push them to quit watching. On top of that, the ads often aren’t tied to what’s happening in the video, so they feel random and less effective.
Some apps tried to solve this by building in social features or stats, but these are usually locked to one platform or sport, and can’t be used by other companies. Messaging apps like WhatsApp or Facebook Messenger let people chat, but not inside a live video stream, and not with content or ads tied to what’s happening on screen.
This is the gap the new patent aims to fill. It’s about making video watching interactive and social, without making viewers leave the stream or get lost in other apps. It also gives media companies and marketers smarter ways to show ads and content that match the live action. With more people watching live sports, concerts, and shows on mobile devices, this kind of technology is set to become the new normal.
Scientific Rationale and Prior Art
To really understand why this invention matters, let’s look at what other solutions exist and where they fall short.
Video streaming platforms have tried a few things to make their apps more interactive. Some built-in chat rooms or simple stat trackers, mostly for sports. Others offered “second screen” apps, where you could open a different app to see stats or chat while watching on TV. These approaches have big downsides. The extra features are usually basic, not linked to what’s happening in real time, and can be distracting. Plus, switching apps interrupts the video, causing users to drop out of the main stream.
Advertising in video has also evolved, but not much. The main types are pre-roll (before the video starts), mid-roll (interrupting the video), or overlay ads (which block part of the action). These formats are disruptive. Some platforms tried to make ads interactive, like clickable banners, but they often send users out of the app. What’s missing is an ad or offer that pops up only when something important happens in the video—and does so without stopping the action.
Meanwhile, stand-alone messaging or social apps let people talk about events, but don’t connect the chat to what’s happening on screen, and don’t let media companies show related offers or info inside the video player itself. Even when some companies tried to bolt on third-party chat or stats, the experience was clunky and not truly tied to the live content.
Some sports apps let users see stats or chat, but only for their own platform, and not as a service for other companies. There’s no easy way for a video platform to add these features as a “plug-and-play” option (sometimes called software-as-a-service, or SaaS). Plus, none of these earlier tools let you get extra info, make bets, or shop—triggered by real events in the video—without leaving what you’re watching.
In short, the prior art lacks a seamless way to mix real-time video, live data, user interaction, and ads that match the action, all in one place, and all available as a service to any app or media partner. This is the gap the new patent tackles.
Invention Description and Key Innovations
This invention is a smart system that adds interactive content overlays to video streams. Here’s how it works, in plain language:
When you’re watching a live (or recorded) event on your phone, tablet, or smart TV, the system can show a small window—like a button or pop-up—over the video. This window doesn’t block the action and can be made see-through. If you tap or click it, a bigger overlay opens, showing extra content that is perfectly matched to what’s happening in the video right now.
What makes it special?
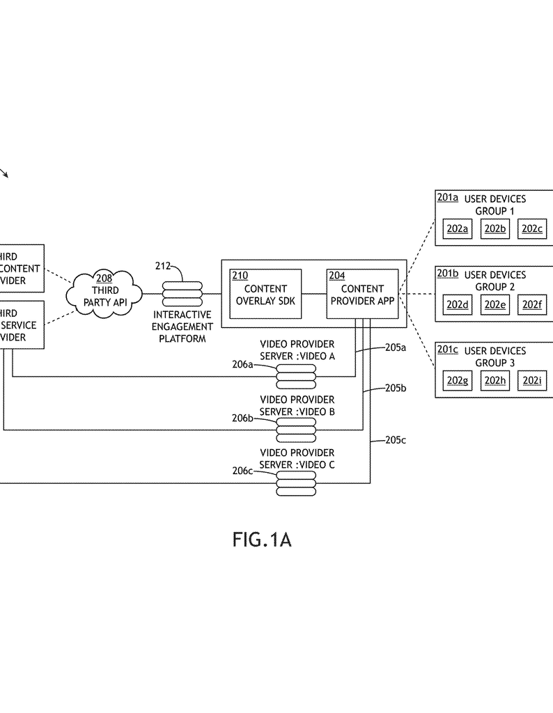
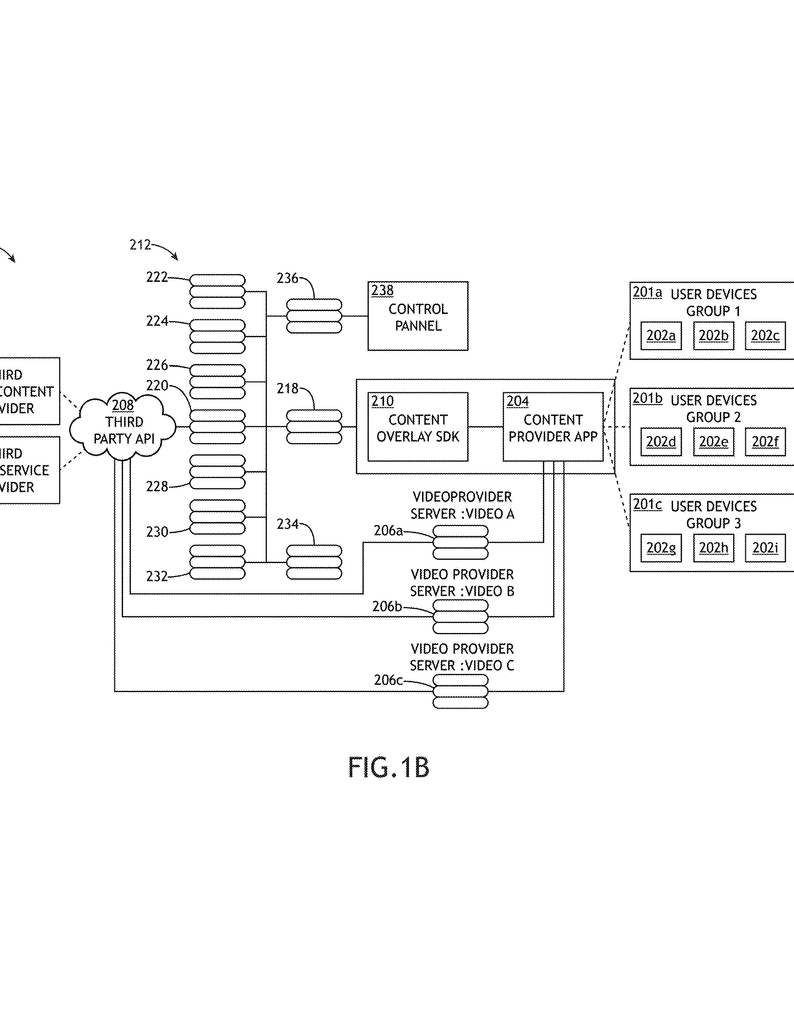
1. Real-Time Event Triggers: The system listens for “triggers” from the video, like a goal in a soccer match, a new message, or an ad break. These triggers come from the video feed’s metadata (info about what’s happening) or from external sources (like sports data providers, betting sites, or social networks). When an important event happens, the system springs into action.
2. Smart Content Overlays: Once triggered, the system fetches related content from third-party providers using APIs (the digital pipes that let different apps talk to each other). For instance, when a goal is scored, the overlay might show a replay video, live stats, updated betting odds, or a special offer from a sponsor.
3. Seamless User Experience: The overlays appear without stopping the main video. The small window lets users know something interesting is available, but doesn’t block the screen. If the user is interested, they tap to see more. The overlays can be transparent, so the action is always visible.
4. Personalized and Contextual: The system can tailor what it shows based on the viewer’s history (like past bets or favorite teams), location, or even group chats. For example, if you always bet on Liverpool and they score, you might get a special boosted odds offer.
5. Platform-Agnostic and Scalable: This isn’t locked to one app or sport. The patent covers a toolkit (SDK) that any video app or platform can plug in, making it easy for all kinds of media companies to add interactive overlays to their streams—sports, concerts, news, and more.
6. Smarter Advertising: The overlays can show ads, but only when they make sense (like after a big play), and without taking you away from the action. The system even has built-in rules to avoid ad conflicts—like not showing a Coke ad during a Pepsi-sponsored moment. Ads can be interactive, leading to more engagement without being annoying.
7. Deep Social Integration: Users can chat and share overlays with friends or groups, all inside the video app. This means people can react, discuss, or even send content to each other without ever leaving the stream. If you see a cool stat or offer, you can share it directly with your group chat in the overlay.
8. Analytics and Feedback: The system tracks what users interact with, so media companies and advertisers can see what works and what doesn’t, and improve their content and offers.
9. Flexible and Automated: The system can automatically match events (like game schedules) with the right data feeds and overlays using smart matching and mapping. This makes it easy to set up for new sports, teams, or events, and reduces manual work.
10. Broad Device Support: The overlays work on phones, tablets, computers, and smart TVs. They can even sync between devices—type a message on your phone, and it shows up on your TV overlay.
All these features work together to make video watching richer, more fun, and more valuable for both viewers and companies. The patent describes in detail how the system manages triggers, fetches data, handles overlays, avoids ad conflicts, and enables social sharing—all in a way that’s easy for other apps and partners to use.
Conclusion
Interactive video overlays are changing the way we watch and connect with live content. This patent lays out a powerful system that brings together real-time data, social features, ads, and personalized offers—right inside the video stream, on any device. No more missing out on key plays, stats, or special deals. No more jumping between apps. It’s all about keeping viewers engaged, making ads smarter (and less annoying), and giving media companies the tools to build loyal, active audiences. As video streaming keeps growing, inventions like this will shape the future of how we watch, share, and interact—with every tap and every play.
Click here https://ppubs.uspto.gov/pubwebapp/ and search 20250332509.




