Invented by Clark; Simon, Chapman; Tanya Marie, Oracle International Corporation
Managing text in software applications, especially across different languages and versions, has always been tricky. This blog breaks down a new patent application for a “central text repository”—a clever system that keeps all your app’s text in one place, ready to be updated, translated, and delivered to any app in real time. We’ll look at why this is important, what was done before, and what makes this invention different.
Background and Market Context
Imagine using an app that’s been translated into your home language, but some words seem out of place or have mistakes. Or perhaps you notice that a button says “Cancel” in English, but in your local version, it still says “Cancel” instead of the right word. These are not just little annoyances—they can make users feel like the app wasn’t really made for them. For companies, fixing these problems is often slow and expensive because the words (or “strings”) are buried deep inside the app’s code. Every small change might mean updating the app, retesting it, and sending a new version to every user.
Apps today run on many devices and in many places—phones, tablets, laptops, desktops, and even in the cloud. People expect them to “just work” in their language, with the right words and tone. As more apps are used in different countries and by people with different needs, the problem of keeping text up to date and accurate gets bigger and messier.
Traditionally, developers would manage text by putting the words right inside the app’s code or in files that get packaged with the app. This means that every time a word changes, even if it’s just a spelling fix or a better translation, the whole app needs to be fixed and sent out again. If a company has many apps, or many versions of the same app, this process becomes a nightmare. Mistakes stay around for weeks or months. It’s hard to make sure every app is using the same words, or to quickly update text when laws or business rules change.
The digital world moves fast. People expect apps to be updated quickly, and for those updates to feel local and personal. Businesses want to cut costs and move faster. This is where the idea of a central text repository comes in—it promises to make text updates fast, easy, and safe, no matter how many apps you have or where they run.
Scientific Rationale and Prior Art
Let’s look at how things were handled before and what problems came up. In the old way, text was either hard-coded (written directly inside the software code) or stored in files like XML, JSON, or resource bundles. Many tools let you “externalize” text, so you can translate it without touching the code, but even then, every update meant rebuilding and redeploying the app.
Some companies tried to use shared libraries or services to store common words and sentences. But these solutions had limits. If you wanted to fix a word in all your apps at once, you still had to update and redeploy each one. If you wanted to change a translation just for one country or group of users, you had to copy files or write special code. Over time, the same word might appear in many places, making it easy to miss mistakes or have different translations for the same thing.
There were also problems with inheritance and overriding. Sometimes, a button or label would be reused in many places, but you’d want to change it in one special context—say, a “Cancel” button in a special pop-up. Most systems made this hard, requiring lots of copying or manual work. And if you wanted to support different versions or forms of a word—like plural, gender, or honorifics—things got even more tangled.
For languages, some systems supported “resource bundles” for each language, but adding a new language or fixing a translation meant rebuilding each app. And if you had users in different regions (say, US English and UK English), you had to manage lots of nearly-the-same files.
In modern cloud and web apps, some teams started using content delivery networks (CDNs) to serve up assets, but text was rarely delivered this way. Changes to text still required coordination between translators, developers, testers, and deployment teams. Mistakes could linger for a long time.
So, the main problems were:
- Slow updates: Text changes took weeks or months to reach users.
- Duplication: The same words appeared in many files and places.
- Lack of flexibility: Hard to override or customize words for special contexts.
- Poor translation handling: Adding languages or fixing mistakes was hard.
- High costs: Every update meant expensive testing and deployment.
The patent application we are discussing changes this by creating a single, smart place for all text. It lets anyone involved—designers, translators, managers—edit and improve text without touching the app code. Updates can be pushed to all apps at once, or just to some, with lots of control over who gets what. Apps can grab the latest text bundles from a CDN at startup or whenever needed, meaning users see changes fast.
Most importantly, the system supports hierarchies (parent-child relationships) for both app contexts and languages. This allows for inheritance (reusing text) and overriding (changing just what you need). It also supports “modifiers,” so the same string can have different forms, and the app can pick the right one at runtime. This is a big leap over old systems that treated all text as simple, flat files.
Invention Description and Key Innovations
Now, let’s dig into how the central text repository works and what makes it unique.
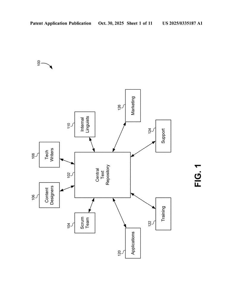
At its heart, the system is a smart database that holds all the text (or “strings”) used in your apps. Each string is identified by a “string key”—like “CancelButtonTxt”—and has a value, which is the actual text. But instead of just storing a flat list, the system organizes these keys into “scopes.” Each scope matches a part of your app—a page, a dialog, a feature, or a context. Scopes are arranged in a “parent-child” tree, so a child scope can reuse (inherit) text from its parent, but also override (change) it when needed.
For example, suppose you have a main app window with a “Cancel” button. That button’s text comes from a parent scope. Now, you create a special pop-up window that also has a “Cancel” button, but you want it to say “Abort” instead. You simply create a child scope for the pop-up, and override just that button’s text. Everywhere else, the original “Cancel” text stays the same. This saves space, avoids confusion, and makes updates easy.
But it gets better. The system also supports a second hierarchy, this time for translations. Each text string can have versions in different languages, and child translations can override parent ones. So, you can have a global English version, a US English version, and even a Texas dialect—all set up neatly in the same structure. When the app needs a string, it looks up the right context and language, automatically picking the best version.
This double hierarchy—one for app context, one for language—makes it easy to deliver the right words to the right users, without lots of copying or manual work. It also means you can update a translation for one country or group without touching the others.
Another smart feature is modifiers. Sometimes, a single string needs to have different forms depending on things like gender, number (singular/plural), or even app version. Instead of creating lots of separate keys, the system lets you add modifiers to a string. For example, you might have “Welcome, user!” but want to change “user” based on gender (“Welcome, sir!” or “Welcome, ma’am!”). The app passes in the needed modifier, and the system returns the right version. This saves space and makes it easy to maintain complex language rules.
When it’s time to use the text, the central repository creates a resource bundle—a package with all the needed strings for a given context and language. This bundle can be uploaded to a content delivery network (CDN), so apps can fetch it quickly, wherever they run. The app can grab the latest bundle when it starts, or when it needs a new context—say, when opening a new screen. This means that updates to text or translations show up for users right away, without waiting for a new app version.
If a string changes—say, someone fixes a typo or improves a translation—the central system regenerates the affected bundles and pushes them to the CDN. The next time an app requests the bundle, it gets the latest version. No code changes, no redeployment, no waiting.
The system also tracks which strings are used where, so you never ship unused text. This keeps the bundles small and fast to download. It supports exporting only the needed scopes, so training, support, or marketing teams can grab just the text they need, without extra clutter.
This approach is flexible, scalable, and easy to manage. It works for all types of apps—web, mobile, desktop, cloud. It supports many languages, regions, and app versions. And because the text is stored and managed in one place, it’s easy to keep things consistent and up to date.
In summary, the key innovations are:
- A central place for all app text, with easy editing and updating by anyone involved.
- Hierarchical scopes that match app contexts, so text can be reused or overridden as needed.
- A second hierarchy for languages and translations, allowing smart inheritance and overrides for different regions or dialects.
- Support for modifiers, so the same string key can have many forms, picked at runtime.
- Automatic generation and delivery of resource bundles through a CDN, so apps always get the latest text with no delays.
- Tracking of which strings are used where, so bundles are always small and efficient.
With this system, text changes are fast, safe, and easy. Mistakes can be fixed in minutes, not weeks. New languages or contexts can be added without hassle. And users always get an app that feels local, personal, and up to date.
Conclusion
The central text repository described in this patent is a game changer for software teams and users alike. It solves the old problems of slow text updates, duplication, and poor translation handling. By using smart hierarchies, modifiers, and fast delivery through a CDN, it brings flexibility, speed, and control to managing app text. For businesses, this means lower costs, less risk, and faster time to market. For users, it means apps that speak their language—literally and figuratively. As software keeps spreading across devices and borders, systems like this will be key to building apps people love to use.
Click here https://ppubs.uspto.gov/pubwebapp/ and search 20250335187.




