Invented by KHAN; Sikandar, FAYYAZ; ., JAVED; Hassan, WAQAS; Muhammad, JAZIM; Agha Muhammad, KING FAHD UNIVERSITY OF PETROLEUM AND MINERALS
The world of engines is changing fast. New inventions are aiming to make engines more efficient, powerful, and reliable. One such breakthrough is the “Independent Rotary Valve Engine” described in the patent application above. In this article, we will unpack what makes this engine so unique, how it fits into the market, the science and history behind it, and how the invention works in simple terms. If you are a car enthusiast, an inventor, or just someone curious about engine technology, read on to learn how this rotary valve engine could shape the future.
Background and Market Context
Engines are at the heart of cars, trucks, and many machines we use every day. For over a century, most engines have used a system called poppet valves. These valves open and close to let in air and fuel, then let out exhaust after burning. They are moved by a camshaft and springs. This way of operating works, but it isn’t perfect. It causes friction, uses energy, and adds weight and complexity. That means some of the fuel you buy just goes into moving those heavy parts, not into moving your car forward.
People who make engines have always wanted to make them better. They want engines that use less fuel, pollute less, and last longer. To get there, makers have tried ways to make the valves work smarter. Some engines can now change when the valves open and close, depending on how fast you are going or how hard you press the pedal. This helps, but making those systems adds more parts, more cost, and sometimes more things to break.
Another problem is how engines control power. Most engines have a plate in the intake, called a throttle, that opens and closes to let more or less air in. When the throttle is partly closed, it makes it harder for the engine to “breathe.” The engine has to suck air past the plate, which wastes energy. This is called a “pumping loss.” Most driving is done with the throttle partly closed, so this waste happens a lot. It’s one of the main reasons cars use more gas than we wish they did.
For years, inventors have tried to find a better way. One idea is to use rotary valves. These are spinning cylinders inside the engine head that open and close ports by rotating. They promise to let air and fuel in, and exhaust out, without the heavy and complicated parts of a poppet valve system. Rotary valves could let engines run smoother, faster, and with less friction. But rotary valves have their own problems. They are hard to seal, especially against the high pressure and heat inside an engine. If they leak, the engine loses power and efficiency. Over time, keeping the seal tight has been a big hurdle.
The market for better engine technology is huge. Every car, truck, generator, and small machine with a gas or diesel engine stands to benefit from a design that is simpler, lighter, and more efficient. If rotary valves could be made practical, they could replace poppet valve engines in many places. This would mean cars that go farther on a tank, need less maintenance, and maybe even cost less to make. That’s why inventors and engineers keep coming back to the idea, trying to solve the last pieces of the puzzle.
The patent application we’re discussing aims to do just that. It describes a new rotary valve setup that uses a servo motor and smart controls to make the valve timing variable and independent. This means the engine can adjust itself, moment by moment, to give you the best mix of power and economy. By making the system simpler and more reliable, this invention could finally make rotary valve engines practical for everyday use.
Scientific Rationale and Prior Art
To understand why this invention matters, let’s take a step back and look at how engines work. In a standard car engine, air and fuel are mixed together and drawn into the cylinder. The piston moves down, sucking in this mixture. Then, the valves close, the piston moves up, and the spark plug ignites the mix, causing it to explode and push the piston down. After that, the exhaust valve opens to let the spent gases out. The timing of when the valves open and close is very important. If the timing is just right, the engine makes more power and uses less fuel. If it’s off, the engine wastes energy and pollutes more.
Traditional poppet valves are opened and closed by a camshaft, which spins at half the speed of the crankshaft. The camshaft has lobes that push on the valves at just the right time. This system has worked for over a hundred years, but as mentioned before, it has drawbacks. It is heavy, makes friction, and limits how fast the engine can spin. Also, the timing is usually fixed, or can only be changed a little bit with special systems.
To make engines better, car makers have added things like Variable Valve Timing (VVT) and Variable Valve Lift (VVL). These systems let the engine change when the valves open and close, and how far they open, depending on what the engine needs at that moment. This helps save fuel, make more power, and reduce pollution. But these systems are often complicated, expensive, and can break down. They use extra parts, like hydraulic actuators, electric motors, and lots of sensors.
Rotary valves have been proposed as a way to avoid all these problems. Instead of pushing a valve up and down, a rotary valve spins to open and close ports in the engine head. The idea is that with fewer moving parts, the engine can run smoother and faster, with less friction. Rotary valves also allow for larger, less obstructed ports, which means more air and fuel can get in, and exhaust can get out more easily. This could boost power and efficiency.
But there have been big hurdles. The main one is sealing. Inside the engine, pressure and temperature are very high. Traditional rotary valve designs have struggled to keep a tight seal between the spinning valve and the engine head. If gas leaks past the seal, the engine loses power, efficiency drops, and pollution goes up. Over time, wear and heat can make the leaks worse. This has kept rotary valves from being used widely, except in some racing engines or special applications.
The patent application talks about several earlier inventions. Some used rotary pipes or hollow shafts to control intake and exhaust. They were driven by chains or pulleys connected to the crankshaft. These designs worked, but they did not allow for independent or variable control of the valves. The timing of the valves was fixed, just like in a camshaft system. That meant the engine couldn’t adjust itself to work better at different speeds or loads. Some systems tried to combine rotary valves with throttle plates, but this added complexity and didn’t solve the problem of pumping losses.
This is where the new invention stands out. It uses a servo motor—basically a small, precise electric motor that can turn the rotary valve to any position as needed. The servo motor is controlled by an engine control unit (ECU), which is like the brain of the engine. The ECU monitors what the engine needs, such as speed, load, and throttle position, and tells the servo motor how to move the valve. This allows for true variable valve timing, right at the port. It also means the engine can control how much air and fuel gets in without needing a separate throttle plate, which could almost eliminate pumping losses.
Other smart choices in the design help solve the sealing problem. The rotary valves are supported by special bearings and seals, made from materials that can stand up to heat and pressure. The ports are shaped to allow smooth flow and good sealing. By combining smart materials, precise control, and clever engineering, the invention aims to overcome the problems that held back earlier rotary valve engines.
In summary, past inventions laid the groundwork, but they didn’t quite solve all the issues. The new invention uses modern electronics, materials, and control strategies to make rotary valve engines finally viable for everyday use. If it works as described, it could be a big leap forward for engine technology.
Invention Description and Key Innovations
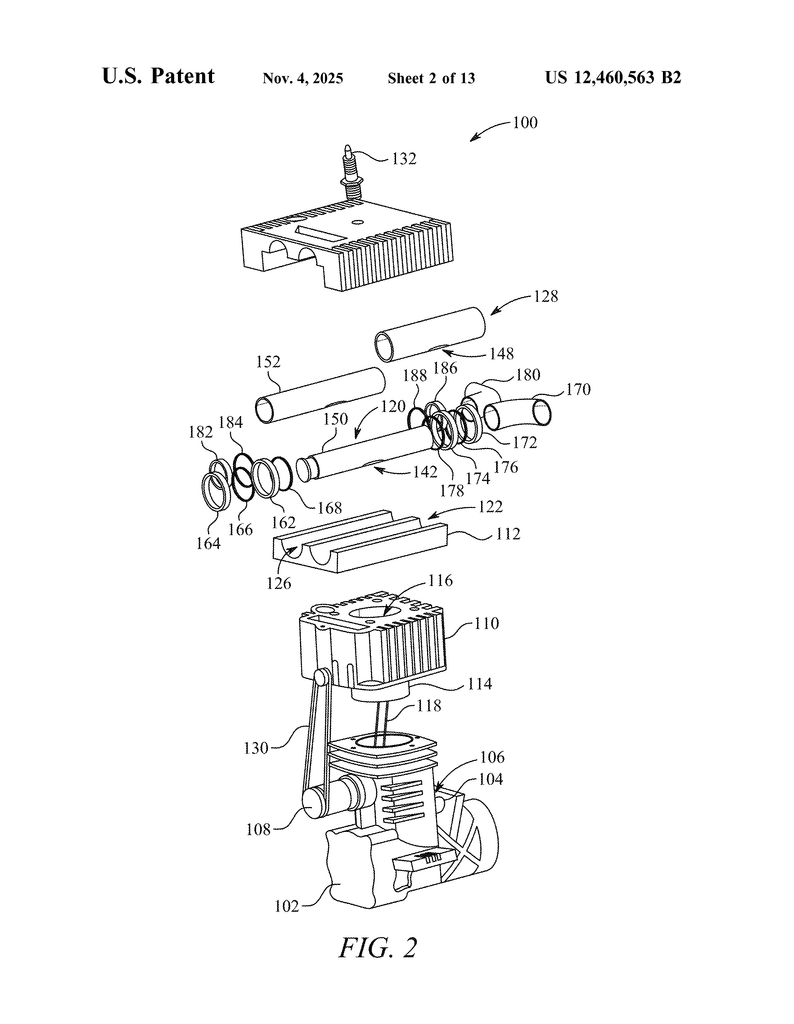
Let’s walk through how the invention works, breaking it down into simple parts. The engine is made up of a crankcase, a crankshaft, a bidirectional servo motor, a cylinder block, and a cylinder head. Inside the cylinder block is the piston, which moves up and down as the engine runs. The cylinder head sits on top, and this is where the magic happens.
Instead of using poppet valves, the engine uses two rotary valves: one for intake and one for exhaust. These are long, spinning cylinders that sit in parallel channels in the cylinder head. The intake rotary valve controls when air and fuel come into the engine. The exhaust rotary valve controls when burnt gases leave.
Here’s where it gets smart. The intake rotary valve is made of two main parts: an inner shaft and an outer sleeve. The inner shaft is connected to the servo motor using a pulley. The outer sleeve is connected to the crankshaft using a chain and sprocket. This means the outer sleeve spins in sync with the engine, while the inner shaft can be moved independently by the servo motor.
When the engine runs, the crankshaft turns, moving the piston up and down. The chain and sprocket spin the outer sleeve of the rotary valve, so the main valve events are timed to the engine. But the inner shaft, controlled by the servo, can be moved to fine-tune exactly when the valve opens and closes. This lets the engine adjust the intake timing on the fly, giving it the best performance for any speed or load.
The exhaust rotary valve is simpler. It is also spun by the chain and sprocket, always in sync with the engine. It opens to let exhaust out after combustion, then closes to seal the chamber for the next cycle.
The engine control unit (ECU) is the brain. It gets signals from sensors about engine speed, throttle position, and more. It sends commands to the servo motor to move the intake valve just right. It also controls the spark plug, telling it when to fire. By managing these things together, the ECU makes sure the engine gets the right amount of air and fuel, at the right time, and burns it efficiently.
Sealing is a big deal. To make sure no air or fuel leaks out (and no exhaust leaks back in), the engine uses special bearings and seals. These are made from strong, heat-resistant materials like PTFE (a kind of tough plastic) and are placed at key spots along the rotary valves. The seals keep everything tight, even as the valves spin at high speed. The bearings let the valves spin smoothly without wearing out.
The ports in the rotary valves are shaped like ellipses (oval shapes), which helps air and fuel flow smoothly into the chamber and exhaust flow out. The size and shape of the ports are carefully chosen to match the needs of the engine, giving just the right amount of flow for good power and efficiency.
The servo motor is not just any electric motor. It can turn both ways (clockwise and counterclockwise), and it moves very precisely. This allows the ECU to adjust the intake valve’s position for full throttle, part throttle, idle, or even shut it off entirely for cylinder deactivation (to save fuel when cruising or coasting).
Because the system controls the intake right at the port, there is no need for a separate throttle plate. This gets rid of the main source of pumping losses in traditional engines. The engine can “breathe” freely, using less energy to pull air in. This means better fuel economy, especially at the speeds and loads where most driving happens.
Testing and computer simulations show that this design can make more power, more torque, and use less fuel than a standard poppet valve engine of the same size. The rotary valve engine can also run at higher speeds, because there are fewer heavy parts moving up and down. This could be great for sports cars, motorcycles, or any application where power and speed matter.
Finally, the design is simpler. By getting rid of cams, springs, rockers, and other heavy parts, the engine can be lighter, cheaper to build, and have fewer things that can break. The special servo control opens up new ways to manage the engine, like shutting off cylinders when they are not needed, or quickly changing from low-power to high-power operation.
In short, the key innovations are:
- Using a bidirectional servo motor and ECU for true variable and independent valve timing
- Controlling intake directly at the port, eliminating the need for a separate throttle and reducing pumping losses
- Special rotary valve design with inner and outer parts for precise control and good sealing
- Smart use of materials and seals to solve leakage and wear problems
- Simpler, lighter, and more reliable than older camshaft and poppet valve systems
These changes could make engines that are more powerful, efficient, and easier to build and maintain. If widely adopted, this technology could play a big role in the next generation of cars, trucks, and other machines that rely on internal combustion engines.
Conclusion
The independent rotary valve engine described in this patent application is an exciting step forward in engine design. By combining rotary valves, a smart servo motor, and advanced controls, it aims to deliver more power, better fuel economy, and simpler operation than traditional engines. The design tackles old problems like pumping losses and valve sealing with new materials and clever engineering. If this invention lives up to its promise, it could change the way engines are built and used for years to come. For anyone interested in the future of engine technology, this is an innovation to watch closely.
Click here https://ppubs.uspto.gov/pubwebapp/ and search 20250334063.




