Invented by Mamidwar; Rajesh Shankarrao, Vo; Binh, Katre; Prashant, Avago Technologies International Sales Pte. Limited
Wireless networks are everywhere. They help us work, play, and connect with others every day. But some things we do online—like playing games, video calls, or using virtual reality—can slow down if our network does not keep up. A new method aims to fix this by making wireless networks smarter about how they handle data for these special, speed-sensitive uses. In this article, we will break down this new solution in three simple sections: where it fits in the market, the science and older solutions, and what makes this invention different. Let’s get started.
Background and Market Context
Today, we depend on wireless networks for almost everything. At home, you might have a phone, a computer, a smart TV, and maybe even smart lights or a game console. All these devices talk to each other and the internet using Wi-Fi or other wireless connections. For most things like loading web pages or checking email, a short wait is not a big deal. But for some things—like playing an online game, talking over video, or using virtual reality—a small delay can ruin the experience.
These special uses are called “low latency applications.” Latency means delay. So, low latency means very little delay—a must for things that need quick responses. For example, when you press a button in a game, you want to see the result right away. If your video call lags, you talk over each other. In virtual reality, too much delay can even make you feel sick.
The number of low latency applications is growing fast. Video calls are now normal for work and school. Online gaming is more popular than ever. There are also new things like the metaverse, where people interact in virtual worlds, or smart cars that need to “talk” to each other in real time. Many people also use smart home devices, voice assistants, or cloud services that all need quick responses.
To keep up, internet service providers (ISPs) and device makers have tried many ways to make networks work better. They have upgraded hardware, used special software, and improved Wi-Fi speeds. But wireless networks still have a hard time when they need to handle both big downloads—like movies—and low latency stuff—like a video call—at the same time. If the network slows down, the low latency applications are the first to suffer.
This is where the new idea comes in. It aims to make wireless networks smarter by letting them choose, in real time, the best way to handle different kinds of data. When a low latency application is running, the network can change how it sends data to give that application the fastest path. When it is not needed, the network can go back to its regular, efficient way of sending data for things like downloads or streaming.
Why is this important for the market? Because more people now expect perfect video calls, fast gaming, and instant responses from their devices. Internet providers want to offer these services to keep customers happy. Device makers want to stand out by promising better performance. This new method gives both groups a powerful tool to deliver on those promises.
In short, as wireless networks get busier and the need for speed grows, a way to help networks switch between “fast and flexible” and “big and efficient” is a big step forward. It can help reduce complaints, improve user happiness, and open new doors for products that rely on fast data.
Scientific Rationale and Prior Art
To understand why this invention matters, we need to look at how wireless networks work and what has been tried before.
Most wireless networks use a trick called “data aggregation.” Instead of sending lots of small messages, the network bundles them together into bigger chunks before sending them. This is like waiting until you have a full basket before carrying it to the kitchen. It is much more efficient and saves time overall. For things like downloading a movie or sending a big file, this works great. You use less energy, get more data through, and reduce the “chatter” on the network.
But there’s a problem. If you are playing an online game or on a video call, you do not want to wait for the basket to fill up before your message is sent. Even a small delay can make the game lag or the video stutter. In these cases, it is better to send each message right away, even if it means using a little more energy or network space.
Older solutions have tried to handle this by letting devices turn aggregation on or off when they start a connection. For example, when your phone connects to Wi-Fi, it might tell the router, “I want to use aggregation” or “I do not want to use aggregation.” But once the connection is set, it stays that way until you disconnect. This is not good enough, because you might start a video call or game at any time, and the network does not know it should change how it handles your data.
Other ideas have used special “quality of service” (QoS) settings. These let some types of traffic—like voice or video—get higher priority. Some routers have separate “fast lanes” for gaming or streaming. But these do not really change how aggregation works. They just try to send certain packets first. They also require a lot of setup and may not work across all devices or brands.
Some networks have tried to guess when low latency is needed by looking at packet size or timing, but they still cannot change the way data is bundled up after the connection is set. Others have tried to set up different Wi-Fi networks for gaming or video, but this is not flexible or practical for most people.
There are also technical standards, like IEEE 802.11 (the main Wi-Fi standard), that describe how aggregation can be turned on during setup. But they do not talk much about changing it on the fly, or doing it just for some types of data and not others.
In short, older ways can either turn aggregation on or off when a device connects, but not while you are using the network. They might use workarounds to make things a little better, but they cannot switch quickly when you start a game or a video call. This leads to either too much delay for low latency apps, or wasted bandwidth for regular data.
The scientific reason for the new method is simple: treat different types of data in a way that fits their needs, and be able to switch instantly as those needs change. If you are streaming a movie, use big, efficient packets. If you are gaming, send each button press right away. The trick is to make the network smart enough to know when to switch and to do it without stopping the connection or needing user input.
This method uses tools already present in most devices—a wireless chip that handles the radio signals, and software that can talk to it. By adding a way for devices to “tell” the chip when to change how it sends data, and by making the network watch for signs that a low latency app is running, the system can update itself in real time.
This invention builds on the ideas of aggregation and QoS, but goes further by letting the network change its behavior on the fly, and by doing it for just the applications that need it. It does not require new hardware, special networks, or complicated setup. It just needs smarter software and a way for devices to talk to each other about what they need, when they need it.
Invention Description and Key Innovations
Now, let’s look at what this invention does and why it is better than older solutions.
The main idea is to let the wireless network turn data aggregation on or off at any time—and to do it just for the applications that need it. Here’s how it works in simple terms:
When a device (like your phone or computer) connects to a wireless access point (like your Wi-Fi router), they set up a normal connection. At first, aggregation is turned on, so the network is efficient for regular data.
But the system is always watching the data going over the network. It looks for signs that a low latency application is being used. This could be a video call, a game, or any app that needs fast responses. The system can tell by looking at things like where the data is going (the destination), how big the packets are, and how often they are sent.
As soon as the system sees that a low latency app is running, it sends a message to both the device and the access point: “Time to turn off aggregation for this data.” Both sides listen and update their wireless chips. Now, instead of waiting for big bundles of data, each small packet goes out right away. This cuts down delay and makes the app more responsive.
What if you are running both a low latency app and other things, like a big download? The system can be even smarter. It can turn off aggregation just for the low latency app, but keep it on for the other data. This way, you get the best of both worlds: fast responses for your game or call, and efficient use of the network for everything else.
When the low latency app stops (for example, you hang up the video call or finish your game), the system notices. It sends another message to the device and access point: “You can turn aggregation back on now.” The network goes back to its efficient mode, ready for the next time you need speed.
What makes this method special is that it does all this “on the fly.” You do not need to disconnect, reconnect, or change any settings. The network watches, decides, and updates itself in real time.
The system can work in several ways:
– It can turn aggregation off for all data when needed.
– It can turn aggregation off just for certain types of data (like video or game data).
– It can leave aggregation on for regular data, even while turning it off for low latency apps.
– It can turn aggregation back on as soon as the low latency app stops.
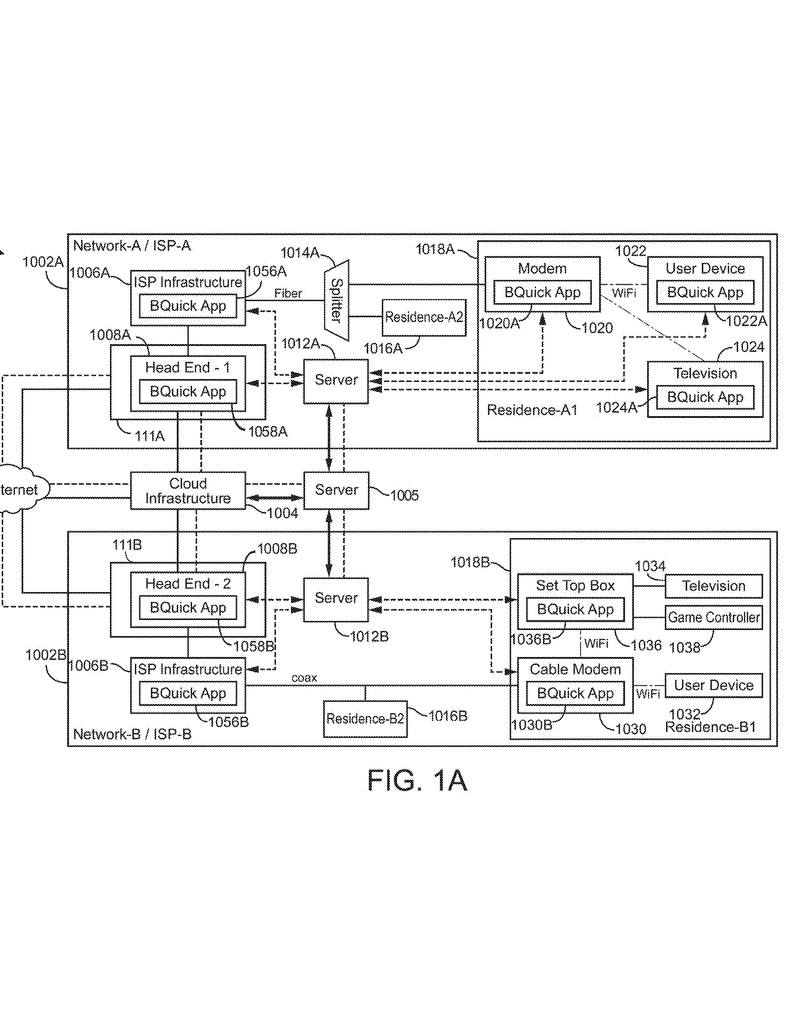
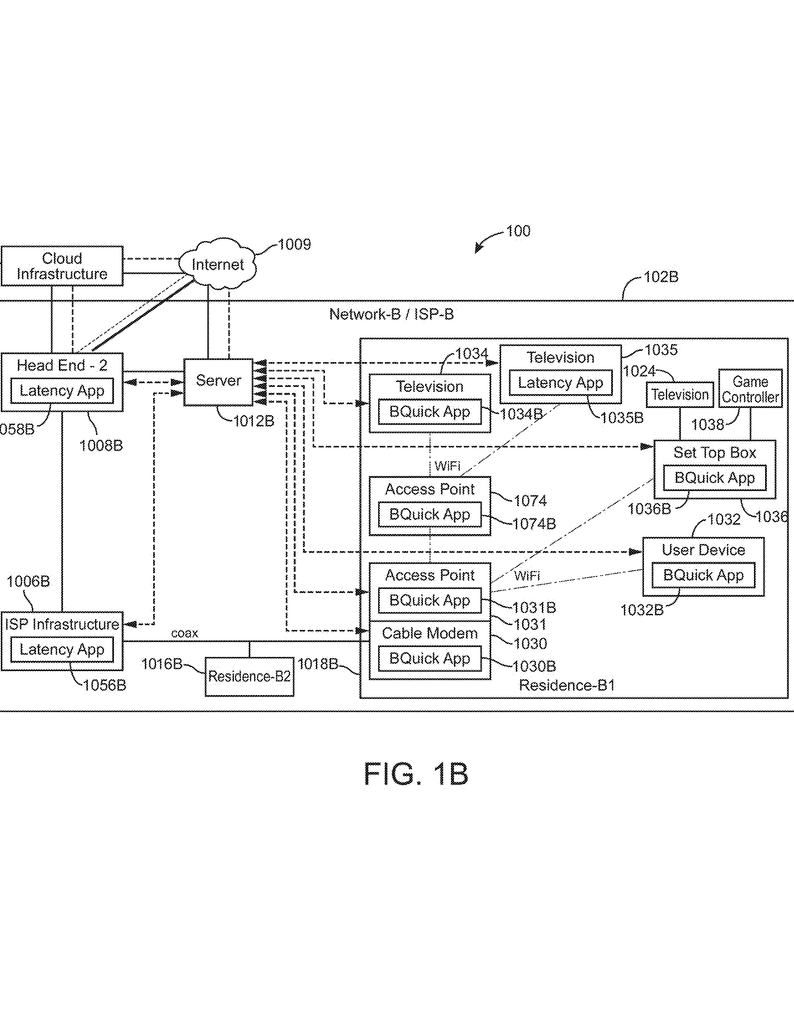
The invention uses the wireless chips already present in most access points and devices. These chips can be updated with software to accept commands to turn aggregation on or off. The system also uses “detectors” that watch data as it passes by, looking for signs of low latency apps. These detectors can be built into the router, the device, or even run in the cloud.
Another important part is that both sides (the access point and the device) need to agree on what to do. If only one side turns aggregation off, it will not work right. So, the system makes sure that both wireless chips are told at the same time, and both update their settings together.
This method can work for many different types of networks and devices. It can be used at home, in offices, or in public places like coffee shops or airports. It can also be managed by the internet provider, the device maker, or even by the user if they want.
Because the system is flexible, it can be used for new types of applications that may be invented in the future—like new ways to use virtual reality, smart cars that need to talk to each other, or even robots that work together using wireless networks.
In short, the key innovations are:
– The ability to switch aggregation on and off at any time during a connection
– The power to do this just for certain types of data, not for everything
– A way for devices and access points to talk to each other and agree on what to do
– A method to watch for when low latency apps start and stop, and to update the network instantly
– The use of regular wireless chips and software, so no special hardware is needed
– Compatibility with many types of networks, devices, and applications
From a user’s point of view, this means better video calls, smoother games, and faster responses from smart devices, all without any extra setup. For network operators and device makers, it means happier customers and a way to stand out in a crowded market.
Conclusion
Wireless networks are a huge part of modern life. As we use more low latency applications—like gaming, video calls, and virtual reality—the need for quick, reliable data grows. The new method described here gives wireless networks a way to adapt in real time, sending data in the best way for each type of application. By letting the network turn aggregation on or off whenever needed, and by doing it just for the data that needs it, this solution offers a big step forward over older ways. It works with existing hardware, can be managed by many different parties, and sets the stage for new, even faster wireless experiences in the future. The result is a better, smoother, and more enjoyable online world for everyone.
Click here https://ppubs.uspto.gov/pubwebapp/ and search 20250338171.




