Invented by KIM; Nam Ju, SAMSUNG SDI CO., LTD.
Modern gadgets, cars, and tools all rely on one thing: a long-lasting battery that will not overheat or fail. This article makes sense of a new patent that could reshape how these batteries work, last, and stay safe. Let’s break down why this invention matters and what makes it different from what came before.
Background and Market Context
Batteries are everywhere. We use them in our phones, laptops, electric cars, and even in power tools. As people want faster, longer-lasting, and safer batteries, companies work hard to make them better. But there’s a problem: as batteries get stronger, they also get more dangerous if something goes wrong. Sometimes, if a battery overheats or is damaged, it can catch fire or even explode.
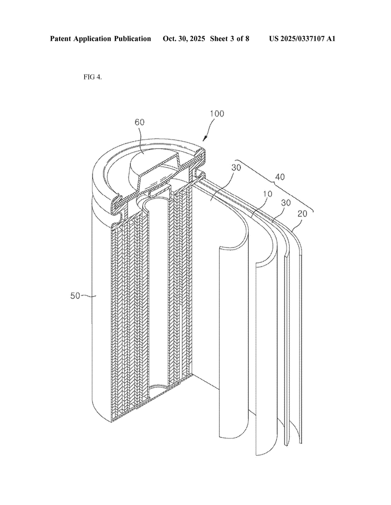
One of the most important parts inside a lithium battery is the separator. This is a thin layer that sits between the positive and negative sides inside the battery. Its job is simple but critical—it keeps the two sides from touching and causing a short circuit, while still letting tiny lithium ions pass through so the battery can work.
As batteries are used in more powerful devices, like electric cars, the need for better separators grows. The separator has to be tough enough to stand up to high heat, not shrink or melt easily, and allow electricity to flow quickly. If the separator fails, the battery can overheat and get damaged, which is dangerous and also shortens the battery’s life.
Right now, most separators are made from thin plastic films, usually polyethylene or polypropylene. Sometimes, a coating is added to make them stronger or more resistant to heat. But even with these coatings, problems can happen. The separator can still shrink at high temperatures, get clogged, or not stick well to the battery’s inner layers, which can lead to poor battery performance or safety issues.
As the demand for safer, longer-lasting, and higher-capacity batteries grows—especially in electric vehicles and large electronics—companies are racing to find new ways to make separators stronger, more heat-resistant, and more efficient. That’s where this new patent comes in. It offers a new way to make a separator that aims to solve some of the biggest problems facing today’s battery makers.
Scientific Rationale and Prior Art
For years, scientists and engineers have tried to make separators that are both strong and safe. Traditionally, separators were made from a thin sheet of plastic with tiny holes, called pores, that let lithium ions move between the battery’s positive and negative sides. But as batteries have become more powerful, the old ways of making separators don’t always keep up.
One big challenge is heat. When batteries are pushed hard—like in an electric car or a fast-charging phone—they can get very hot inside. If the separator shrinks or melts, it can let the two sides of the battery touch, which causes shorts, fires, or explosions. To stop this, some makers add a coating to the separator. Common coatings include ceramic particles, like alumina or boehmite, which are good at standing up to heat. But using these coatings brings its own set of problems.
First, the shape and size of the particles in the coating matter a lot. If the particles are too big or oddly shaped, they leave gaps or make the coating uneven. If they’re too small, they may clump together, blocking the pores and making it hard for ions to move. Scientists often use fillers like alumina, silica, or boehmite because they can handle heat, but getting the size and shape just right is tricky.
Second, the coating needs something to hold all the particles together and stick them to the separator. This is where binders come in. Binders are like glue—they keep the coating from falling apart and make sure it sticks where it’s supposed to. Traditional binders include polyvinylidene fluoride (PVDF) and other acrylic-based polymers. Each type of binder has its own strengths and weaknesses. PVDF is strong and sticks well, but sometimes it doesn’t spread well or can block the movement of ions. Acrylic-based binders are flexible and let ions move, but may not stick as well or may not handle heat as well as PVDF.
Many older patents tried to solve these problems by mixing different fillers and binders, or by tweaking the sizes of the particles. Some used plate-shaped fillers, others tried spheres, and some tried various blends of polymers. But these solutions didn’t always work. Sometimes the separator would still shrink under high heat, or it would not let enough lithium ions through, making the battery less powerful. In other cases, the coating didn’t stick well, leading to poor battery life or safety risks.
Another big issue was “membrane resistance”—how hard it is for ions to move through the separator. If resistance is too high, the battery can’t deliver power quickly. If the separator is too thick or too tightly packed, it slows down the ions. If it’s too thin or loosely packed, it could fail under heat or pressure.
So, the science community has long searched for a sweet spot: a separator that is thin, allows ions to move freely, is tough against heat, sticks well to the other battery parts, and can be easily made on a large scale. This is where the new patent stands out, by using a smart mix of binders and a unique cubic filler to solve these long-standing problems.
Invention Description and Key Innovations
This new patent introduces a separator with several unique features, all designed to make batteries safer, longer-lasting, and more powerful. Let’s break down the main parts and why they matter.
1. Porous Base: At the core, the separator uses a base full of tiny holes, made from strong plastics like polyethylene. These holes allow lithium ions to move back and forth between the battery’s sides, making sure the battery functions as it should.
2. Coating Layer: The real magic happens in the coating. On top of the porous base sits a special two-layer coating:
– The first layer is a heat-resistant layer. This is made from a special binder and a unique filler.
– On top of that is an adhesive layer that helps the separator stick tightly to the other battery parts.
3. (Meth)acryl-Based Binder: The binder in the heat-resistant layer is special. It’s made from three different chemical building blocks:
– The first comes from acrylic acid or similar compounds, which help everything stick together and increase heat resistance.
– The second is from hydroxyalkyl (meth)acrylate, which helps the mixture spread evenly and stick well.
– The third comes from (meth)acrylamido sulfonic acid or its salts, which helps ions move more easily and further boosts heat resistance.
By carefully choosing how much of each building block to use, the inventors found a way to make a binder that is both sticky and allows ions to move easily. This is a big improvement over older binders, which often forced a trade-off between stickiness and ion flow.
4. Cubic-Shaped Filler: Instead of using plate-shaped or round particles, this invention uses tiny cubic-shaped fillers, especially boehmite, with a very precise size (between 50 and 250 nanometers). The cubic shape allows the particles to pack tightly together, leaving very few gaps. This means the coating is denser, stronger, and less likely to shrink or break apart under heat. Denser packing also helps maintain the separator’s strength while still letting ions pass through easily.
5. Fluorine-Based Adhesive Binder: The adhesive layer on top uses a binder with special chemical groups—carboxylic acid or hydroxy groups—built into a fluorine-rich polymer (like PVDF). This makes the separator stick tightly to the battery’s electrodes, even when wet. The strong bond makes the battery more durable and less likely to fail due to layers peeling apart.
6. Optimized Ratios and Thicknesses: The inventors found that using the (meth)acryl-based binder and filler in a ratio between 1:10 and 1:50 gives the best results. The total thickness of the coating is kept between 0.1 and 1.5 micrometers—thin enough to allow fast ion movement, but thick enough to provide heat resistance and mechanical strength.
7. Performance Improvements: Testing shows that separators made using this patent have very low membrane resistance (under 1 ohm), meaning batteries can deliver power quickly. They also have low shrinkage even at 200°C, making them very safe. The adhesive strength to the electrodes is high, and air can still pass through the separator easily, which is important for battery performance.
8. Manufacturing Process: The patent outlines a method that uses simple water-based mixing and common coating techniques, making it easier to produce these separators at scale. The binders can be made by solution polymerization, and the fillers can be mixed and milled using standard bead mills. This means the invention isn’t just a lab trick—it’s ready for real-world factories.
9. Broad Application: While the patent describes examples using specific binders and boehmite fillers, the approach can work with a range of similar chemicals and particles. This flexibility means battery makers can tweak the formula to fit different needs, whether for small phone batteries or big car batteries.
10. Comparative Results: The inventors compared their separators to older versions. When using plate-shaped fillers or different binders, shrinkage and resistance were higher, and the coating was less uniform. Only the combination of cubic fillers and the new binder mix gave the best results for strength, safety, and performance.
Conclusion
This new separator design marks a meaningful leap forward for lithium battery safety and performance. By carefully combining a unique cubic filler with a smart three-part binder and a strong adhesive, the inventors have solved many of the problems that held back older battery designs. The result is a separator that can withstand high heat, allows for fast charging and discharging, and helps batteries last longer and work more safely—benefits that can make a real difference for everything from cell phones to electric cars.
As battery technology continues to evolve, innovations like this will be key to powering the future. Whether you’re a battery maker, an engineer, or just someone who wants your devices to last longer and stay safe, this patent points the way to a smarter, safer, and more reliable battery world.
Click here https://ppubs.uspto.gov/pubwebapp/ and search 20250337107.




