Invented by DOHERTY; Maxwell, HARICHANDRAN; Vikram Sandhu, Axiom Technologies LLC
In this article, we break down a recent patent application focused on trust mapping for computer systems. We will explore how it addresses the challenges in documenting system security, how it stands apart from existing methods, and what makes this invention unique and important for today’s rapidly changing technology world. Let’s start by looking at why this technology matters now.
Background and Market Context
Today, computer systems run everything from banks to hospitals and even your favorite video games. These systems are made up of many smaller pieces, or components, like servers, storage, software tools, and networks. For these systems to work well and stay safe from hackers, it’s important to know how these pieces connect and trust each other. This trust is not just about people; it’s about how one part of a system checks and relies on another. If one part is weak or not checked well enough, it can put the whole system at risk.
Right now, companies use different ways to show how their systems work. Some use fancy charts, others use big documents filled with tech words, and some just use marketing slides. But these are not always clear or easy to compare. This makes it hard to spot where risks might hide, especially for people who are not tech experts. It also means that when a problem happens, it can be tough to find the real cause and fix it fast.
With the huge growth of cloud tools, software pipelines, and remote work, the need for clear, honest, and simple system maps has never been higher. Security teams must keep track of many different parts, such as developer laptops, cloud tools, databases, and special security servers. If a hacker breaks into one part, they might use it to attack other parts. So, knowing exactly how trust moves between these parts is very important.
The business world also faces pressure from new rules that require them to prove they understand their risks and are taking steps to stay safe. Investors, customers, and regulators all want proof that companies are not just talking about security—they are doing it. This means there is a strong need for tools that can show, in a clear and organized way, how trust and risk flow through a system.
In short, the market is hungry for better ways to map out, understand, and manage trust and risk in computer systems. The old ways are not enough for the complex, fast-moving world we live in. This is why the patent application we are looking at is so important. It offers a new, clearer way to see and fix the real security risks hiding in modern computer systems.
Scientific Rationale and Prior Art
Before this patent, people tried to map out computer systems using things like diagrams, lists, and graphs. Some used special languages to describe how data moves or how parts are connected. Others tried to use “ontologies,” which are like big dictionaries that explain what each part is and how it relates to others. Still, these methods often fell short.
The main problem was that these tools did not really focus on trust. They might show what talks to what, or who made what, but not who trusts whom, or how that trust is checked. Many times, these maps mixed up simple explanations for business people with complex details for engineers, making them hard to use for anyone. Also, different companies used different words, making it impossible to compare one system to another. This confusion could lead to picking the wrong security tool or missing a weak spot hidden deep in the system.
Another problem was that these maps did not show the root causes of risk. They often showed only the surface problems, like a weak password or an old piece of software. But they did not help find the hidden paths that hackers could use to move from one part of the system to another. This meant companies were always playing catch-up, fixing one problem at a time, but never seeing the big picture.
Modern security teams use methods like continuous integration and deployment (CI/CD) pipelines, and tools that check software for bugs or weak spots. These help, but they mostly look at the end results, not the roots. So, while the surface might look safe, the deep connections between parts—and the trust relationships—stay hidden and often unexamined.
Some tools tried to help by automatically drawing network maps or finding all the software used in a system. These are useful, but they still do not solve the key problem: showing, in a clear and standard way, how trust moves, how it is checked, and where it might break down. Without this, companies cannot really understand or fix systemic risks—the risks that can spread from one part of the system to the whole thing.
The patent application we are discussing saw these problems and aimed to fix them. It does this by creating a step-by-step way to map out not just what is in a system, but who trusts whom, how that trust is verified, and how risks can move through the system. It also gives a way to group, label, and organize these parts so that both business and technical people can understand and use the map.
This approach is new because it focuses on mapping trust itself, not just connections, and uses this map to spot and fix the roots of security risks. It also includes ways to keep sensitive details private when sharing these maps, which is important for companies that don’t want to reveal all their secrets. In this way, it goes beyond the old tools and gives a much deeper, more useful picture of where risks really live in a computer system.
Invention Description and Key Innovations
The heart of this invention is a new method for mapping trust in computer systems. It is not just about drawing pretty pictures. It is about understanding, step by step, how each part of a system trusts another, how that trust is checked, and what happens if that trust is broken. Let’s walk through how this works and what makes it special.
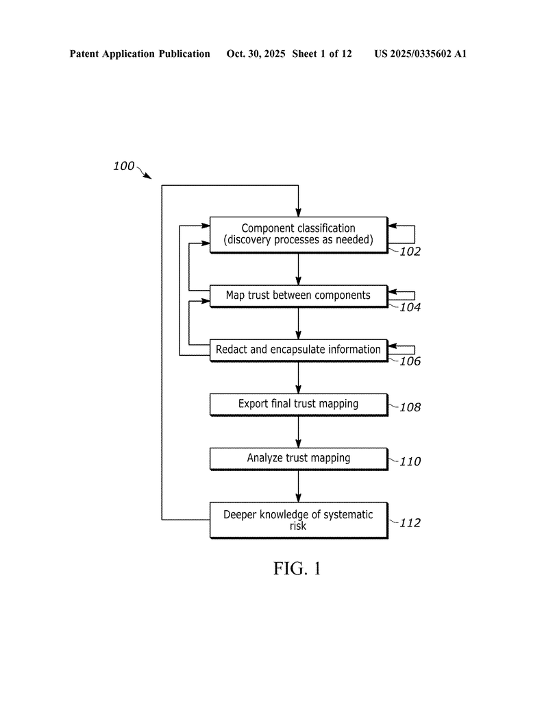
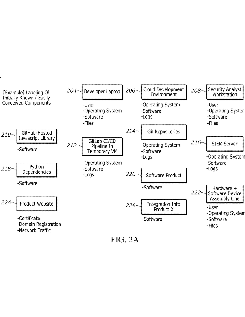
First, the method starts by finding and labeling all the parts of a computer system. This could be a server, a laptop, a software program, or even a cloud tool like a code repository. Each part is given a clear name and grouped by how it is used or where it sits in the system. For example, developer laptops might be in one group, cloud servers in another, and security tools in a third. This makes sure nothing is missed and that each part is easy to find and talk about.
Next, the core innovation kicks in: for every pair of parts, the method figures out if one part trusts the other, and how. It gives clear roles: one part is the “trustor” (the one giving trust), and the other is the “trustee” (the one receiving trust). It also records the exact way this trust is checked, such as using a password, a digital certificate, a secure connection, or even a special handshake. If both parts check each other, this is marked clearly. This step-by-step mapping shows not only what connects, but how and why those connections are trusted.
The trust map is then put together as a file or a spreadsheet. This makes it easy to share, look at, or even use with other software tools. The map can also be shown as a visual diagram, with arrows and boxes, making it simple for anyone to follow. If the map has sensitive information (like secret names or details about protected software), the method allows this information to be hidden or grouped into safe containers. This keeps company secrets safe while still allowing people to see the big picture.
Once the trust map is ready, it is used to look for security risks. The method helps find not just the obvious problems, but also the hidden ones that come from how trust is given and checked. If a risk is found—say, one part trusts another without a good check—the method guides users on what to do. They might patch the root problem, change a policy, move the risk to a safer part, or keep an eye on it. Every action is based on the clear, detailed map, making sure nothing is missed.
What sets this invention apart is how it makes trust visible, actionable, and manageable. For instance, it works with all kinds of systems and parts, from laptops and cloud servers to special security tools and APIs. It handles many ways of checking trust, such as using secure tokens, certificates, or even fingerprint checks. The map can be updated as the system changes, keeping security fresh and up to date.
A special example is how this method helps with Privileged Access Managers (PAM). These are tools that control the most powerful accounts in a system. If a PAM is not mapped and watched closely, it can become a weak spot that puts the whole system at risk. By mapping out exactly how the PAM fits into the trust web, and making sure its trust links are strong and separate from others, this invention stops hackers from taking over everything if they break into one part.
Another key innovation is the ability to hide or group information when needed. If a company wants to share the map with a partner but not show every secret, they can “redact” or wrap up details safely. This balances transparency with privacy, something older tools could not do well.
Finally, the method is not just for experts. Because it uses clear labels, organized groups, and easy-to-read diagrams or tables, both business leaders and technical teams can understand and use the map. This helps everyone work together to make better decisions and keep the whole system safe.
In summary, this invention gives companies a new, powerful way to see, understand, and manage trust in their computer systems. It replaces guesswork and patchwork fixes with a clear, organized, and actionable plan. It helps stop risks before they spread, keeps secrets safe, and makes security a team effort, not just an IT problem.
Conclusion
The patent application discussed here offers a major step forward in how we understand and manage trust and risk in computer systems. It tackles real-world problems that old tools could not solve, like unclear system maps, hidden risks, and the challenge of sharing security information safely. By focusing on trust relationships—how, where, and why they exist—it gives both technical and non-technical people the power to see their systems clearly and act before small problems become big disasters.
In a world where computer systems are only becoming more complex, and where the stakes for security are higher than ever, this approach to trust mapping is not just helpful—it is essential. Companies that use these methods can expect to catch risks sooner, fix problems faster, and show customers and regulators that they take security seriously. As technology keeps changing, having a clear, living map of trust relationships will be a key part of staying one step ahead of threats and keeping systems, data, and people safe.
Click here https://ppubs.uspto.gov/pubwebapp/ and search 20250335602.




