Invented by RANNOU; Damien
Deploying and managing servers and switches in a data center has always been a challenge. With more businesses using cloud, edge, and hybrid IT, the need for fast, secure, and error-free setup is more important than ever. The patent application we explore here introduces a new way to automate the deployment of computing infrastructure, focusing on security, speed, and reliability. Let’s break down what this technology does, why it matters, and how it stands out from what came before.
Background and Market Context
The world today runs on data. From small offices to big corporations, everyone needs to store, process, and move digital information quickly and safely. This has made data centers—the buildings full of computers and network equipment—vital to almost every sector, including healthcare, banking, government, and retail.
But building and running a data center is not simple. Traditionally, setting up servers and network switches required lots of manual steps. Engineers had to plug in cables, type in settings, check connections, and double-check everything. This was slow, costly, and open to mistakes. Even a small error could lead to hours of downtime or security risks.
As businesses grew, so did the demand for more flexible and scalable solutions. Companies began to lease parts of data centers, or even full racks of servers, to meet spikes in demand. This shift brought its own problems—how do you quickly set up new servers for a customer? How do you make sure every server is secure and only runs trusted software? How do you keep track of all the hardware and who is using it?
To solve some of these problems, big companies offered their own solutions. Cisco’s Application Policy Infrastructure Controller helped automate some network tasks, but it needed a lot of hardware and was not a good fit for new or small deployments. OpenStack Ironic, an open-source tool, helped manage physical servers, but required a working system before you could use it. Microsoft Azure Stack and Google also offered data center tools, but these needed manual setup first, or had limits in how much of the network they could control.
In short, most existing solutions either needed a lot of manual setup, were too complex, or could not cover the whole process from “empty rack” to fully working system. They also often ignored security at the deepest level—making sure only trusted software ever runs on a server from the very first boot. Security threats, including malware and unauthorized access, remain real dangers in shared and remote data centers.
As a result, organizations have been looking for a simpler, more automated, and more secure way to set up and manage their data center infrastructure—one that can work on bare-metal (physical) servers with little or no manual work, and that can protect the system at every step.
Scientific Rationale and Prior Art
To understand the new approach, it helps to know what has already been tried, and why it was not enough.
Manual provisioning was the norm for a long time. Engineers would physically install servers, connect them to switches, assign addresses, and configure system settings. This method is slow and risks human error. It also makes scaling up (adding more servers quickly) very hard.
Some software solutions tried to make things easier. Tools like Cisco APIC and OpenStack Ironic brought automation, but with limits. Cisco APIC needed three controllers, which meant extra cost and complexity. It also couldn’t discover all types of servers easily, especially “bare-metal” machines (the ones without any software installed yet). OpenStack Ironic helped with bare-metal, but only once the network and basic systems were already in place. In other words, you couldn’t use it to turn a new, empty data center into a working one—it needed things to already be partly set up.
Other solutions, like Microsoft Azure Stack or Google’s on-premises products, required a lot of manual work before they could take over. They couldn’t manage the initial setup of the physical network devices. VMware and Broadcom focused on managing virtual machines, not the hardware or the network switches themselves.
Security was another challenge. Many systems focused on making deployment faster, but did not verify that only trusted software and operating systems were loaded. That meant a server could be hijacked, or could run unwanted or harmful code. Encrypting data at rest was possible, but often required separate, manual processes. If a server was compromised, sensitive data could be at risk.
Other problems included:
– Lack of a central inventory for all devices. Knowing what hardware is installed, where it is, and its state was hard.
– No easy way to manage network addresses (like IPs) automatically, leading to conflicts or gaps.
– No way to automate the process of discovering and onboarding new hardware—every new server meant a manual process.
– Difficulty in scaling across multiple sites or running “distributed” data centers under one control system.
In short, while some tools made things easier, none could deliver a fully automated, secure, and error-free experience from the first server rack onwards. The need was clear: a system that can start with bare hardware, set up everything needed, keep track of every device and setting, and make sure only trusted software ever runs.
Invention Description and Key Innovations
The patent application introduces a new way to automate the deployment and management of computing infrastructure, especially for data centers. Its main goal is to turn bare-metal servers and switches into a working, secure system with almost no manual work. Let’s break down how it works and why it’s special.
1. Central Brain: The Configuration Management Database (CMDB)
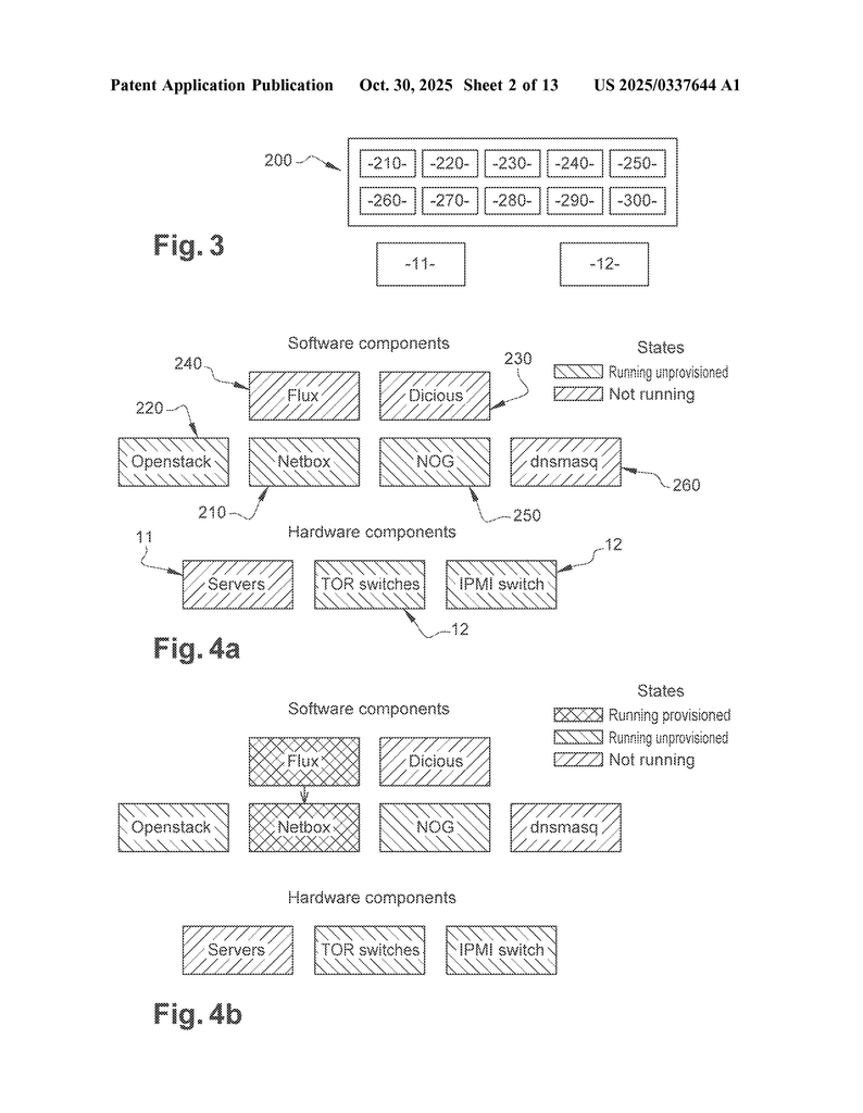
At the heart of the system is a software module called the Configuration Management Database, or CMDB. Think of this as the master list for everything in your data center. It knows what servers and switches you have, their addresses, what software they should run, and how they should be set up. When you add a new server or switch, you tell the CMDB, and it takes care of making sure everything works together.
2. Automated Deployment Module
Next is the deployment module. This is the robot that takes instructions from the CMDB and does the actual work—installing software, setting up the network, and making sure everything is talking to each other. If you need to add a new server, the deployment module finds it, gives it an address, loads the right software, and updates the central database.
3. Communication and Configuration Modules
To connect all the pieces, the system uses a communication module. This makes sure the CMDB and deployment module can talk to each other, and also manages how new servers get their initial network settings (using DHCP). The configuration module helps initialize everything, calculating the right addresses and setting up the switches and other devices with the right info.
4. Network Operations Gateway (NOG)
This part of the system acts as the pilot for the network switches. It takes settings from the CMDB and applies them to the switches automatically. No need to log in and type commands by hand—NOG does it for you, making sure the whole network is set up correctly and securely.
5. Secure Boot and Key Management
One of the smartest features is how the system handles security. Every time a server boots up, it checks a series of digital signatures—like secret stamps—to make sure only approved software is loaded. The server management module checks the bootloader, the operating system kernel, and every module that will run. If any part is not signed and approved, the system will not load it. This is all managed by a key management module, which holds the digital signatures and encryption keys in a secure way. This means that even if someone tries to sneak in bad code, it won’t run.
6. Self-Encrypting Drives and Encryption Automation
The system also supports self-encrypting drives. Each server or disk can have its own unique encryption key, kept safe by the key management module. This process is fully automated—the encryption is transparent to the operating system. If a server is recycled or deleted, the keys can be wiped and new ones assigned, making sure no old data can be accessed.
7. Dynamic Discovery and Quarantine
When a new server is plugged in, the system can discover it automatically. It powers the server off, sets up a special isolated network (VLAN), and then powers the server on to analyze its hardware. The server reports what it finds to the deployment module, which updates the CMDB. Once the server is ready, it can be moved out of the discovery network and put to use. If the server is deleted, the process resets, keeping everything up to date.
8. Automated IP Address Management
The system can calculate and assign all network addresses ahead of time, based on simple rules. This avoids conflicts and makes it easy to add or move devices. The central database keeps track of which addresses are in use and which are free, and can update devices as needed automatically.
9. Distributed and Multi-Controller Support
For large or spread-out data centers, the system can manage multiple sites together. Each site can have its own controllers that share information through the communication module. This means you can grow your infrastructure or handle failures without extra complexity.
10. Flexible and Open Design
The system supports switches from different manufacturers, making it easier to mix and match hardware or use what you already have. It also supports creating and managing virtual networks, firewalls, load balancers, and more—all from the same interface.
11. Security and Auditing Features
Beyond just boot security and encryption, the system can log every action, monitor performance, and audit changes. This gives administrators full visibility into what is happening, helps meet compliance needs, and makes troubleshooting much easier.
12. Minimal Manual Work, Maximum Reliability
The whole process is designed to take away as many manual steps as possible. From the first time you power up a server, the system can handle everything—setting up, checking, encrypting, and securing—without a technician needing to intervene. This reduces errors, speeds up deployment, and keeps the system much more secure.
Real-World Example Workflow
Imagine you want to add a new rack of servers to your data center. Here’s how it works with this system:
– You connect the new servers and switches.
– The configuration module calculates needed addresses and settings.
– The CMDB is updated with the new devices.
– The deployment module finds the new servers, assigns them addresses, and starts the discovery process.
– Each server boots up, checks its digital signatures, and only runs approved software.
– The NOG configures the switches automatically.
– The key management module handles all encryption keys and ensures only signed software runs.
– The process is logged and monitored at every step.
– If a server is deleted, the same system wipes its keys and updates the database.
What Sets This Invention Apart?
– Full automation from bare hardware to working system.
– Security built in, not bolted on later. Every server is checked on every boot. Only trusted code ever runs.
– Centralized but flexible control. The CMDB and other modules coordinate everything, but can also support distributed deployments.
– No manual network setup needed. The system configures switches, calculates addresses, and manages VLANs without human error.
– Easy to scale and adapt. Add new servers or switches, expand to new sites, or change network settings—all with minimal effort.
– Works with different hardware. You are not locked into one vendor.
– Strong auditing and reporting. You always know what’s running, what has changed, and where issues may be.
This approach overcomes the key limits of existing tools, providing a unified, secure, and truly automated way to manage modern data centers.
Conclusion
The patent application presents a new way to automate the deployment and management of servers and switches in any data center. By combining a central database, automated deployment, secure boot, and encryption, it removes nearly all manual steps and all but eliminates the chance for errors or security flaws. It covers every stage, from discovering new hardware to making sure only trusted software ever runs, and keeps a full inventory and audit of every change.
For organizations needing to scale fast, stay secure, and reduce operating costs, this technology represents a big leap forward. It is flexible, vendor-neutral, and built with both speed and safety in mind. As data centers continue to grow in size and complexity, having a system like this will be essential—not just for convenience, but for the security and trust of our digital world.
Click here https://ppubs.uspto.gov/pubwebapp/ and search 20250337644.




