Invented by Oudenhoven; Michael J, Lau; Brian S, Cohen; Leah

Eye-tracking technology is changing how we interact with machines, see the world, and even how we help people with special needs. A new patent application describes a smart glasses system with a unique camera setup for tracking where your eyes are looking. In this article, we’ll break down the invention, explain the science behind it, and show why it matters in the real world.
Background and Market Context
Eye-tracking sounds futuristic, but it’s already all around us. You may have seen it in gaming headsets, research labs, or even in some advanced cars. But most of these systems have a problem: they need bulky cameras or special screens, and often don’t fit well into everyday glasses. This makes them hard to wear for long periods, and can even block your view.
The market for smart glasses and wearable devices is booming. Big companies are racing to add more features to glasses, from augmented reality (AR) to health tracking. But one feature that has remained tricky is eye-tracking. It’s not enough to just add a camera; you need to know exactly where someone is looking without making them feel uncomfortable or distracting them. If eye-tracking is done right, it can open the door to new ways of controlling devices, helping people with disabilities, and even making advertising smarter.
Most people want something that feels just like regular glasses. They don’t want extra weight on their nose or frames that look strange. They want to be able to switch lenses, add prescription lenses, or change nose pads for comfort. They want to wear these devices all day, indoors and outdoors. Companies have tried to solve this, but cameras are still too big, heavy, or placed in ways that block part of the lens.
This patent application comes at a time when everyone is looking for the next step in smart eyewear. It describes a way to add eye-tracking to glasses in such a way that the camera is almost invisible to the wearer. The camera sits near the nose bridge, tucked out of the way, but still close enough to the eye to track movement with great accuracy. It also allows for lightweight parts and batteries that don’t make the glasses feel heavy or unbalanced.

If successful, this technology could change how we use glasses in everyday life. Imagine glasses that know where you are looking, and use that information to control your phone, computer, or even home appliances. It could help doctors diagnose vision problems, or advertisers see what catches your eye. The possibilities are endless, but only if the technology is comfortable, easy to use, and blends in with normal glasses.
Scientific Rationale and Prior Art
To understand why this invention is important, let’s talk about how eye-tracking works and what has been tried before.
Eye-tracking measures where your eyes are looking, usually by taking pictures of your eyes and analyzing the images. The most important part of your eye for this is the “fovea,” a tiny spot on the retina where you see things most clearly. The trick is to figure out exactly where the fovea is pointed. To do this, a camera looks at your eye and tracks features like the pupil and cornea. Some systems use visible light, while others use invisible infrared light, which makes it easier to tell where the pupil is without bothering the wearer.
In the past, most eye-tracking systems were big and expensive. Some had cameras that sat right in front of your eye, blocking part of your view. Others put cameras on the sides of glasses, but then eyelashes or the frame got in the way. Some systems used special screens or mirrors, but these made glasses heavy and bulky. Many systems required big batteries and wires, making them uncomfortable.
Scientists and engineers have tried to make cameras smaller, lighter, and smarter. Some have tried putting cameras near the nose bridge, but often this space is too small, or the angle is wrong for tracking both eyes. Others have used multiple cameras to get a better view, but this adds to the weight and cost.
Another challenge is calibration. Everyone’s face is different, so the system has to adjust for different eye shapes, nose sizes, and how the glasses sit on your face. Some systems require you to look at dots on a screen to calibrate, which can be annoying or hard to do for some people.

To solve these problems, past inventions tried different camera placements, lighter materials, and new ways to mount electronics. Some added swappable nose pads or arms, but not in a way that made the camera work better. Others added sensors or processors, but these often made the glasses heavier or more noticeable.
What makes the new patent application stand out is how it brings together all these ideas. It puts the camera on a small, removable platform near the nose bridge, right where it can see the eye without blocking your view. The electronics are built into the frame, especially in the nose bridge, keeping things balanced and comfortable. The system also allows for easy swapping of nose pads and even the platform itself, making calibration easier and improving comfort. The use of infrared cameras and careful angle placement means the system can track your eyes accurately without getting in your way.
In summary, while the science of eye-tracking is well known, previous attempts to put it into everyday glasses have not solved the problems of comfort, accuracy, and unobtrusiveness all at once. This patent tries to do just that, using smart engineering and careful placement of cameras and electronics.
Invention Description and Key Innovations
Now let’s look closely at what this patent application actually describes and what makes it special.
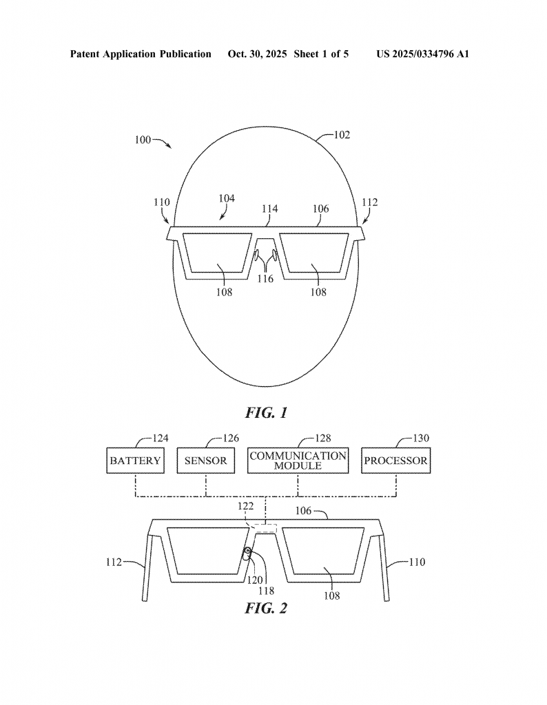
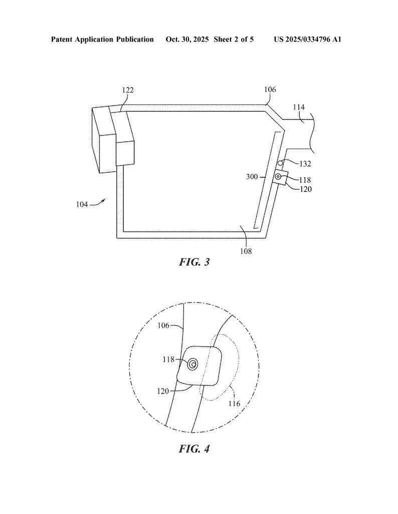
At the heart of the invention is a pair of glasses—think of your regular eyeglasses, but with some clever technology hidden inside. The glasses have a frame with two arms (that sit over your ears), a lens frame with a nose bridge, and a spot for lenses. But here’s where things get interesting: there’s a small platform that sticks out from the frame near the nose bridge, and on this platform sits a tiny camera.
The camera is placed right in the nasal region, close to the eye but not in your line of sight. It looks at your eye from the side, which helps it see the whole eye without being blocked by eyelashes or the frame. This position also means the camera can work even if you have thick or strong prescription lenses, because it sits closer to the eye than the lens itself.

Inside the frame, especially in the nose bridge, there are electronic parts: a battery to power the system, a processor to analyze images from the camera, a communication module for talking to other devices (like your phone or computer), and maybe other sensors like light sensors. All these parts are small and lightweight, so they don’t make the glasses feel heavy or unbalanced.
The camera itself can be an infrared camera, which is good for seeing the pupil clearly without shining visible light into your eyes. It can be set at just the right angle—between about 30 and 50 degrees horizontally, and between 0 and 30 degrees vertically—to get the best view of your eye. The camera has enough resolution (between 320 and 640 pixels) and a lens size (2 to 4 mm) to capture clear images for eye-tracking, but is still small enough to be unobtrusive.
One of the clever parts of the design is that the platform holding the camera can be removed or swapped. This means if you want to change the camera, fix it, or adjust its position, you can do so easily. The nose pads are also swappable, with options for snaps, magnets, or clamps, so you can find the most comfortable fit. This helps with calibration, because everyone’s face is different. If you need a different nose pad to make the camera line up with your eye, you can just swap it out.
The processor inside the frame takes the images from the camera and figures out where you are looking—the “gaze point.” It can also look at other properties of your eye, like how wide your pupil is or how your eye moves. This information can be used for all sorts of things: controlling a computer, interacting with AR content, helping people with limited mobility, or even making avatars in virtual reality look more lifelike.
The system can have more than one camera, with the option for a second camera on the other side of the nose bridge. This helps track both eyes, or gives a better view if one camera is blocked. The cameras and processor work together to make sure tracking stays accurate even if you move your head.
Calibration is made easier by the design. You can swap out nose pads or platforms to get the best fit, and the system can use special software to match the camera’s view to your eyes. This could mean looking at dots on a screen or just wearing the glasses while the system learns your habits.
All of this is hidden inside a frame that looks and feels like regular glasses. You can add prescription lenses, sunglasses, or other lens types. The system is made to be light, balanced, and stylish, so you can wear it all day without discomfort.
In summary, the key innovations of this invention are:
– A small camera placed on a removable platform near the nose bridge, close to the eye but out of sight.
– Lightweight electronics built into the frame, especially in the nose bridge, for balance.
– Swappable nose pads and platforms for comfort and easy calibration.
– Smart use of infrared cameras and careful angle placement for accurate eye-tracking.
– Support for prescription lenses and other lens types.
– Ability to add more cameras or sensors as needed, all without making the glasses bulky or uncomfortable.
This design solves many of the problems that have held back eye-tracking in wearable devices. It makes it possible to have smart glasses that look, feel, and work like regular glasses, but with powerful new features.
Conclusion
Eye-tracking has the potential to change how we interact with technology, but only if it can be built into devices that people actually want to wear. This patent application describes a smart way to put cameras and electronics into regular-looking glasses, solving many of the problems that have made earlier attempts uncomfortable or impractical. By using a small camera on a removable platform near the nose bridge, lightweight electronics in the frame, and swappable parts for comfort and calibration, this invention brings us closer to everyday glasses with built-in eye-tracking.
If this technology reaches the market, it could mean smarter devices, easier ways to control computers, better help for people with disabilities, and many new applications we haven’t even thought of yet. Most importantly, it shows that the best technology disappears into the background, letting us see the world—not the device.
Click here https://ppubs.uspto.gov/pubwebapp/ and search 20250334796.
