Invented by Arroyo Palacios; Jorge, Osman; Steven, Ahsen; Tooba

Technology is changing the way we read. Today, a new patent application describes a system that adapts on-screen text in real time based on how a person’s eyes move as they read. This blog post will help you understand why this matters, what science and past inventions made it possible, and what exactly is new and exciting about this patent.
Background and Market Context
Reading is something we all do, but everyone does it a little differently. Some people speed-read and skim. Some take it slow, fixating on tricky words. Children, language learners, and people with dyslexia may all face special challenges. The way we interact with text on screens has been mostly the same for years. E-readers, tablets, and computers show us words in a fixed way. If you have trouble, you manually adjust font sizes or look up words. Even with “night mode” or adjustable fonts, the changes are generic, not personal.
But what if your device knew how you were reading? Imagine your screen sensing when you squint, get stuck, go back, or even doze off. What if it could help without you lifting a finger? That’s the promise of this new invention: a reading device that adapts the text and the way it’s displayed, just for you, in real time, using cameras and smart software.
Where does this fit in today’s world? Digital reading is everywhere—e-books, online articles, textbooks, and apps. Schools are moving to tablets. Many people read on their phones. Accessibility is a big deal. More than 10% of people worldwide have some form of reading difficulty, and millions are learning new languages. The market for “assistive technology” is growing fast, with tools for dyslexia, vision problems, and learning disabilities in high demand. Meanwhile, companies want their content to be readable by the widest possible audience.
Right now, most solutions are one-size-fits-all. Readers have to dig into settings, or use outside tools, to get help. Some apps can read text out loud, or let you change the font. But these features don’t know how well you’re doing. They don’t change based on your behavior. The user must decide what they need, often interrupting the reading flow.
This is where the new patent stands out. It uses a built-in camera to watch your eyes as you read. If you struggle, it helps instantly—making text bigger, explaining words, or even switching to audio. It can repeat text you miss, make lines pop out, or offer images if you focus on pictures more than words. This kind of smart, personal touch could make reading easier, faster, and more enjoyable for everyone.

The invention fits perfectly into a world where devices are getting smarter. Phones, tablets, and computers already have cameras and powerful processors. Machine learning is everywhere—from voice assistants to face unlock. This patent brings those trends together, pointing to a future where reading is no longer passive, but interactive and personal.
Scientific Rationale and Prior Art
Let’s break down the science and history behind this idea. Understanding how people read is a field called “eye tracking.” For years, researchers have used cameras to track where a person is looking on a page or screen. They measure things like gaze position (where your eyes are aimed), how long you look at a word, how often you blink, and if your eyes dart back to re-read something. These clues tell a lot about what’s happening in the reader’s mind—if they’re confused, bored, or engaged.
Early eye tracking was used mostly in labs, with big, expensive equipment. Over time, it moved into consumer products, like gaming headsets, marketing research, or advanced reading tools for people with disabilities. Some software can analyze eye movements to see if ads are being noticed, or how people look at websites. There are also specialized tools for teachers to track how students read, but these are rare and not integrated with everyday devices.
In the world of reading aids, we have seen apps that let you change font size, background color, or switch to “read aloud.” E-books can offer dictionaries or translations if you tap a word. Some dyslexia-friendly tools swap fonts or add color overlays. But all these need the user to request help. The device doesn’t “know” if you’re struggling.
A few inventions have tried to use sensors to help readers. Some e-readers can dim the screen if you’re not looking. A few research projects have made “gaze-based” controls, letting users turn pages or highlight text with their eyes. But these features are basic and not widely used. They don’t truly adapt the text in response to your reading behavior.
The real breakthrough in this patent comes from combining three things:
- Real-time eye tracking using a standard camera (not special hardware).
- Machine learning (ML) models trained to understand complex patterns in eye movement—squinting, re-reading, skipping, or losing track.
- Automatic, personalized changes to both the text and the display based on what the ML model thinks you need.

Past inventions have not gone this far. Most only collect eye data or offer fixed settings. None have truly connected the dots: seeing how you read, understanding what you need, and changing the reading experience instantly.
Machine learning is key here. Instead of using simple rules (“if user squints, make text bigger”), the system can learn from lots of reading sessions. It can spot patterns human designers might miss. For example, it can notice if a user always gets stuck on certain words, or if they tend to lose their place after a few lines. Over time, it gets better at guessing what help will work best for each reader. The patent allows for both rules-based and ML-based approaches, but the ML route is much more powerful.
So, while the building blocks—eye tracking, ML, and adaptive displays—have all existed, this invention puts them together in a new, smart way. It’s the first to create a loop: camera watches your eyes, ML figures out your need, and the device responds right away to make reading easier.
Invention Description and Key Innovations
Now let’s get into the heart of the invention. How does it work? What makes it special?
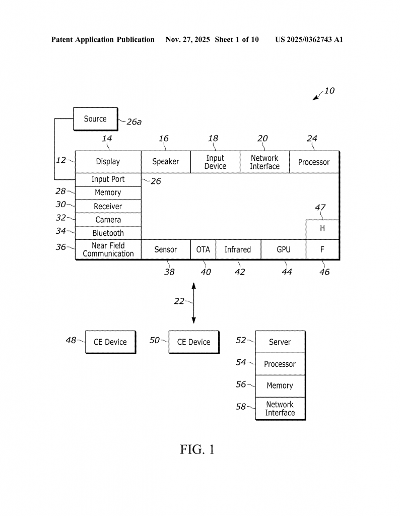
At its core, the system includes a device—like a tablet, computer, or e-reader—with a camera and a processor. As you read, the camera takes pictures of your eyes. The processor uses smart software (sometimes a machine learning model) to analyze the images. It figures out where you’re looking, how long you spend on words, if you squint, blink a lot, or reread lines. Using this data, the system changes the text or display to help you read better.
Here’s what the system can do:

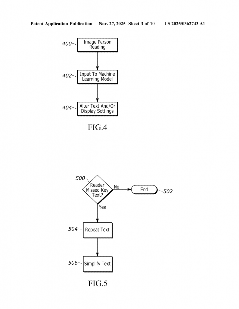
If you miss words or lines, the device can repeat them later so you don’t miss important info. If you squint or seem to have trouble seeing, it makes the text bigger. If you go back and reread a word, the device can show you its meaning, a translation, or even how to pronounce it. This is great for kids, language learners, and anyone who stumbles on new words.
If the system sees you read faster with one font over another, it can switch fonts for you. For example, if you read better in a simple font, it will use that. If you lose track of your place, it can highlight the current line or dim the rest of the text, making it easy to focus.
If you focus more on pictures or graphics than words, the device can show you a simplified version of the text, add more images, or put key points in captions next to the pictures. If you fall asleep or stop paying attention, the device can add a bookmark and show you a summary when you come back, so you never lose your place.
For those who really struggle, the device can suggest switching to an audio mode, reading the text out loud for you. This is great for people with vision problems, dyslexia, or anyone who wants to listen instead of read.
All of these changes happen automatically, based on what the device “sees” in your eye movements. You don’t have to press a button or dig through menus. The system is always learning and getting better, especially if it uses a machine learning model. It can be trained on data from many readers, so it knows what different patterns mean.
The patent also covers many technical details. For example, the device can be almost anything with a camera and screen: a smart TV, phone, headset, or even smart glasses. It can use different sensors, like accelerometers or gyroscopes, to get even more information about how you’re holding the device or moving your head.
The software can be set up in many ways. It might use a simple list of rules, or a complex neural network trained on thousands of reading sessions. It can be updated over time, getting smarter as you use it. The changes to the text or display can be big or small—anything from changing font size to adding full summaries or switching to audio.
One of the most exciting parts is how the system uses both real-time data and past information. For example, if you always have trouble in the evening, it might automatically switch to a higher-contrast mode. If you often reread certain words, it could start explaining them right away, or even tailor the text to your reading level.
The invention is flexible. It can work for one person, or be shared by a group (like a classroom). It can learn from everyone, or just from you. It can help people with different needs: children, adults, language learners, people with dyslexia, or anyone who wants a smoother reading experience.
In summary, the key innovations are:
- Automatic, real-time adaptation of text and display based on eye tracking data.
- Use of machine learning to understand complex reading behaviors and needs.
- Personalized help, from font changes to word explanations to switching modes (audio, simplified text, summaries, and more).
- No need for special hardware—just a camera and standard computing device.
- Flexible design that can help all kinds of readers in many different settings.
This is a big step forward from current reading tools, which require manual changes and don’t “know” how well you’re reading. With this system, your device becomes an active helper, not just a passive display.
Conclusion
This new patent points to a future where reading is not the same for everyone, but is tailored for each person, every time they pick up a device. By combining eye tracking, machine learning, and automatic adaptation, the invention brings us closer to truly accessible reading for all. It could help children learn to read, assist people with disabilities, and make reading smoother for everyone. As devices get smarter, this kind of technology will likely become a normal part of how we interact with text. The days of “one-size-fits-all” reading may soon be behind us, replaced by screens that know you—and help you—every step of the way.
Click here https://ppubs.uspto.gov/pubwebapp/ and search 20250362743.
