Invented by Sullivan; Shawn, 2hr Learning, Inc.
Background and Market Context

Artificial Intelligence (AI) is changing how people learn, making lessons more personal and helping each learner in a special way. In the past, most learning tools and digital systems gave every student the same lessons or quizzes, no matter how different they were from each other. This one-size-fits-all approach often left some students bored and others lost. But now, with AI growing smarter and more useful, there is a growing need for systems that can change and respond to each learner’s needs in real time.
Today’s schools, online classes, and learning apps want to keep students interested and help them learn better. Many teachers and companies see that it is important to give students lessons that match their skills, interests, and what they need to work on. But building this kind of flexible and personal learning system is not easy. It can take a lot of time and effort to create enough good lessons for every type of learner.
The market for digital learning is huge and keeps growing. Schools are using more computers and tablets. People are learning online at home, at work, and everywhere in between. As this market grows, there is more pressure to make sure everyone gets lessons that fit them. If a learning tool can quickly give each person the right lesson at the right time, it can help them learn faster and enjoy learning more. This is why there is big interest in AI tools that help create and deliver personal lessons easily and quickly.
Even though there are a lot of learning platforms out there, most of them still have problems. They may have many lessons, but not the right ones for each learner. Or, they may take too long to create new lessons when something changes. Some systems make too much content, which can be wasteful and confusing. Others don’t have enough, leaving gaps in what students can learn. Schools and companies want a solution that can manage all this content without making things messy.

With so many users wanting better personal learning, there is now a strong need for AI systems that can manage lesson content, pick the right lessons, and make sure every student gets exactly what they need. The invention discussed in this article focuses on solving these challenges by guiding and controlling AI to make and use a pool of lessons that are always ready and matched to each learner’s needs. This new approach helps digital learning companies and teachers save time, cut down on wasted effort, and deliver a better experience to every learner.
Scientific Rationale and Prior Art
To understand this invention, it helps to see what has been tried before and why those older ways are not good enough. In the past, most learning systems were built with a fixed set of lessons or quizzes. If a student wanted something different, teachers or content creators had to make it by hand. This was slow and hard to keep up with. When more students joined or new topics were added, it became even more difficult to create enough content for everyone.
Older AI learning tools mostly used simple rules. For example, if a student got a math question wrong, the system might show an easier question next. If a student finished a lesson, it might just move them to the next one. These systems did not look at all the different ways students are unique. They did not keep track of what each student liked, what they needed, or how they learned best. Also, these systems did not learn from what happened in the past. Every time a student logged in, it was like starting from scratch.
Some learning platforms tried to improve by using more data, but they still had problems. They could not change quickly if a student needed something new. The content was often not flexible. There were also issues with making too much content—if the system tried to prepare for every possible need, it would create more lessons than anyone could use, wasting time and computer space. Sometimes, the system would not have enough lessons, and students would get stuck or bored.

Another problem with older systems was how they managed all the content. Teachers or developers had to keep track of which lessons were used, which ones needed updating, and which ones were popular. This manual work was slow, and mistakes could happen easily. If a school changed its curriculum, it took a long time to update all the lessons to match the new standards.
Some new tools use large language models, like the ones that power chatbots, to make new lessons on the fly. This sounds good, but these tools can make mistakes. Sometimes, the AI makes up facts, gives the wrong number of lessons, or does not follow the rules needed for a certain school or course. Without clear guidance, these AI engines can go off track, making lessons that are not helpful or even wrong.
In short, the scientific drive behind this invention is to solve these problems by building a system where the AI is not left alone to guess. Instead, it is guided and controlled, so it makes and delivers the right lessons at the right time. The system keeps a pool of ready-to-use content, updates it with real data, and makes sure nothing is missing or wasted. It uses smart algorithms, real-time data, and machine learning to keep getting better, all while letting teachers and schools focus on teaching, not managing files or fixing mistakes.
Invention Description and Key Innovations

This invention is all about making learning personal and adaptive by creating, managing, and using a pool of lesson content with the help of AI. The main idea is simple: instead of making lessons one by one for each student, the system builds a large set of lessons ahead of time. Then, it uses smart tools to pick the right lessons for each student at the right moment. Let’s break down the key parts of how this works.
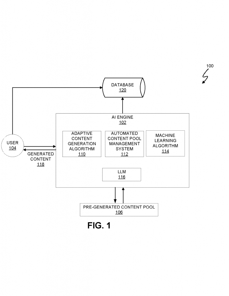
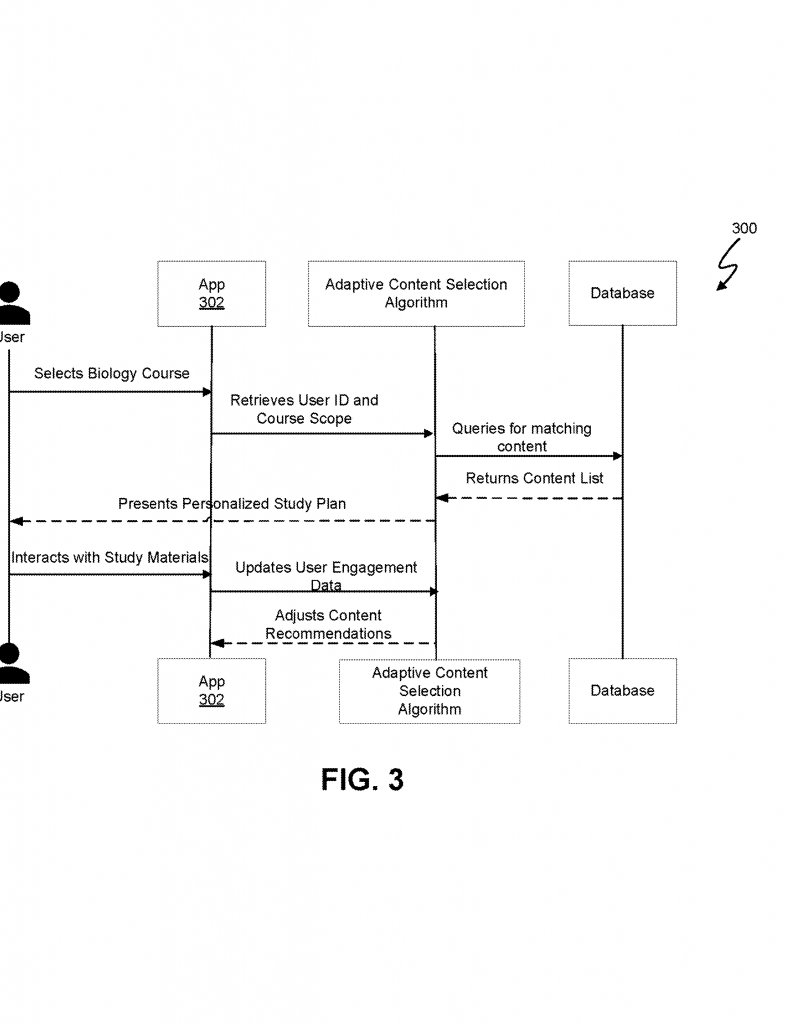
First, when a student or teacher makes a request—like wanting a lesson on fractions or asking for extra practice—the system reads and understands the request. It uses smart language tools to figure out what the student needs, which subject or skill is being asked for, and what type of lesson is best (like a video, quiz, or reading passage). The system looks at things like the student’s ID, the curriculum standards they need to follow, the type of content wanted, and what the student has done before.
Second, the invention uses an “adaptive content selection algorithm.” This is a smart set of rules and computer programs that look at all the information about the student and the lesson request. It checks the student’s learning history, what they have already learned, what they like, and what they need help with. It also checks the school’s curriculum to make sure the lesson matches the right standards. The algorithm then picks the best lesson from the pool of ready lessons.
Next, the system has an “automated content pool management system.” This tool keeps all the lessons organized, up-to-date, and matched to every student and standard. It makes sure there are enough lessons for every topic, but not too many to cause confusion. If the system sees that certain lessons are used a lot, it keeps them handy. If something changes—like a new standard is added—it updates the pool automatically. This means there is always the right lesson ready when a student needs it, without making extra work for teachers.
A special feature of this invention is the use of machine learning. The system watches how students interact with the lessons—what they like, what they find easy or hard, and how they do on quizzes. It learns from this data and uses it to make better choices in the future. If a student struggles with a certain topic, the system can offer more help or pick an easier lesson next time. If a lesson is too easy, it can move the student forward. Over time, the system gets smarter and more tuned to each learner.
One of the biggest innovations is how the AI engine is guided and controlled. Instead of letting the AI guess what to do, the system gives it clear prompts and rules. These prompts are made using large language models (LLMs) that are trained to understand what kind of lesson is needed. The LLM looks at all the data and creates a special instruction for the AI engine, telling it exactly which lessons to use and how to deliver them. This keeps the AI focused and prevents common mistakes like making up facts or giving the wrong kind of lesson.
Another important feature is how the system manages content delivery. When a student asks for help, the system quickly picks the right lesson from the pool and delivers it. It can store and index popular lessons so they are easy to find. It uses fast computer networks to make sure lessons load quickly, even if many students are using the system at once.
The invention also includes careful tracking and storage. Every time a student uses a lesson, the system saves information about what was requested, what lesson was given, and how the student did. This helps teachers see how each student is doing and lets the system keep getting better at matching lessons to needs.
By bringing all these ideas together, the invention creates a new way for AI to support learning. It does not just make more lessons or automate manual work. It builds a smart, flexible, and personal system that helps every learner get what they need, when they need it, and keeps improving itself over time.
Conclusion
This invention offers a new, smart solution for personalizing learning with AI. By guiding and controlling the AI, using a pool of ready lessons, and learning from each student’s needs, it solves many old problems in digital education. Schools, teachers, and learners all benefit: students get lessons that fit them, teachers save time, and schools can be sure their lessons match the right standards. As learning becomes more digital and more personal, inventions like this will be key in helping everyone succeed.
Click here https://ppubs.uspto.gov/pubwebapp/ and search 20250363577.
