Invented by Mamidwar; Rajesh Shankarrao, Russo; Fabian, Avago Technologies International Sales Pte. Limited

Let’s dive right into a new patent application that promises to make your internet faster and smoother, especially for things like video calls, online games, and virtual reality. This article will walk you through why this invention matters, what the science and history behind it are, and what’s special about the new ideas being claimed. Even if you’re not a tech expert, you’ll be able to follow along and see how this technology could improve your digital life at home or at work.
Background and Market Context
We all use the internet daily, whether it’s watching shows, talking to friends, or playing games. But sometimes, the experience is not perfect. Videos buffer, game controls lag, calls freeze, and everything seems to move in slow motion. This is often because of something called “latency.” Latency is the delay between sending and receiving information. It’s like shouting across a canyon and waiting for the echo to come back. The longer it takes, the more annoying it is.
In the past, a little delay was fine. If your email took an extra second, no big deal. But now, with more people working from home, using video meetings, streaming live events, or enjoying virtual worlds and online games, even small delays can ruin the experience. This is especially true for new tech like virtual reality (VR) and augmented reality (AR), where everything needs to react instantly to your movements, or else it feels fake or makes you dizzy.
Internet service providers (ISPs) try to give everyone fast and reliable connections. They build big networks, buy new equipment, and promise high speeds. But even with all that, problems still happen, especially in busy homes where lots of devices use the network at the same time. Your smart TV, your phone, your game console, and even your smart fridge all want a piece of the action. When the network gets crowded, latency goes up, and your experience suffers.
The market for better, lower-latency internet is huge. Businesses want smooth video calls and quick cloud services. Gamers want to win without lag. Families want streaming without buffering. As more people use AR and VR, the need for instant response is only going to grow. Internet providers are looking for ways to stand out by offering better quality and fewer delays. That’s where this new patent application comes in.

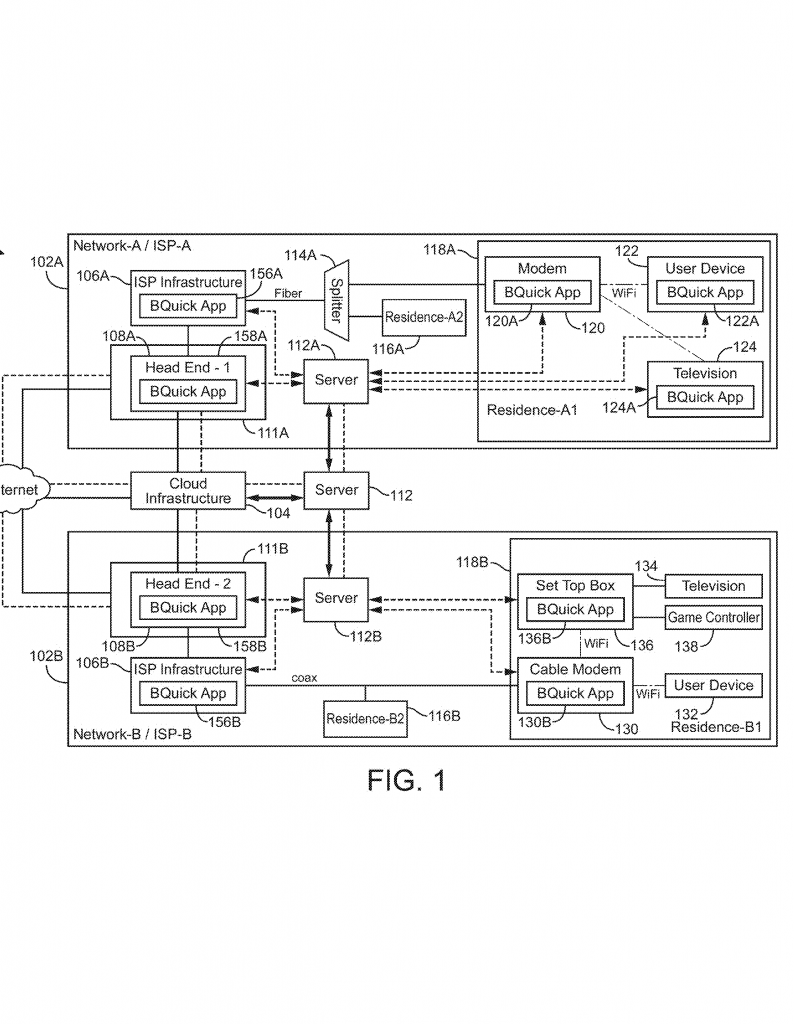
The invention focuses on home networks — the modems, routers, set-top boxes, and wireless access points that connect all your devices to the internet. It gives these devices a smarter way to handle your data. Instead of treating every bit of information the same, the system figures out which data needs to move quickly (like a video call) and which can wait (like a software update). By sorting and managing these data packets more carefully, the system can give priority to the things that matter most in the moment, so your experience feels fast and seamless.
This is important not just for tech lovers or gamers, but for anyone who wants their internet to just work, without hiccups. As people expect more from their digital experiences, solutions that reduce latency will become a key selling point. Internet providers, device makers, and app developers are all looking for ways to deliver on this promise. This new system could become a standard feature in future home networks, helping everyone enjoy a smoother, more reliable online life.
Scientific Rationale and Prior Art
To understand why this invention is a big deal, let’s look at how things work today and what’s been tried before. When you use the internet, your data travels in small chunks called packets. These packets go from your device, through your home network, to your ISP, and then out into the wider world. Each step along the way can add a bit of delay. The more stops, the more chances for something to slow down.
Networks try to handle lots of packets at the same time. To keep things organized, they use buffers — places where packets wait their turn. But if the buffer gets too full, packets have to wait longer, and latency goes up. It’s like waiting in line at a busy store. Sometimes, the line moves quickly, but if it gets too crowded, you’re stuck waiting.
Older systems usually treat all packets the same. This is called “best effort” service. Whether you’re sending an email or playing an online game, your data gets in line like everyone else. Some systems use Quality of Service (QoS) techniques, where certain types of data — like voice or video — are given a higher priority. But these systems are often hard to set up, don’t always work across different devices, and can be too simple for today’s complex needs.
There are also network standards and protocols, like IEEE 802.11 for WiFi, DOCSIS for cable, and GPON for fiber, that set rules for how data moves. Some of these standards allow for priority handling, but they’re often limited by how much information the network devices have about what’s going on in your home. Devices may not know which packets are important, or may not be able to coordinate with each other well enough to make smart choices.

A few newer systems use timestamping and monitoring to track how long packets take to move through the network. For example, Precision Time Protocol (PTP) can help synchronize clocks across devices, so they can all agree on when a packet was sent or received. This helps spot where delays are happening. But just knowing about latency isn’t enough — you need a way to act on that information in real time.
Some solutions use software running in the cloud or at the ISP’s data center to monitor traffic and make adjustments. Others put intelligence inside your home devices, like smart routers or mesh networks that try to optimize traffic flow. But these systems often work only within certain brands, don’t cover all devices, or can’t coordinate well with your ISP’s network.
What’s been missing is a way for all the pieces to work together: your home devices, your ISP’s equipment, and the apps you use. Existing systems either lack detailed insight into what’s happening inside your home, or they don’t have the authority to change how packets are handled on the fly. Plus, they often can’t adjust to new types of devices or applications, like AR/VR, that have special needs for low latency.
This new invention builds on these ideas but takes them a step further. It lets software running on your home devices watch, measure, and react to latency in real time. It can talk to servers at your ISP or in the cloud, sharing information about what’s happening and getting instructions for how to improve things. The system can classify packets on the spot, prioritize them according to what’s most important, and even reassign bandwidth when a device goes offline. This flexible, coordinated approach means the network can adapt to your needs as they change, giving you the best experience possible.
What makes this approach stand out is its focus on working across different devices and networks, its use of live monitoring and control, and its ability to handle both home and cloud resources in a seamless way. It’s not just about seeing where the delays are — it’s about fixing them, right now, for the apps and devices you care about most.
Invention Description and Key Innovations
Now, let’s look at what the patent application actually claims, and why these ideas are new and important. The invention is a system that includes at least one device (like your router, modem, or set-top box) and an application — a special piece of software — running on that device. Here’s how it works in simple terms:

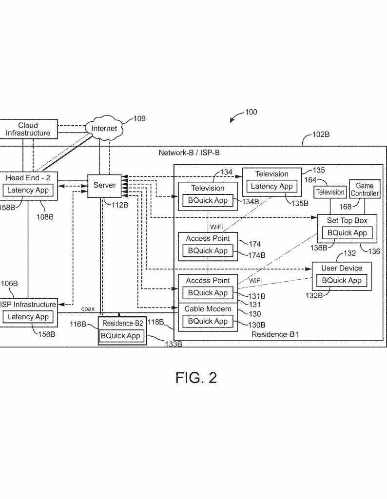
When a data packet arrives at your device, the application quickly checks what kind of packet it is. Is it for something that needs low latency, like a video call or a VR game? Or is it for something less urgent, like a file download? Based on this, the application puts the packet in a special queue. There are different queues for different types of traffic. The most important packets go in the fastest lane, so they get sent first. Less important packets wait their turn. This way, your video call stays smooth, even if someone else in the house is downloading a big file.
The application doesn’t just guess. It uses real data to make decisions. It measures latency — how long packets are taking to move through the device and the network. It can also talk to servers far away, like at your ISP or in the cloud, sending them updates about latency or getting new settings to help things run better. This two-way communication means your network can adjust itself in real time to changing conditions.
If one of your devices — say, your smart TV — goes offline or isn’t using its reserved bandwidth, the application can notice this and give that unused bandwidth to another device that needs it. This makes sure that the network is always being used in the smartest way possible, helping everyone in your home get the best experience.
The system is flexible. It works across different types of networks — cable, fiber, wireless — and can be installed on many types of devices. It uses both software and hardware features, and it can be updated by your ISP or the device maker over time. This means it can keep up with new technologies and changing needs.
One of the standout features is how the system uses timestamps and synchronization. By adding time information to each packet, and making sure all devices agree on the current time, the system can spot exactly where delays are happening. This lets it pinpoint trouble spots, whether they’re inside your home, at your ISP, or out on the internet. If a problem is found, the system can change how traffic is handled — rerouting packets, changing priorities, or alerting you or your ISP to take action.
The invention also supports cooperation between different parties. Your home devices, your ISP, cloud servers, and even app developers can all work together, sharing data and coordinating their efforts to reduce latency. This is important because no single device or company has control over the whole network. By making it easy to share information and adjust settings across different parts of the system, the invention helps everyone pull in the same direction.
From a technical perspective, the system uses classifiers (software that decides what type of packet it is), multiple queues (for different priorities), and servers that can coordinate changes across the network. The application can be installed on almost any device — not just the newest, but also many existing devices with a software update. It can be set to run automatically, making decisions in the background, so users don’t have to be experts to get the benefits.
The patent also covers how the system can handle multiple users and devices in a home. Each device can have its own needs and priorities. For example, your game console might get top priority during a tournament, while your tablet gets normal speed for browsing. The system can track which devices are using low latency features, and adjust automatically if one device stops using its reserved bandwidth, so nothing goes to waste.
Another key innovation is how the system can give feedback to users. If you’re having trouble with latency, the system can show you what’s going on, suggest upgrades, or even offer new service plans that better match your needs. This makes the network more transparent and responsive, so you can make smart choices about how you use your internet service.
By tying together real-time monitoring, smart packet classification, dynamic bandwidth allocation, and two-way communication with cloud and ISP servers, this invention creates a powerful and flexible platform for low latency networking. It’s designed to be future-proof, able to handle new types of applications and devices as they come along, and to help everyone — from home users to big businesses — get the most from their internet connection.
Conclusion
This patent application sets out a new way to make home and small business networks faster and more reliable, especially for activities that need low latency. By putting smart software on devices like routers and modems, and by connecting these devices to powerful servers in the cloud and at your ISP, the system can watch, measure, and manage network traffic in real time. It can give priority to the most important data, react quickly to problems, and make sure everyone gets the best experience possible.
The invention builds on existing ideas about network monitoring and quality of service, but takes them further by making everything work together — your devices, your ISP, and your apps. It uses live data, smart classification, and real-time control to adapt to your needs as they change. As more people rely on video calls, gaming, and virtual reality, systems like this will become essential for keeping up with the demands of modern digital life.
If adopted by device makers and ISPs, this technology could soon become a standard part of every home network, helping us all enjoy smoother, faster, and more enjoyable online experiences. Whether you’re a gamer, a remote worker, or just want your streaming to work without buffering, these innovations could make a real difference in your daily digital life.
Click here https://ppubs.uspto.gov/pubwebapp/ and search 20250337691.
