Invented by King; David Michael, King; Robert Dean, DMK Nano LLC
Electricity is the backbone of our lives. But as more homes and businesses start using solar panels, wind turbines, batteries, and smart devices, our power grid faces new challenges. The patent application we are exploring today introduces a new way to track, manage, and control how electricity moves from where it’s made, to where it’s stored, and finally to where it’s used. This article will break down this system in a way that’s easy to understand, showing how it fits into our world, why it’s needed, and what makes it special.
Background and Market Context
Today’s power grid was built for a world where electricity was made at big power plants and sent out to everyone through wires. But things are changing. People now have solar panels on their roofs, batteries in their garages, and even electric cars that can store power. This mix of small power producers and storage devices is called Distributed Energy Resources, or DERs.
As more people use DERs, the old way of running the grid isn’t working as well. The grid must handle power coming from many places, not just the big power plants. It also has to keep up with smart devices and electric cars that can quickly change how much power they use or need. This makes it harder to keep the lights on, make sure the power is good quality, and avoid blackouts or waste.
Utilities and grid managers need better tools to see what’s happening in real time. They want to know how much power is being made, stored, or used, and where it’s going. They also want to make sure that energy flows in the most efficient way, with as little loss as possible. On top of that, new rules and markets are letting people buy and sell electricity in new ways—sometimes even selling their extra solar power back to the grid.
This shift has created a big need for technology that can:
– Track every bit of power as it moves through the grid
– Decide the best path for electricity to travel
– Update records when power is stored, used, or sold
– Let people and companies trade or share power securely and fairly
The patent application addresses all these needs by using computers, data structures, and control systems to follow every unit of energy from the moment it’s made or stored, until it’s used or sold. It also aims to make sure that all transactions are safe, secure, and can be trusted by everyone involved.
This approach is becoming even more important as energy markets open up, and as new business models—like Energy as a Service—let people make choices about where their power comes from. Utilities want to lower their costs, avoid installing more expensive wires, and keep their customers happy. Homeowners and businesses want to save money, sell back extra power, and use clean energy. This new system is designed to make all of that possible, with less waste and more trust.
Scientific Rationale and Prior Art
For many years, power grids have relied on simple meters to track how much electricity is used, and big control centers to manage where power flows. These systems worked well when power went one way—from the power plant to homes and businesses. But now, with rooftop solar, batteries, and electric cars, power can flow in many directions.
Traditional meters can’t tell where the power came from. They just count how much was used. They don’t know if it was made by solar panels, pulled from a battery, or bought from the grid. They also can’t track which path electricity took, or measure losses along the way. This makes it hard to pay people fairly when they sell extra power, or to figure out the best way to move electricity to where it’s needed.
Some newer systems use smart meters that send more detailed data back to the utility. These can measure power more often, and sometimes even tell if power is flowing in or out. But even these systems don’t track each bit of power as it moves through different devices or storage systems. They also don’t keep a detailed history of every event, like when power was stored in a battery, moved to another building, or sold to a neighbor.
In recent years, some companies have started using blockchain—a secure way of keeping records that can’t be changed—to track energy trades. These systems let people trade energy credits, but they often don’t link the credits back to the real, physical energy moving through the wires. They also struggle to handle the complex mix of devices and paths that now exist in modern grids.
The system in the patent application builds on these ideas, but goes much further. It creates a digital “account” for every device in the grid—whether it’s a battery, a solar panel, a meter, or a smart appliance. Each time a device makes, stores, or uses power, a digital “record object” is created. This record captures important details like how much power, what voltage and current, and what device it came from. When power moves from one device to another, the system tracks the full path, chooses the best route, and updates records for both the source and destination.
What’s new here is the way each unit of power is tracked as it moves, with every event recorded and confirmed (sometimes even by a second controller for extra trust). The system can even handle payments, losses, and different types of devices—all in real time. It links the “digital world” of records and tokens directly to the “physical world” of wires and electrons. By using smart computer logic and distributed ledgers, it makes sure that everyone can trust the records, and that energy flows as efficiently as possible.
In summary, while prior systems either tracked energy in a simple way or recorded trades using blockchain, this new approach brings it all together. It creates a complete, secure, and detailed picture of how energy is made, moved, stored, and used—down to each individual unit of power.
Invention Description and Key Innovations
At its heart, the invention is a computer-based system that keeps track of every unit of electricity as it moves through the grid. Let’s break down how it works and what makes it special.
Key Parts of the System:
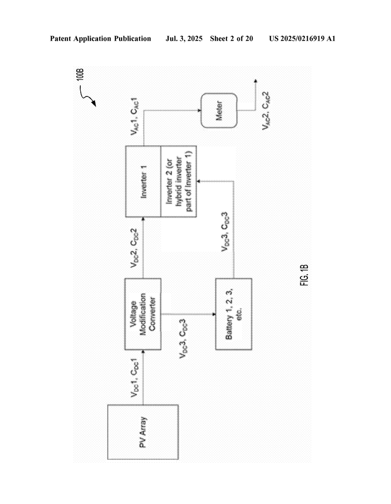
1. Devices in the Grid: This includes solar panels, wind turbines, batteries, smart appliances, meters, and even electric car chargers. Each device gets its own “account” in the system.
2. Record Objects: Every time a device makes, stores, or uses a unit of power, the system creates a digital record. This record (think of it like a token or a receipt) includes:
– What device it came from
– How much power (with voltage and current)
– When the event happened
– Sometimes a dollar value or even GPS location
3. Paths and Routing: When power is ready to move (for example, from a solar panel to a battery, or from a battery to a home), the system looks at all the possible paths. It checks the status of each device (how full a battery is, how much a device needs, etc.) and picks the best path—usually the one with the least loss or the best value.
4. Event Trackers: Every time power moves from one device to another, an “event” is logged. Sometimes, another controller checks and confirms the event, making sure the record is honest and can’t be changed later. This adds a layer of security and trust.
5. Control Signals: Once the best path is chosen, the system sends commands to switches, inverters, or other devices to actually move the power. This can be as simple as turning a relay on or off, or as complex as changing how much energy a smart device uses.
6. Accounts and Updates: After the power has moved, both the sending and receiving devices update their accounts. The record objects are added to the destination, and marked as used or consumed if needed.
What Makes This System Special:
– Granular Tracking: Every unit of energy is tracked as it moves, not just as a lump sum. This means you can know exactly where your solar power went, or how much battery power was used to run your fridge.
– Automated Decision Making: The system uses real-time data to pick the best path for each unit of power. It can even predict future needs or make choices based on market prices.
– Secure and Trustworthy Records: By using distributed event trackers (like a blockchain), the system makes sure that no one can cheat or change the records after the fact.
– Compatible with Many Devices: The design can work with old meters, new smart meters, batteries, solar panels, and more. It can also handle different types of power (AC or DC) and work with both new and used devices.
– Supports Energy Trading: Because every unit of power is tracked, it’s easy for people to buy and sell extra energy, or for utilities to pay you for sending power back to the grid. Payments can be linked to the digital records, making settlement automatic and fair.
– Handles Losses and Device Health: The system can measure losses on each path, and even estimate how healthy a battery is over time. This helps keep everything running smoothly and helps plan maintenance.
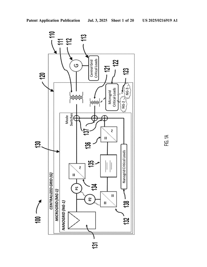
– Works in Layers: The grid is organized in layers—like nanogrids (homes), microgrids (neighborhoods), and the main grid. The system can manage energy and records within and between layers, making the whole grid more flexible and resilient.
– Scalable and Flexible: Whether it’s a single home, a group of buildings, or a whole city, the approach scales up or down. It can be used by individuals, businesses, or utilities.
How It Works Step by Step:
Imagine a sunny day. Your solar panels are making more energy than your house needs. Here’s what happens:
1. The system senses that your panels are producing power. It creates a record object for each chunk of energy made, including the voltage and current.
2. The computer checks your battery’s account. If your battery isn’t full, it sends a control signal to store the extra energy there.
3. Every time energy moves into the battery, another record is made. The system updates both the solar panel’s account (showing energy sent) and the battery’s account (showing energy received).
4. If your battery fills up and there’s still extra power, the system might send it back to the grid or offer it to a neighbor. It chooses the best path based on losses, payments, and device needs.
5. Every event—making, storing, using, or selling energy—is tracked and confirmed. If you sell power to your neighbor or the grid, the payment is linked to the digital record.
6. If your battery gets old, the system can see its health changing over time and adjust how much energy it stores or sells.
Other Cool Features:
– The system can handle requests from the grid, like when the utility asks for more power during a heat wave.
– It can give you a detailed history of where your power came from and where it went.
– It can support smart contracts, so you can set rules like “only sell my extra energy if the price is above 10 cents per kWh.”
– It can use GPS info to track where each device is, helping with planning and local energy markets.
In short, this invention brings together the digital and physical worlds of energy. It makes it possible for every device to have its own energy “wallet,” lets power flow where it’s needed most, and keeps records that everyone can trust.
Conclusion
The patent application introduces a smart, secure, and actionable way to manage electricity in a world full of solar panels, batteries, and smart devices. By tracking every unit of energy as it moves through the grid, making smart decisions about where power should go, and keeping records everyone can trust, this system makes it much easier to share, store, and use energy wisely. It supports energy trading, helps keep costs down, and makes the grid stronger and more flexible for everyone. As our world keeps moving toward cleaner and smarter energy, solutions like this will be key to keeping the lights on and making the most of every watt produced.
Click here https://ppubs.uspto.gov/pubwebapp/ and search 20250216919.




