Invented by KIM; Seohee, KANG; Donghee

Today, we are going to break down a fresh patent application that could change how we use images in messaging apps. This invention lets your phone or device turn chat conversations into personalized, AI-powered images—like stickers or emojis—based on what you and your friends are saying. If you’ve ever wanted your messages to come alive, this is for you. Let’s look at how the market led to this idea, the science and history behind it, and finally, what makes this invention unique.
Background and Market Context
The way we talk and share things on our devices is changing fast. Not too long ago, text messages were simple. People sent words, and sometimes, a few basic emojis. Today, messaging apps are filled with stickers, GIFs, photos, and even custom-made images. Why? Because people want to show how they feel, not just say it. They want to laugh, joke, celebrate, and share moments in ways that are fun and personal.
Smartphones are now everywhere, and almost everyone uses messaging apps—WhatsApp, iMessage, KakaoTalk, Line, WeChat, and many more. These apps are more than just tools; they are a way to connect. To keep people interested, app makers and phone brands are always looking for new features. The race is on to make messaging more exciting, expressive, and unique for each person.
Stickers and emojis grew popular because they add personality to chats. But even with thousands to pick from, most of them are generic. They don’t always fit the chat or the mood. Users want images that match what’s being talked about, or even pictures that use their own photos. That’s why some apps let you make custom stickers from your selfies, but even these are limited. They don’t really tap into the ongoing conversation or the context of your chat.

Meanwhile, AI and machine learning are showing up everywhere, especially in photos and media. Think about how apps can tag people in pictures or suggest filters that match your mood. These tools use smart technology to understand and work with your content. Still, connecting these AI features to daily conversations in messaging apps hasn’t been done in a way that feels seamless or automatic.
All of this leads to a simple truth: people want their chats to be lively, personal, and meaningful. They want their devices to know what they’re talking about and help them share images that fit. The market is ready for a messaging feature that brings together smart AI, personal photos, and instant creativity—without the user having to do much work. That’s exactly the gap this new patent aims to fill.
Scientific Rationale and Prior Art
To really understand why this invention matters, let’s look at how technology lets us work with images and conversations. At the core of it all is the idea of context: knowing what’s happening in a chat and using that knowledge to make something new.
In the past, creating custom images or stickers in messaging apps meant you had to pick them yourself or use special apps to make them. Some apps could suggest stickers based on the words you typed, but these were fixed images, not ones made just for you. The system might show a happy face if you typed “happy,” or a birthday cake if you mentioned “birthday,” but the images were always the same for everyone.

On the science side, AI has made big steps in understanding both language and images. For text, large language models (LLMs) can now read and pull out important words or “keywords” from a conversation. For images, computer vision tools can spot faces, objects, places, and even feelings in pictures. There are also AI systems that can create new images or edit old ones based on detailed instructions, often called “generative AI.”
Some previous systems tried to connect these tools. For instance, photo apps sometimes suggest tags or group photos by people or places. Messaging apps might suggest stickers based on certain words. But these systems don’t mix all the information together. They don’t blend your conversation, your personal images, and smart AI image creation in real time. And they don’t let you make detailed changes, like adjusting colors or adding special effects, based on what’s happening in your chat.
Even more advanced tools, like Apple’s “Memojis” or Bitmoji, let you make cartoon avatars that look like you. But these are mostly made once and reused. They don’t change automatically with your conversation or let you mix parts of different images, backgrounds, and effects on the fly.
In short, the “prior art” (older inventions and products) gave us bits and pieces—suggested stickers, custom avatars, smart photo tags, and some basic AI effects. But there was no system that could read your chat, pick out what matters, dig into your photo library, and then use AI to create a brand-new image that fits your conversation, right as you’re chatting. That’s the leap this patent is trying to make.
Invention Description and Key Innovations
This invention is all about making messaging more personal and alive. Here’s how it works, step by step, and what makes it special.

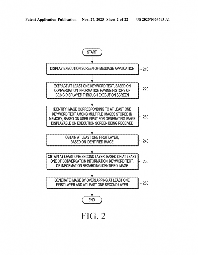
First, when you open your messaging app and start chatting, the device is quietly reading the conversation. It looks for keywords—like “birthday,” “trip,” “happy,” or even personal names. The system is smart enough to pull from both the current chat and previous messages, so it understands the whole story, not just one line.
When you decide you want to send an image, you can tap a button to create one. The device then looks at the keywords it found and searches your photo library for images that match. If you’re talking about a “beach trip,” it might look for photos you took at the beach, using tags, dates, or even faces it recognizes. You can also pick a photo yourself or take a new one with your camera.
Once the right photo is found, the magic begins. The system breaks the photo down into “layers.” These layers could be the main subject (like you or your friends), the background (like the ocean or sky), and extra objects (like sunglasses or balloons). The device uses AI to decide which parts to use, based on your conversation. For example, if the chat is about “celebrating,” you might see confetti or party hats added in.
Now, the device can use generative AI to make new parts or change the image. Maybe it makes you look happier, adds sunglasses, or changes the background to fit the mood. It can even add motion effects, making your sticker image “dance” or “sparkle.” All of this is done automatically, but you can still tweak things—change the main photo, adjust colors, or pick different effects if you want.
What makes this system really stand out is how it combines three things: your conversation, your personal images, and smart AI image creation, all in real time and inside your chat app. It’s not just picking a sticker—it’s making a new, one-of-a-kind image every time, based on exactly what’s happening in your chat. And because it uses your own photos, every image feels personal and special.
Some other clever touches include:
– If the system can’t find enough info in your photos (like missing tags or places), it can still create images with what it has, or let you add missing details.
– You can use the camera to snap a new photo on the spot and turn it into a sticker or image for your chat.
– The system can adjust colors and placement, so added objects (like hats or glasses) look natural with your photo.
– You can display these new images in different ways—like in the chat, full screen, or as previews you can edit.
The patent also covers ways to store these features in the device’s software, so it can work on any kind of electronic device: phones, tablets, computers, even wearables. And it can work with any messaging app, whether it came with your device or you downloaded it later.
The real power here is in the blending of text, images, and AI, with a focus on making each image fit your conversation and your life. Instead of picking from a set of pre-made stickers, you get something new and personal every time you chat. This could make messaging feel more real, more fun, and more connected than ever before.
Conclusion
This patent application shows a big step forward in how we use images in messages. By pulling together your chat, your photos, and smart AI, it lets you make new, personal images that fit your conversation perfectly. The invention fills a real need in the market, goes beyond what older products could do, and uses the latest in AI to bring your chats to life. As messaging apps keep growing, features like this will shape how we connect, share, and express ourselves in the digital world. If you’re ready for messaging that really knows you, this invention is the one to watch.
Click here https://ppubs.uspto.gov/pubwebapp/ and search 20250363693.
