Invented by BORRA; TOBIAS, ALIAKSEYEU; DZMITRY VIKTOROVICH, SEKULOVSKI; DRAGAN, VAN DE SLUIS; BARTEL MARINUS

Smart lighting is changing the way we experience our homes, offices, and entertainment spaces. A new patent application proposes a smart system that controls how multiple lighting devices work together to create natural, pleasing light effects. In this article, we break down what this invention is all about, why it matters, and how it stands out from what has come before.
Background and Market Context
Smart lighting has come a long way in just a few years. In the past, lights were simple—they turned on, off, or dimmed. Now, with the rise of smart homes and connected gadgets, people want more from their lights. They want lights that can change color, match the mood, react to music, or even move light effects across a room. Today, you can find light strips that show rainbows, bulbs that pulse with the beat of music, and lamps that mimic sunrise or candlelight.
People use smart lights for many reasons. Some want to relax at the end of the day. Others want to make movie nights more exciting. Many see lighting as a way to make spaces look better or to help set the right mood. For businesses, lighting can make stores more inviting or help create the right feeling for customers. As more people use smart speakers, streaming devices, and sensors, the desire for lights that can do more and react to more is growing.
But there are challenges. When you have lots of smart lights—bulbs, strips, panels, and more—it can be hard to make them all work together in a way that looks good. Sometimes, lights that are meant to create a single effect end up looking like they are doing their own thing. This can break the illusion and make the room feel less special. Also, not all lights are the same. Some can only do white light, others can show any color. Some are grouped close together; others are further apart. All these differences make it hard to create one smooth, pleasing effect across many lights.
Another challenge is “naturalness.” People like light effects that feel real—like clouds moving, fire flickering, or waves rolling. But if the lights are not well-coordinated, the effect can look fake or even distracting. For example, if a “moving” light effect jumps across large gaps, it can be hard for the eye to follow. If two lights are far apart, the brain might not see them as part of the same effect.
As a result, makers of smart lighting systems are looking for ways to make their products more intelligent. They want to create systems that know which lights to use, when to use them, and how to make the effects look as smooth and real as possible. This is where the new patent comes in. It suggests a way for smart lighting systems to pick the right lights for each effect, based on how far apart they are, what kind of lights they are, and even where the user is standing. It can even change the effect based on what is happening in the room, such as the number of people or the music that is playing.
In summary, the market for smart lighting is growing fast. People want more control, more beauty, and more fun from their lights. But making lights work together in a way that feels natural is a big technical challenge. The invention in this patent aims to solve that, promising smarter, more pleasing light effects that make the most of every lighting setup.
Scientific Rationale and Prior Art
To appreciate what is new about this invention, it helps to understand the science behind light effects and what came before.

Light effects rely on how our eyes and brains process moving or changing lights. When lights change smoothly and are close together, our eyes see them as a single effect—like a wave moving across the room. If lights are far apart, or if they change in ways that do not match, the effect can break down. This is especially true for effects that involve motion, like a “swarm” of lights or a ripple. The brain expects a certain smoothness and flow. If the timing or spacing is off, the effect can look choppy or disconnected.
Makers of smart lighting have tried different ways to control many lights at once. Some use simple scripts or patterns, telling all lights to change at the same time. Others use more complex systems, mapping effects onto arrays of lights. A known method, for example, is to define a “vector” that has a direction and speed, and then move this vector across an array of lights. Each light follows the pattern based on its place in the array. This can work well for lights that are close together and evenly spaced, like a strip. But when you have different kinds of lights spread out across a room, this approach can fall short. The effect can look broken, especially if the lights are not all the same or are in different parts of the room.
One key problem is that most systems do not consider the actual distance between lights, the type of each light, or how a user is looking at them. If a “motion” effect jumps from one side of the room to the other, it can look fake. If a soft “candle” effect is meant to fill the room, but only a few lights join in, the feeling is lost.
Some systems have tried to address these issues by letting users manually group lights or by limiting effects to certain lights. But this puts a lot of work on the user and does not adapt to changes in the room, such as moving a lamp or having more people present.
Another area of research is making lights react to the environment. Some systems can change colors or brightness based on music, movies, or sensors. For example, a light might flash when a loud sound is detected or change color when someone enters the room. But tying these effects to multiple lights in a way that feels unified and natural is hard, especially if the system does not know the layout of the room or the types of lights present.
So, the prior art teaches us important things:
- Dynamic effects look best when lights are close together and respond in coordinated ways.
- Simple scripts or patterns do not always work when lights are spread out or are of different types.
- User input can help, but it is not always practical or flexible enough.
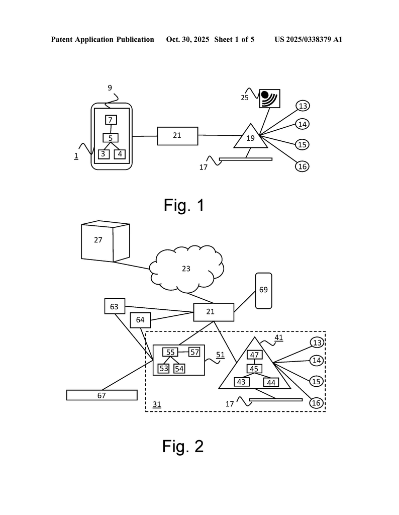
- An input interface for getting information, such as where lights are and what effect is wanted.
- A processor that does the thinking—choosing lights, picking effect parameters, and adjusting as needed.
- A transmitter that sends control signals out to the selected lights.
- Smart selection of lights based on distance, type, and user position.
- Dynamic adjustment of effects based on environmental signals (like sound, motion, or media content).
- Automatic adaptation as the room or setup changes.
- Keeping effects looking smooth and natural by only using lights that will make the effect believable.

Environmental inputs can make effects more responsive, but need to be linked smartly to the light layout.
This is where the patent under review takes a big step forward. It proposes a system that does not treat all lights the same. Instead, it “knows” where lights are, what type they are, how far apart they are, and even where the user is. It uses this knowledge to pick which lights should join each effect, how strong the effect should be, and how to adjust it as things change. This is a big improvement over systems that just send the same signal to every light or that require the user to set everything up by hand.
By building on what is known about how people see light, and by learning from the limits of earlier systems, the invention aims to deliver effects that feel smoother, more natural, and more pleasing—no matter how many lights you have or where they are placed.
Invention Description and Key Innovations
Now, let’s break down exactly what this new invention does, how it works, and why it is so special.
At its heart, the patent describes a system for choosing and controlling groups of lights to create effects that look good in any setup. This system is smart—it can sense where lights are, what type they are, and how far apart they are. It uses this knowledge to pick which lights to use for each effect, and how to control them so the effect looks smooth and real.
The system has a few main parts:

Here’s how it works in practice:
First, the system gathers information about the setup. This can be done by getting data from the lights themselves (some smart lights can report their position), by asking the user to enter where each light is, or by using other sensors or cameras. The system learns how far apart each light is from the others and where they are in the room.
Next, when a user wants a certain effect—like a moving wave, a flickering fire, or a soft candle glow—the system receives this as an input signal. It then decides which lights should take part in the effect. This is where the first big innovation comes in: the system does not just send the effect to every light. Instead, it picks only the lights that are close enough together for the effect to look good. For effects that involve motion (like a wave or swarm), it uses a smaller, tighter group of lights. For still effects (like a candle glow), it can use a larger group or even all lights.
This helps avoid the problem of effects looking broken or disconnected. If two lights are too far apart, the system leaves one out, so the effect stays believable. The system can also use a “proximity threshold” to decide how close lights need to be. This threshold can change depending on the effect.
Another innovation is that the system can consider where the user is. If the user is close to the lights, the system may group lights more tightly to keep the effect looking unified. If the user is further away, the system can spread the effect across more lights, since the eye will blend them together more easily. The system can also adjust based on the user’s angle of view or on where a media device (like a TV) is located—making sure that the lights near the screen work together for the best experience.
The system can also pick which lights to use based on what type they are. For example, if some lights can only do white, and the effect needs color, the system will leave those out. This keeps the effect looking smooth and avoids odd mismatches.
The invention goes even further by letting the system react to the environment. It can take in signals from sensors—like sound levels, motion detectors, or even the number of people in the room. If it senses that the room is busy or loud, it can make effects brighter or more active. If things are calm, it can make effects softer. The system can also analyze music or video content, adjusting the lights to match what is happening on screen or in the soundtrack. For example, a big beat in a song might make the lights ripple or flash, while a quiet moment might make them glow softly.
What is key here is that the system is always picking the right lights for the job. It does not just treat every light as equal. It is aware of where each light is, what it can do, and how it fits into the overall effect. This brings a new level of intelligence and flexibility.
The patent also covers how the system can adjust the effect as things change. If a user moves, or if the lights get moved, the system can update its settings so the effect stays smooth. If new lights are added or old ones are removed, the system adapts.
For example, if you have a “swarm” effect that is supposed to move across the room, the system will pick a group of lights that are close together and move the effect smoothly from one to the next. If the lights are too far apart, the effect will only use the ones that are close enough. If the sound in the room gets louder, the system might make the swarm move faster or change color.
The system can also use position information to tweak the effect. For example, it can change the behavior near the edges of the group, or make certain types of lights behave differently. It can even react to where people are sitting, so the effect always looks good from the main viewing spot.
All of this is done automatically. The user does not have to set up complicated scenes or groups. The system figures out the best way to use the lights for each effect, making sure it always looks as good as possible.
In summary, the key innovations here are:
This system can be built into a mobile app, a bridge device, or even straight into the lights themselves. It can work with many kinds of smart lights and can be updated as new lights are added. The method can be run on a computer, a phone, or a special controller, and the patent covers software and hardware setups.
Conclusion
The new patent proposes a smart, flexible system for controlling multiple lighting devices in a way that keeps light effects looking smooth, real, and pleasing. By considering the distance between lights, the type of each light, and even where the user is, the system picks the best group of lights for each effect. It can also adjust the effects based on what is happening in the room, from music and movies to the number of people present. The result is a lighting experience that feels more natural and immersive, with less setup and fewer distractions. For anyone interested in smart lighting—whether at home, work, or in entertainment spaces—this invention points the way to more beautiful, more intelligent light shows that adapt to any space and any mood.
Click here https://ppubs.uspto.gov/pubwebapp/ and search 20250338379.
