Invented by RAMIREZ; PHIL, Faulkner; Ryan, Gee; Brennan, Gibson; Timothy, Shank; Anasa, Cruz; Aaron, Singh; Harpreet, Valentine; Alexandria

In this article, we break down an exciting new patent application for a wireless vehicle occupant detection system. We will explore the problem it solves, the technology behind it, and why it matters for cars, drivers, and the growing world of connected vehicles.
Background and Market Context
Cars are changing fast. Once, vehicles were simple machines. Today, they are packed with computers, sensors, and wireless technology. Modern cars connect with your phone, watch, or other smart gear. They use Bluetooth, Wi-Fi, and even near field communication (NFC) to talk with different devices. This helps with hands-free calls, music streaming, navigation, and more.
But with all this technology, a new question appears: How do we know who is driving the car? Who is a passenger? Why does this matter? It matters a lot, actually. Many new services depend on knowing the true driver. Insurance companies want to price policies based on who is driving. Rideshare companies need to know if the right driver is behind the wheel. Public transit apps want to check if a user is in a bus or train. Even car makers care, for things like safety features and driver profiles.
The old way was to use simple sensors, like weight sensors in seats, or by tracking which phone connects to the car’s Bluetooth system. These methods are not perfect. People swap seats, phones get left behind, and sometimes the system gets confused when there are many devices nearby. Establishing a full wireless connection (like pairing Bluetooth) every time is slow, uses battery, and can be unreliable.
The market needs a better way. A system that can quickly, reliably, and securely figure out if a certain person is the driver, a passenger, or not in the car at all. It should work without heavy hardware, using the wireless signals that are already there. This is where the new patent comes in.
Scientific Rationale and Prior Art
Before this invention, systems for detecting car occupants relied on seat weight sensors, camera vision, or direct Bluetooth connections. Let’s look at why these methods fall short:

Seat sensors can tell if someone is sitting, but not always who it is. Cameras raise privacy concerns and don’t work well in the dark or if someone covers the camera. Bluetooth connections are common, but they need pairing and a handshake, which takes time and drains phone batteries. In a crowded car, with lots of phones, the system may get confused. Sometimes, phones connect even when the person is not in the car (for example, if the car is running in a garage and the phone is nearby).
Some prior systems use the signal strength of Bluetooth or Wi-Fi to guess if a person is near the driver’s seat. But these systems are not very accurate. Signal strength can change if the phone is in a pocket, bag, or blocked by a person’s body. Car interiors also affect signals in ways that are hard to predict.
Other patents use special badges or key fobs. While these can help, they need extra hardware and can be lost or forgotten. Plus, they often use the same pairing or connection steps as Bluetooth, so the problems remain.
With the rise of Bluetooth Low Energy (BLE) beacons, there is a new tool. BLE beacons are small, battery-powered devices that send out simple signals regularly. Phones and other devices can “hear” these signals and measure how strong they are. BLE is much less power-hungry than classic Bluetooth, so it is better for constant use.
Some research has used BLE beacons to track general movement, like in stores or offices. But using them to figure out where a phone is inside a car, and if that phone belongs to the driver, is a much harder problem. Signals bounce around, people move, and cars are small, so positions can change quickly.
What’s been missing is a smart way to use multiple beacons, measure different signal features (like strength and angle), and combine this with clever software. The goal is to use the signals that are already being sent, without needing a full wireless connection. And, to create a result (like a “driver status file”) that other apps can use easily and securely.
This is where the new patent stands out. It uses BLE beacons in a special way, looks at more than just signal strength, and adds smart processing to make the results useful and safe.

Invention Description and Key Innovations
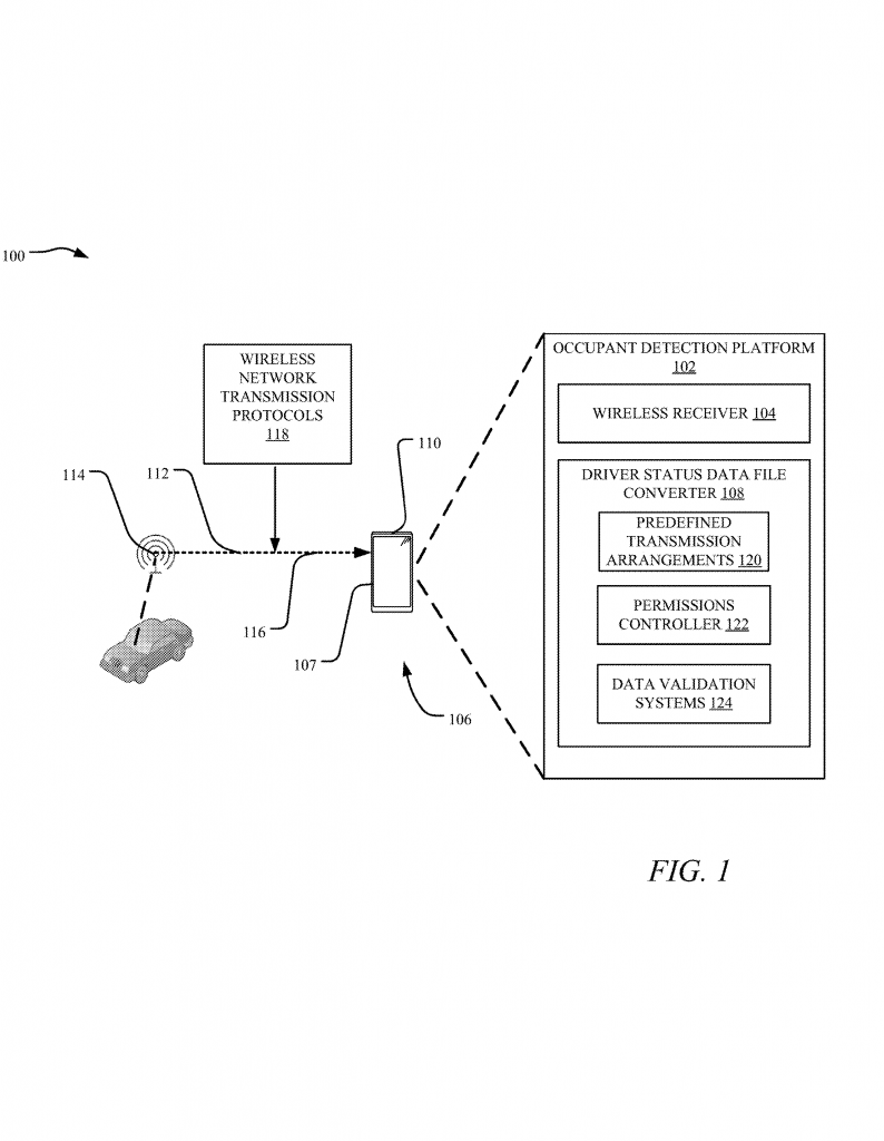
The heart of the patent is a system that knows who the driver is — and does it quickly, using only wireless signals that are already present. Here’s how it works, in simple terms.
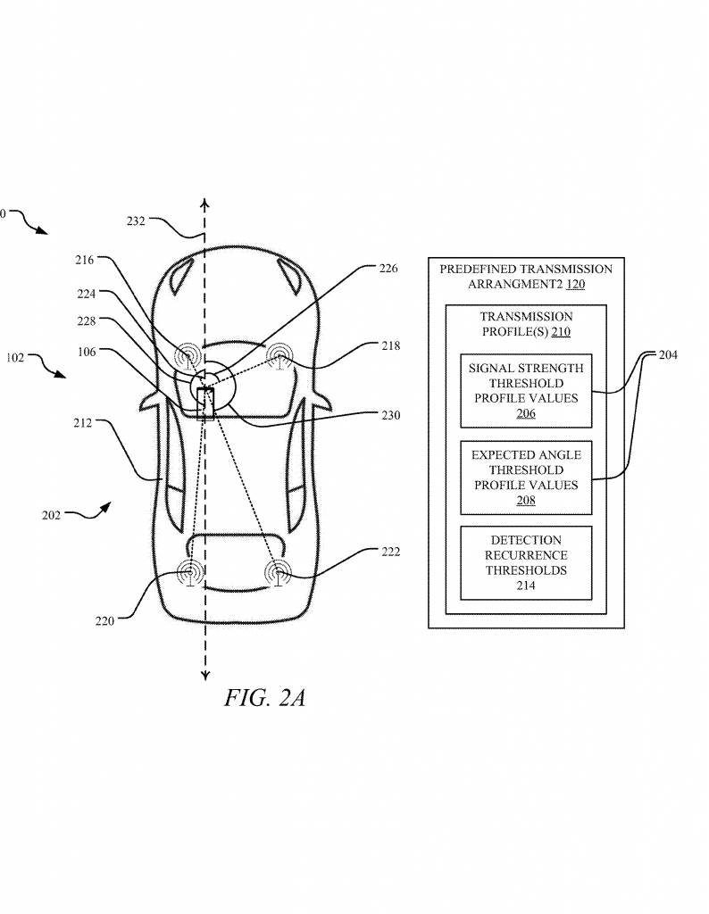
First, small wireless beacons (like BLE devices) are placed in smart spots inside the car. There may be one near the driver’s dash, one on the passenger side, maybe some in the rear seats, or even in the door handles. These beacons send out signals all the time, without waiting for a phone to connect. Your phone, or any smart device with a wireless receiver, listens for these signals.
The system’s software (the “controller”) does not need to make a full connection. Instead, it just listens. It measures how strong the signals are from each beacon. It can also measure the angle the signal comes from (if the phone has more than one antenna, or the beacons are arranged to allow this).
Each seat (driver, passenger, back seat) has a “profile.” This profile says what the signal strengths and angles should look like if a phone is sitting in that spot. For example, if your phone is on the driver’s seat, it should hear the driver’s dash beacon very strongly, but the passenger side beacon less strongly, and the rear beacons even less. The angles may also point toward the front left of the car.
The system compares what the phone actually hears to these profiles. If the match is close enough, the system says, “This phone is in the driver’s seat.” If not, it may say the phone is a passenger, or not in the car at all.
This process is fast. It happens every few seconds or as often as needed. No need to pair or connect. The software can even learn and adjust for different cars, phone models, or beacon placements.
Once the system knows the status (driver, passenger, etc.), it creates a small data file. This “driver status data file” is made so that other apps — insurance, rideshare, ticketing, or even car makers’ own apps — can read it easily. The file can be sent only if the user gives permission, keeping privacy in mind.

Let’s look at some of the clever ideas in this system:
1. No Need for Full Connection: The system gets enough info from the wireless signals alone. It does not need to create a Bluetooth or Wi-Fi connection, which saves time and battery.
2. Multiple Beacons, Multiple Metrics: Instead of just one beacon, the system uses several, in smart locations. It looks at signal strength, angle, and even the pattern as the phone moves (like when someone opens the driver’s door and sits down).
3. Profiles and Thresholds: The system uses stored “profiles” to know what signal patterns mean “driver” or “passenger.” These can be customized for different cars, beacon layouts, or even phone models.
4. Calibration: The system can do a calibration step. For example, a user can put their phone in the driver’s holder, tap a button, and the system learns what the signals should look like for that spot.
5. Privacy and Security: The “driver status data file” can be made with security features, like digital signatures, to prevent tampering. It is only shared with other apps if the user gives permission.
6. Works with Many Apps: The data file is designed so different apps can use it — not just one car maker, but also insurance, rideshare, public transport, or even home automation.
7. Can Use NFC for More Accuracy: In some cases, the car has a spot (like a charging pad) with an NFC tag. If the phone is placed there, the system knows for sure it is in the driver’s spot.
8. Validation and Learning: The system can check its guesses by looking at app activity or user actions. If it makes a mistake, it can learn and improve over time.
9. Flexible and Scalable: The same method works with many types of vehicles, beacons, phones, and even wearable devices.
These ideas may seem simple, but putting them together in a way that is fast, reliable, and easy to use is not easy. The patent covers not just the hardware, but also the smart software, the way profiles are made and used, and how data is shared with other apps.
Because the system uses signals that are already present, hardware costs are low. Car makers can add this to existing models, or users can add beacons as an upgrade. Insurance and rideshare companies can trust the results, because the system is hard to fool and uses security checks.
For drivers and passengers, this means more personalized, safer, and smarter cars. No more fiddling with connections. Your phone knows where you are, and the car can adjust settings, start the right music, or keep insurance costs fair.
This invention is a big step toward the future of connected, smart vehicles.
Conclusion
The vehicle occupant detection system described in this patent application is a simple but powerful leap forward. By using wireless beacons, smart placement, and clever data processing, it solves the long-standing problem of knowing who is driving, without the headaches of old systems. It is flexible, private, secure, and works with all kinds of apps and services. As cars and services get smarter, this kind of technology will be at the center of a safer, more connected driving experience. Whether you are a car maker, insurance company, or a driver who wants the best for your ride, this is a technology to watch.
Click here https://ppubs.uspto.gov/pubwebapp/ and search 20250216498.
