Invented by Chen; Yuqin, Hu; Haijing, Xu; Fangli, Apple Inc.

Cellular networks are the backbone of our daily connections, supporting everything from smartphones to smart sensors and satellite links. But as devices become more mobile and networks more complex, keeping data flowing quickly and smoothly isn’t always easy. A new patent application aims to make a big difference with a fresh approach to how devices send small amounts of data to the network, even when they move between different cells or base stations. Let’s take a closer look at this patent, what problem it solves, and how it could shape the future of wireless communication.
Background and Market Context
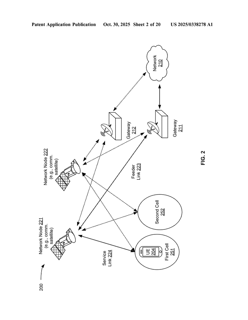
Imagine you’re using your phone on a train, or you have a weather sensor on a ship in the ocean. These devices must connect to networks that cover huge areas. Sometimes, those networks don’t just rely on towers on the ground—they use satellites circling high above the earth. As these devices move, they may leave the coverage area of one cell or base station and enter another. Each change can cause delays and extra steps before a device can send its data. These delays matter, especially when the data is small but important, like a sensor reporting a sudden temperature change or a safety signal from a moving vehicle.
Today’s networks, especially those using the latest wireless standards like 5G, are designed for speed and flexibility. But they still have to follow certain steps before a device can send “uplink” data (that’s information going from the device to the network). If you move from one coverage area to another, you usually have to wait for the network to set up new rules for your connection. This setup can take several back-and-forth messages, even for just a tiny piece of data. For devices that don’t send data very often, or for those that move quickly, these delays can waste time and battery power.
The problem isn’t just on the ground. With non-terrestrial networks (NTNs), like those using satellites, the challenge grows. Satellites move fast, and their coverage areas change quickly. If a device always had to start over every time it switched to a new satellite or a new ground station, connections would be slow and sometimes unreliable. This is especially tough for the Internet of Things (IoT), where many devices only wake up to send a quick message and then go back to sleep to save power.

A reliable way for devices to keep sending data, even as they switch coverage areas, could unlock new use cases. Think about smart farming in remote fields, ocean buoys tracking storms, or even wearable health monitors that work anywhere in the world. For all these, being able to quickly and easily send a message—without waiting for a lot of setup—would be a game changer. That’s where the idea of pre-configured uplink resources (PURs) comes in, and it’s exactly what this patent application is aiming to improve.
Scientific Rationale and Prior Art
To understand the innovation, let’s start with how things work today. In most cellular networks, when a device wants to send data but isn’t already connected (which is common for many IoT sensors), it needs to perform a “random access” procedure. This involves several steps: first, the device sends a special signal (often called Message 1 or Msg1) to say “I want to connect.” Next, the network replies with a response (Msg2), giving the device the information it needs to time its next message just right. Only then can the device send its data (Msg3), and finally, the network confirms it got the data (Msg4).
This process is reliable, but it’s not fast—especially if the device is only sending a tiny amount of data. Every time the device moves to a new cell or satellite, it usually has to start this setup all over again. For most people streaming video or surfing the web, this isn’t a big deal. But for battery-powered sensors, or for moving devices that need to send quick alerts, these extra steps can be a hassle.
Over the years, network designers have looked for ways to speed things up. One approach is “early data transmission” (EDT), where the device tries to send its data message as soon as possible, even as part of the initial connection process. But even EDT usually needs some setup, and if the device changes coverage areas, it might still have to start from scratch.
Another idea is to “pre-configure” certain network resources that a device can use for uplink transmissions. Think of it like reserving a fast lane on the highway for emergency vehicles—they don’t need to wait for a green light, they can just go. In some networks, this is called pre-configured uplink resources (PURs). The network tells the device in advance, “If you need to send something, use this specific time and frequency.” This works well if the device stays in the same area. But if it moves to a new cell or base station, the old PURs might not work anymore, and the device needs a new setup.

Past solutions have tried to address this by making PURs work across a small group of cells or base stations. But as networks become more complex, especially with satellite involvement, these older solutions don’t scale well. The timing of uplink transmissions becomes tricky, because devices and satellites both move, and the distance (and therefore the signal delay) can change quickly. If the timing isn’t right, the network might miss the message or think it’s from a different device.
In summary, the prior art gives devices a way to send data quickly if they don’t move, and sometimes if they move between a small set of known cells. But as we look to a future where devices roam across huge areas, connecting to both ground stations and satellites, what’s needed is a way for PURs to follow the device, without constant reconfiguration or timing problems. This is the gap that the new patent application seeks to fill.
Invention Description and Key Innovations
The patent application introduces a clever method for making PURs work smoothly across multiple cells and even across different base stations or satellites. The core idea is simple but powerful: once a device is set up with a PUR configuration, it can keep using it as long as certain conditions are met, even if it moves to a new network coverage area. Let’s break down how this works and why it matters.
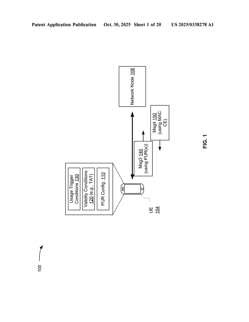
First, when a device (like a phone or a sensor) is in coverage, it receives a PUR configuration from the network. This configuration tells the device which resources it can use for quick uplink transmissions, and also includes a list of cells and base stations where this configuration is valid. The device stores this information, along with timing details (like the required “timing alignment” value) and any special conditions for when it can use the PURs.
Now, imagine the device moves from one cell to another, or even from one satellite to another. Instead of having to wait for a new PUR setup, the device checks if its existing PUR configuration is still valid for the new area. If it is, and if the timing is still in sync (checked using a timer called the Time Alignment Timer, or TAT), the device can go ahead and send its data right away using the pre-configured resources. There’s no need to start the whole access process again.

Timing is crucial here, especially when satellites are involved. The device needs to make sure its uplink transmission arrives at the right moment, not too early or too late. The patent covers several ways to manage this. For example, the network can tell the device to re-use the same timing as before, or to adjust the timing based on new information (like the distance to the new satellite or base station). In some cases, the device can perform a quick calculation to “pre-compensate” for timing changes, so its data arrives on target.
There are also smart triggers to make sure the device only uses its PUR when it’s safe and effective. For example, the device may check its distance to the satellite or the expected signal delay, and only send data if it’s within certain limits. This helps avoid problems where the timing is off and the message might get lost.
Another key part of the invention is how the network responds to uplink transmissions. When a device sends data using its PUR, especially in a scenario where many devices might try to use the same resource, the network sends a confirmation (called Msg4) back to the device. This message includes unique information—like the device’s identifier or a special reference signal—that lets the device know its message was received successfully. This avoids confusion when multiple devices are sharing the same PUR.
The patent also covers the setup and communication between base stations or satellites. When a device’s PUR configuration is valid across multiple areas, the current base station can share all the necessary details with the new base station. This way, the new area is ready to accept the device’s uplink data right away.
Finally, the patent isn’t limited to just one type of device or network. It works for phones, sensors, IoT gadgets, and any device that needs to send small messages quickly. It also works for terrestrial networks (on the ground), satellite networks, or combinations of both.
In summary, the key innovations are:
– Allowing PUR configurations to remain valid across multiple cells, base stations, or satellites, reducing setup time and signaling overhead.
– Introducing smart timing and trigger checks to make sure uplink transmissions are always well-timed, even in fast-changing environments.
– Enabling fast confirmation of successful data delivery, even when multiple devices use the same PUR.
– Sharing PUR configuration details between base stations or satellites so devices can roam freely without losing the ability to send quick messages.
These changes mean that devices can send important data faster, with less waiting and less battery drain—even as they move across huge areas or switch between ground and satellite coverage. For network operators, it also means less signaling “chatter” and a more efficient use of resources.
Conclusion
This patent application points to a future where devices can send small, important messages to the network quickly and reliably, no matter where they are or how they move. By making PURs flexible and smart, the invention could help new classes of devices and services thrive—whether it’s a smart sensor in the middle of the ocean, a wearable health tracker in a remote village, or a sensor on a fast-moving train or airplane.
For anyone building or operating wireless networks, or designing IoT devices that need to be always ready to send critical data, this approach could be a big step forward. It promises better user experiences, longer battery life, and more responsive systems—without the frustrations of lost data or long waits for network access. While the details are technical, the impact could be felt by everyone who relies on smart, connected technology in their daily lives.
Click here https://ppubs.uspto.gov/pubwebapp/ and search 20250338278.
