Invented by Mamidwar; Rajesh Shankarrao, Chen; Xuemin, Hou; Victor T., Avago Technologies International Sales Pte. Limited

Today, the digital world depends on fast and reliable internet. Whether you’re in a video call, playing a game online, or exploring virtual worlds, every second counts. If you’ve ever faced lag or choppy video, you know how annoying delays—called latency—can be. This article explores a unique patent application that tackles latency in home and business networks. We’ll break it down in three simple sections: why it matters, what makes this idea different, and how it all works.
Background and Market Context
Internet has become a basic need for most people, just like water and electricity. We expect our connections to be smooth, fast, and always on. But sometimes, things slow down. When you click a link, start a video chat, or play a game, every moment you wait is due to “latency.” This is the time it takes for data to travel from your device to another and back. While a few seconds might not matter when loading a website, it can ruin live calls or online games.
Over the past few years, more and more activities now need “low latency.” Video meetings, cloud gaming, and virtual reality (VR) or augmented reality (AR) are just a few examples. These activities need the internet to respond almost instantly. If there’s too much delay, you see frozen faces, hear voices out of sync, or lose a game because your moves are late. As technology moves forward, more devices in our homes rely on low latency networks, from smart TVs to security cameras.
Internet Service Providers (ISPs) are companies that bring internet to your home or office. They have a lot of equipment—cables, modems, servers, routers, and more—that helps send data to and from your devices. But these many pieces can also add to latency. Sometimes, networks are busy, and to handle lots of users, ISPs allow data to wait in line, using “buffers.” These can make delays even longer, especially when many people want to use the internet at once.
Latency isn’t just a problem for fun activities. It affects work, school, health, and safety. For example, doctors can’t guide remote surgeries if the video lags. Students can’t learn well in online classes if the teacher’s voice is delayed. Even smart homes and security systems suffer if signals take too long. When latency is high, hackers might also find it easier to attack networks, making them less secure.
The market has noticed these problems. ISPs and tech companies now race to offer “low latency” plans for people who want smooth and fast internet for gaming, video calls, or advanced tech like AR/VR. But it’s not enough to just promise low latency. ISPs must see where delays happen along the entire path your data travels. Without this, they can’t fix the real causes, and users still get poor service.

This is where the new patent comes in. It describes a way for ISPs and users to track, measure, and even fix delays—right from your device, through the home network, all the way to the cloud. This isn’t just about seeing that there is a problem, but knowing exactly where it is, so it can be fixed quickly. This helps everyone—from families and gamers to businesses and ISPs—get the best possible experience every time they go online.
Scientific Rationale and Prior Art
Let’s talk about how networks and latency have been handled until now. Traditionally, ISPs measured delays in big chunks, usually at the edges of their networks. They could see when users complained, or when things generally slowed down, but they didn’t always know why. If you reported lag, the ISP might blame your modem, your WiFi, or even your device, while you blamed the ISP. No one could see the whole picture.
Engineers use many tools to try to measure latency. They send “packets” of data across the network and measure how long it takes to go from one place to another. Sometimes, they use “pings” or “traceroutes” to test the speed. These methods can give a general idea of delays, but they’re often not precise or detailed enough. They can miss small, quick problems that ruin sensitive apps like gaming or video calls.
There are also some tools that add “time stamps” to data. This means that when a piece of data enters a device, it gets a label showing the time. When it leaves, it gets another label. By comparing these, you can see how long it sat inside the device. Some companies have tried to put this kind of tracking in cloud servers or in big, expensive routers. But they rarely cover every part of the data’s journey, especially not the home or small business network.
Some networking standards, like IEEE 1588 Precision Time Protocol (PTP), help devices in big networks keep their clocks in sync. This lets engineers measure time very carefully. But these tools are not usually built into the devices people use at home, like modems, WiFi routers, set top boxes, or gaming consoles. Plus, these standards can be complex and hard to set up outside of big business networks.
In recent years, devices like smart TVs, AR/VR headsets, and cloud gaming consoles have become common in homes. Each device might have its own way of connecting, and each can add delays. Some companies have tried to offer “low latency” services by giving some data higher priority or by using faster paths. But again, these tools mostly work at the big network level, not at every step.

In the past, no one has combined all these ideas into a single, easy-to-use system that covers every part of the network, from your device, through your home, to the cloud, and back. No system has let ISPs, users, and even app makers see detailed latency for every device and link. No system has allowed real-time changes to how data is handled, or given users smart offers to upgrade their service if they need better speed at certain times.
This patent stands out because it brings together precise time tracking, smart software “extensions” that work in many kinds of devices, and a way for all parts of the network to share and use latency information. It also covers how this information can be used to fix problems, make smart offers, and help both ISPs and users get more value from their networks.
Invention Description and Key Innovations
Now, let’s dive into what this patent really does. The invention is about a system that helps watch and control latency across all the steps data takes between your device and the internet, especially for activities that need quick responses.
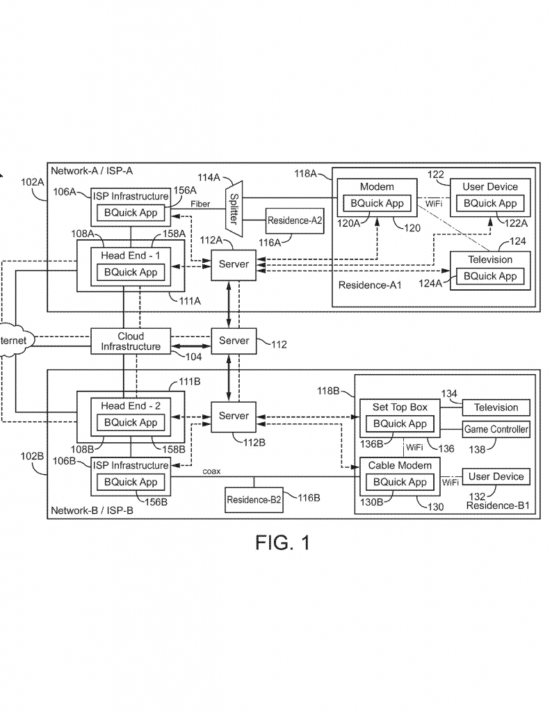
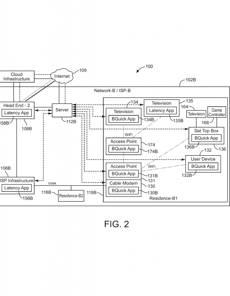
At its core, the system uses smart software called “applications” that can be added to many types of devices. These can be modems, WiFi routers, set top boxes, AR/VR headsets, computers, or even cloud servers. The software works by adding time stamps to every data packet as it moves through each device. When a packet enters a device, it gets a “start” time. When it leaves, it gets a “stop” time. With these two numbers, the software can see how long the packet spent inside that device.
But the magic doesn’t stop there. Every device along the path does this, so as the data travels from your home, through your network, to your ISP, and out to the wider internet or cloud, every hop is recorded. This creates a detailed “history” of time stamps. When the data arrives at a special server run by the ISP (or sometimes in the cloud), the system can look at all these numbers and see exactly where the delays happened. Was it your WiFi? The modem? The ISP’s own network? The cloud server? Now, there’s no guessing.
One key part of the invention is that these time stamps can be very accurate. The system can use special clocks, like those synced to satellites or using PTP, to make sure every device is using the same time. This way, the measurements are precise, not just rough guesses.

Another big idea is that the software doesn’t just watch. It can also act. If the system sees that a certain device or path is slow, it can send commands to change how data is handled. For example, it can move your video call data into a “high priority” lane, or shift other less important traffic out of the way. If your network is being used for online gaming and a movie is downloading at the same time, the system can make sure the game gets the speed it needs, while the movie waits a bit longer.
The patent also covers how the system can be used to offer better services to users. For example, if it sees you need more speed for gaming every evening, the ISP can send you a smart message offering a plan upgrade, just for those hours. Or, if your current equipment is too slow, it can suggest a new modem or router. This isn’t just random ads—it’s based on real data from your usage, making it more useful and less annoying.
The invention is also flexible. The software “extensions” can be added to many different devices, whether they’re owned by the ISP or by you. They can work over many kinds of networks—cable, fiber, wireless, or even satellite. The system can use both real physical connections (like cables) and “virtual” connections (like software paths over the internet), making it easy to adapt to new technology as it comes along.
Here’s how it all comes together in practice:
Imagine you start a video call on your laptop. The data from your call enters your WiFi router, which adds a time stamp. It moves through your modem, which adds another. As it travels through the ISP’s network, each switch or server adds more time stamps. When the data reaches the cloud, the server there also adds its own. On the way back, the same thing happens. When you or the ISP looks at the logs, you can see exactly where the delay happened. If the WiFi was slow, maybe you need to move closer to the router. If the ISP’s network was busy, they can fix it. If the cloud server lagged, the app maker can improve their system.
This level of detail means problems can be fixed faster, and the user experience improves. It also means ISPs can manage their resources better, helping everyone get smoother service. The system also allows for real-time or near real-time monitoring, so issues are caught as they happen, instead of after many users complain.
There’s more. The system can keep a “history” of latency for each device, user, or application. This data can be used to spot trends, like if your network is always slower at certain times or if a certain device needs an upgrade. It can also be used to make smart offers—like giving you more bandwidth when you need it, or suggesting ways to save money when your needs are lower.
Technically, the invention works by having each device run a small program that can talk to a central server. These programs can be updated easily, work across many types of equipment, and don’t need special hardware. This means they can be added to existing networks with little effort. The central server collects all the latency data, analyzes it, and acts based on what it finds.
The patent also covers special ways of choosing which data packets get the best treatment. The software can sort packets into different “queues” based on how important or time-sensitive they are. High-priority data, like a live game move or a doctor’s video call, gets sent first. Less important data, like a background software update, can wait. This helps make sure the most critical tasks always get the fastest possible connection.
In short, this patent combines time tracking, smart software, and real-time control, all in a way that works across many types of devices and networks. It gives ISPs and users the power to see, understand, and fix latency, making life online smoother and more enjoyable for everyone.
Conclusion
In today’s fast-moving digital world, low latency isn’t just a nice-to-have—it’s essential. From video calls to gaming and beyond, users demand internet that responds instantly. The patent we explored today introduces a smart, detailed way to track and manage latency across every step of the network, from your home devices to the cloud. By adding precise time stamps, using flexible software, and allowing real-time control, this system gives both users and ISPs the tools they need to find and fix delays quickly.
This approach stands out because it covers every part of the network, works with many devices, and can adapt to new technology as it appears. It’s not just about watching for problems—it’s about fixing them, improving service, and even offering users better plans based on real needs. As our world becomes more connected, systems like this will be key to making sure everyone gets the fast, smooth, and reliable internet they expect.
If you’re an ISP, a tech company, or just someone who wants your home network to work better, this patent offers a roadmap for the future—a future where latency is tracked, understood, and managed, so every online experience is as good as it can be.
Click here https://ppubs.uspto.gov/pubwebapp/ and search 20250337672.
