Invented by FURMAN; Christian, Big Cat Outdoors Inc.

If you play disc golf or just love to collect discs, you probably know the struggle of keeping your discs neat and easy to grab. There’s always been a gap between flimsy bag dividers and big, bulky home racks. But a new patent application aims to fix that, introducing a modular rack system that works both in your bag and on your shelf. Let’s look at where this idea comes from, why it matters, and how the invention changes the game for disc golf storage.
Background and Market Context
Disc golf has quickly grown from a fringe activity to a popular sport with thousands of players around the world. Players often use many different discs—drivers, midrange, and putters—each with their own special shape and use. Managing these discs, both on the course and at home, can be a headache. Most bags try to solve this using soft dividers held by Velcro. These dividers create “pockets” for the discs. But there are big problems with this solution. When your bag isn’t full, the discs tip over or lean. The pockets lose their shape, and sometimes players just rip out the dividers because they don’t help at all.
At home, things are not much better. The usual storage racks for discs are just two bars set far apart, with the discs stacked upright and a single divider at the end. These racks are made for bulk storage and are not portable. They also don’t help you find a disc fast or keep them organized by type. Some stores use rigid dividers, like a dish rack, but they waste space and can’t fit in a bag.

So, players have been stuck with two choices: bags that are not very organized, or home racks that are not portable. Many players want something better—something that keeps discs standing up, allows for high density (lots of discs in a small space), and can be customized for different types of discs. They also want something that works in a bag, a pull cart, or on a shelf. The market has been missing this key product. This gap is what the new modular rack invention aims to fill.
Scientific Rationale and Prior Art
Before this invention, most disc storage solutions fell into a few basic types. The first is the soft divider system in bags, which creates big pockets for groups of discs. These systems are too soft, so when the bag is not full, the discs flop around. The pockets can’t hold their shape, and discs can lean or fall. This makes it hard to find the disc you want, and sometimes even damages the discs. Players often end up not using these dividers at all.
For home use, racks with metal or wood bars let you set discs upright. But these racks are designed for storing lots of discs, not for daily use on the course. They are heavy, have a fixed size, and can’t be moved easily. They don’t organize discs by type or let you adjust for new discs. Some racks in stores use thick, rigid dividers like a dish drying rack. These dividers have to be wide enough for the biggest disc, and the dividers themselves take up space. This means you can’t fit as many discs in a small area, and these racks are not made to be portable.

Some players have tried home fixes, like using cardboard, plastic boxes, or even do-it-yourself foam inserts. But these are rarely strong, neat, or easy to use. They also don’t let you change your setup as your disc collection changes.
Every disc is a little different in size and shape, but there are three main types—drivers, midrange, and putters. Each has its own width, profile, and “nose” (the rounded edge). A good rack needs to hold each disc tight enough so it won’t fall, but not so tight that it’s hard to get out. Prior art, or earlier inventions, didn’t really solve this. They used one-size-fits-all slots or big pockets, which means discs rattle around or lean over. These old solutions also didn’t let you mix and match for different disc types, or change the rack as your game or collection grows.
The need for a flexible, sturdy, and high-density solution that works both in a bag and at home has been clear for a long time. But it had not been met—until now.
Invention Description and Key Innovations
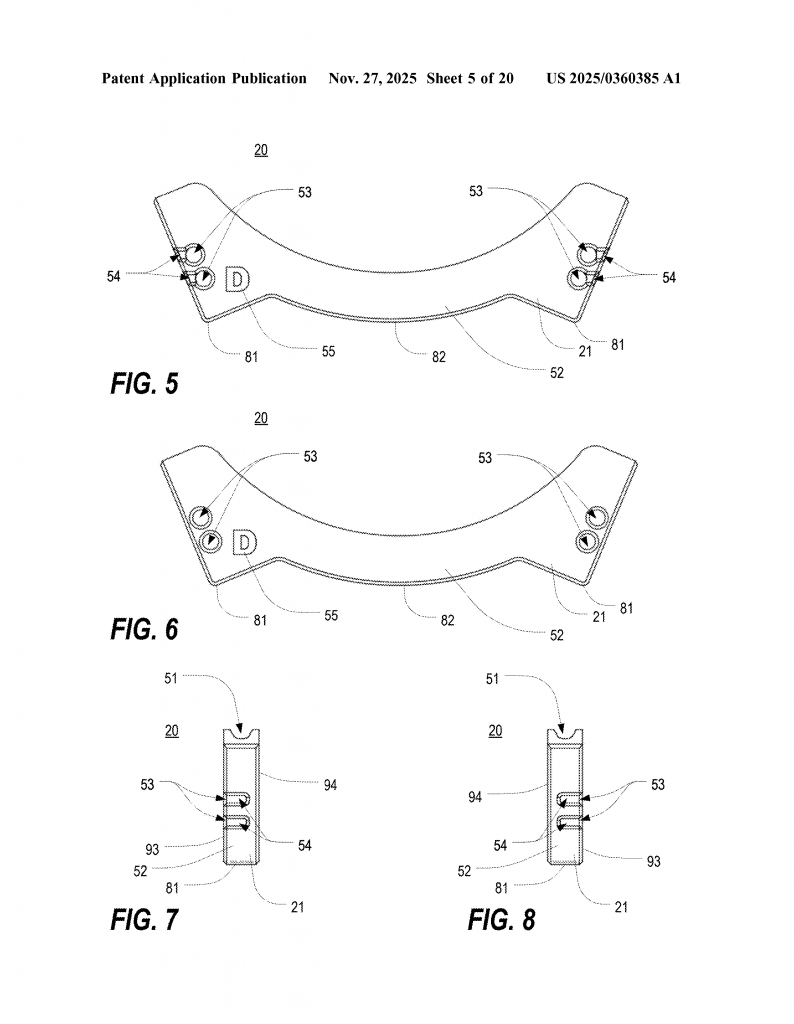
This new patent sets out to solve all of the old problems with a simple but smart system: modular racks made from individual “modules” that snap or lock together. Each module is a small part of the rack, made to hold one, two, or three discs upright. Each module has a base and one or more grooves at the top. Every groove is shaped to fit a disc tight enough to hold it upright, but not so tight that it’s hard to pull out. The cool part is that these grooves can be different shapes and sizes, so you can have special modules for drivers, others for midrange, and others for putters. Each module can even have a label or mark to show what kind of disc it holds.

The modules are made to line up side by side. They connect using a simple mechanical coupling—a cord, bar, or clip that runs through holes in each base. When you pull the cord tight, the modules squeeze together, forming a strong rack. The friction holds at the ends keep the cord from slipping out. This means you can build a rack as short or as long as you want, add or remove modules, and even swap them around if your disc collection changes. Want more space for drivers? Add another driver module. Need to carry more putters one day? Swap in a putter module. The rack is fully customizable.
Support modules add even more options. These are modules with a tall plate or wall, sometimes with a handle, that can go at the ends or between groups of discs. They help keep the rack stiff, make it easier to lift, and can even keep a soft bag from caving in when it’s not full. You can use as many or as few support modules as you like, and put them wherever you want.
The invention also covers using the modular rack inside a bag. You just build the rack to fit your bag, pop it in, and now every disc stands up straight and is easy to grab. You can use the same rack at home, on a shelf, or even take it out and use it anywhere else.
The grooves in the modules are carefully shaped. The width of the groove (where the disc sits) can range from 12 mm to 24 mm, which covers almost all disc types. The groove is also curved from front to back, matching the curve of the disc. The side walls of the groove can be “V”-shaped, and the bottom is “U”-shaped, matching the nose radius of the disc. All of this means discs won’t wiggle or tip, and the rack can fit lots of discs in a small space. The groove shape also means you don’t need thick dividers, so you can store more discs than with old racks.
What makes this system even better is how easy it is to change. If you get a new disc type, just add a new module. If you want to use the rack in a different bag or shelf, just take it apart and rebuild it in a new size. You can even take out a module, rearrange them, or add support modules for extra strength. The rack is strong, light, and can be made from many different materials. The patent mentions PETG plastic, which is tough, light, and good for 3D printing. But you could use other plastics, foam, wood, or even metal if you need extra strength.
The way the modules connect is also flexible. The main example is using a cord that runs through holes in all the modules and is held tight by friction at the ends. But you could use a rod, a clip system, or even metal tubes for extra rigidity. This means the system can be made for home, for bags, for carts, or for any other use you can think of.
The result is a rack that holds each disc upright, with no more than one disc per groove. This gives you easy access, keeps the discs safe, and lets you organize them by type or in any order you like. The system is simple to use, easy to build, and can be changed as your needs change. It’s a big step forward from the old one-size-fits-all or bulky storage racks.
Conclusion
Disc golf players have long needed a better way to store and organize their discs. Old solutions were either too soft and floppy, too bulky, or not flexible enough to grow with a player’s needs. The modular rack invention changes all of this. By letting users build their own rack from individual modules, each shaped for a single disc type, the system offers unmatched flexibility and strength. You can use it in your bag, on your shelf, or anywhere you need. If your collection grows or changes, your rack can too.
The smart groove shapes, the easy-to-use connecting systems, and the option to add support modules make this a real leap forward for disc golf storage. Whether you’re a pro with dozens of discs or a new player with just a few, this invention gives you control over how you carry and store your gear. The simple design, the ability to customize, and the use of strong, light materials make it a solution that finally matches the needs of modern disc golfers. As disc golf keeps growing, this kind of smart, modular gear will help players stay organized and ready to play their best game.
Click here https://ppubs.uspto.gov/pubwebapp/ and search 20250360385.
