Invented by Kramer; Helen, THE MOBILE APP COMPANY

Imagine walking up to a food truck and, with a quick scan, having a fully branded app pop up on your phone—showing only that business’s menu, colors, and logo. No confusing navigation, no generic screens, just the information you need from that spot. This is now possible with a clever new way to use QR codes and mobile apps, making life easier for both businesses and customers. Let’s dive into how this new system works and why it matters.

Background and Market Context

In today’s world, QR codes are everywhere. You see them taped to restaurant tables, shop doors, and event posters. They’re a simple way for businesses to share menus, promotions, or let you download their mobile app. For customers, this is meant to be fast and easy—you point your phone, scan, and get the info you want. But in reality, things can get tricky.

Many times, when you scan a QR code, you’re taken to a web page where you need to download an app for that business. But what if your phone’s internet is slow or you’re in a spot with poor signal? You might not be able to download the app at all. That’s frustrating. Some people give up and leave, and businesses lose out on a sale or a new customer.

The other side of the story involves the business owners. For small businesses, like food trucks or local shops, creating and maintaining a custom app is expensive. Not only does it cost money to build the app, but every change or update—like a new menu item or holiday hours—means more time and money. Plus, getting apps approved by Apple and Google can be slow and complicated. Many small businesses simply can’t keep up.

So, we end up with a problem: customers want quick access to what matters, but technical and cost barriers get in the way for both sides. There’s a clear need for a better way. That’s where the idea behind this new patent comes in: a system that lets businesses easily offer a personalized app experience through QR codes, without the hassle of building a new app for every business.

This new system is important for several reasons. First, it helps businesses look professional and modern, no matter their size. Second, it makes things straightforward for customers, who get the information they want with one scan. And finally, it opens up new ways for businesses to connect with people—like special offers, order ahead, or loyalty points—without making things complicated. The market is ready for simpler, smarter ways to bridge the gap between physical places and digital experiences.

Scientific Rationale and Prior Art

To understand why this system is different, let’s look at how things have been done before. In the past, businesses that wanted a mobile presence needed to build their own app from scratch. Each app was a separate project, with its own code, branding, and updates. If you owned three coffee shops, you might have to manage three different apps, or at the very least, keep updating your app every time your menu changed.

QR codes became popular as a shortcut. Instead of searching the app store, you could scan a code and go straight to a download page for the business’s app. But this still meant every business needed its own custom app, and customers had to download a new app for every place they visited. This made things messy. On top of that, if a business changed anything—like adding a new item or changing hours—they had to update their app and wait for the app stores to approve it. This could take days or weeks.

Some platforms tried to help by offering “template” apps. These let businesses create a basic app with their logo and colors without hiring a developer. But even then, each business’s app had to be managed separately. Some systems used web pages that looked like apps, but these didn’t feel as smooth or as fast as real apps, and they couldn’t use phone features like notifications or easy ordering.

Another problem was security and privacy. If you scanned a QR code, you might end up on a page showing information from other businesses, or worse, something unsafe. There was no easy way to make sure each app experience stayed focused on the business that the customer wanted.

This is where the new system stands out. It uses a single, shared app that lives on your phone. When you scan a QR code from any participating business, the system checks a database and instantly loads just that business’s information, using a custom-designed template. Each business can update its own content—like menus or deals—without needing to update the whole app or wait for approvals. And, importantly, the app only shows information for the business you scanned, keeping things safe and tidy.

In summary, while QR codes and template apps are not new, nobody has combined them in this smart way: one shared app, many business templates, instant updates, and a secure, focused experience for the user. This approach solves the old problems and opens up new possibilities for both small and large businesses.

Invention Description and Key Innovations

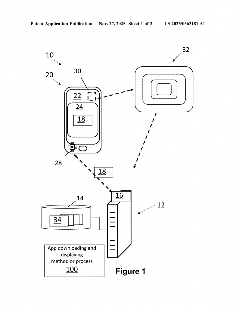
Now, let’s break down how this system actually works and why it’s a game changer. Imagine you’re at a food truck called Fae’s BBQ. You see a QR code on the truck and scan it with your phone. Here’s what happens next, all behind the scenes:

Your phone’s camera reads the QR code and sends a special code (called a business ID) to a central server. This business ID is unique to Fae’s BBQ. The server checks its database to find a template—a special design with Fae’s BBQ’s colors, menu, and logo—that matches the business ID. This template is like a “skin” or “face” for the app, making it look and feel like it was built just for Fae’s BBQ.

If you don’t already have the app on your phone, the system figures out what kind of phone you have (Apple, Samsung, etc.) and opens the right app store page for you. This means you don’t have to hunt around or click extra links. If your phone can’t download the app right away, maybe because of a poor connection, the system can show a simple web page with the most important info, so you’re not left with nothing.

Once the app is on your phone, it opens up and shows the Fae’s BBQ template. You can see the menu, order food, get updates, whatever the business has set up—all inside one app that feels like it was made just for them. Importantly, the app blocks you from seeing templates or content from other businesses. This keeps things focused and safe. If you go to another food truck later and scan their code, the app quickly switches to their template, so it always matches where you are.

Here are some key ways this system stands out:

First, businesses don’t have to build and manage their own apps. They just set up their template once in the central database. Changes to the menu, hours, or colors can be made anytime, and customers see the updates instantly—no need for app store approvals or waiting.

Second, customers don’t have to download a new app for every business. They use one main app, and it magically transforms to match wherever they are. This saves space on phones and makes things much less confusing.

Third, the system is very secure. Since each QR code only opens the template for its business, customers don’t risk seeing wrong or unsafe content. The app also checks to make sure the business is real before showing anything, adding another layer of safety.

Fourth, the experience is fast and smooth. The app opens right to the content you want, with no extra steps. If you scan a second QR code, the app instantly changes to show the new business’s info. This is perfect for places like malls, food truck gatherings, or festivals, where you might want to check out several businesses in a row.

Fifth, the system is flexible. It can work with many types of businesses, from restaurants to shops to service providers. All they need is a QR code and a template in the database. The app can also support extra features, like ordering, coupons, or notifications, all managed through the same template system.

Technically, this system uses smart links and “deep links” to make sure the right app page opens on your phone, depending on which brand you use. The server handles all the heavy lifting, so the app can be lightweight and easy to use. When a customer scans a QR code, the app asks the server for the latest info and template for that business. This means businesses can update their content at any time, and users always get the freshest version without needing to update the app itself.

In short, this invention takes the best parts of QR codes, templates, and mobile apps, and puts them together in a way that’s simple, safe, and powerful for both businesses and customers. It cuts costs, saves time, and makes digital experiences feel personal—even for the smallest business on the block.

Conclusion

This new way of using QR codes and mobile app templates is a big step forward for both businesses and customers. It solves old problems—like the hassle of building and managing separate apps for every business, or the confusion of downloading too many apps—and makes the whole process smoother and safer. With this system, a single app can become the face of any business, instantly updated and always focused on just what the customer needs. It’s faster, easier, and more secure, helping businesses of all sizes connect with customers in a modern, friendly way. As QR codes keep popping up in more places, and as people expect everything to work quickly on their phones, this invention is sure to play a big role in the future of local business and mobile technology.

Click here https://ppubs.uspto.gov/pubwebapp/ and search 20250363181.