Invented by Blaisure; Jonathan, Koehler; William, Schultz; Mark, Chocron; Elliot, Colson; Phil, Colson; Michael

Welcome! Today, we’re going to dive into a smart new patent application that could change how phone calls are routed, especially for people who need more privacy and control. If you’ve ever wondered how celebrities, business leaders, or anyone in the public eye could keep their phone numbers and still filter calls, this invention is for you. We’ll break down why the market needs this, how it builds on what’s already out there, and how the invention’s special features work. Whether you’re a tech enthusiast, a legal professional, or just curious, this guide will teach you everything you need to know, in simple, clear language.
Background and Market Context
Let’s start with the big picture. In today’s connected world, privacy is harder to keep, especially for people in the spotlight. Public figures—like celebrities, politicians, or business leaders—often get flooded with calls. Their phone numbers can spread quickly and widely, sometimes by accident, sometimes on purpose. When this happens, these people can get overwhelmed with calls, messages, and even threats. This isn’t just annoying. It can be a real security risk.
When these users get too many unwanted calls, their first move is often to change their phone number. But changing a number creates new headaches. Old contacts might lose touch, and the hassle of updating everyone is real. Plus, the new number can also leak out, starting the problem all over again. So, there’s a clear need for a smarter solution. One that lets people keep their number, but stay in control of who can reach them. This is where the invention steps in.
The market for this kind of system is big and growing. High-profile individuals want to stay available to close friends, family, and trusted business partners. But they want to block out noise from the public, telemarketers, and people with bad intentions. At the same time, regular people are also worrying more about privacy and robocalls. Businesses want to give their teams more control, too. So, a flexible call routing system isn’t just for the rich and famous. It’s for anyone who values privacy and wants to manage their calls better.
Cutting-edge call routing brings in more than just basic blocking or forwarding. It means using smart technology to check and direct calls based on who’s calling, when they call, and even the urgency of the call. Users want to set their own rules, decide who can break through, and get messages in the way that works best for them—such as voicemail, text, or alerts. The invention described in this patent application aims to meet all these needs, and more, with an easy-to-use system.

Scientific Rationale and Prior Art
To really understand the value of this invention, let’s look at what already exists and what’s missing. Traditional phone systems have tried to solve call overload with features like caller ID, call blocking, and “Do Not Disturb” modes. Businesses might use private branch exchange (PBX) systems that route calls inside an office or company. More recently, digital tools let people screen calls, send unknown numbers to voicemail, or use apps that filter spam.
Despite these efforts, none of the old solutions solve the core problem. Caller ID can be faked. Call blocking is only as good as your list, and numbers change all the time. “Do Not Disturb” is a blunt tool—it blocks everyone, even important contacts. PBX systems are built for offices, not for people managing personal calls. And while some apps let you whitelist or blacklist numbers, they don’t handle cases where someone’s number needs to be open to the public, yet still private to a select few.
In the patent world, there are inventions around interactive voice response (IVR), voicemail, and even multi-factor authentication for calls. Some systems use PINs, voice prints, or callbacks to check identity. Others use call forwarding rules, or send calls to voicemail if not answered. But these systems usually stand alone. They don’t tie together authentication, smart routing, emergency overrides, and flexible delivery of messages across different devices.
One key gap is managing breakthrough calls—letting certain people or calls reach you, even when you’re blocking everyone else. VIPs need to let trusted contacts get through, even when their number is widely known. Current systems don’t give fine-grained control over who can call, when, and how messages get delivered. They also don’t make it easy to update these rules, or to give someone temporary access in special situations.
Another gap is message handling. Voicemail is common, but most systems don’t turn voice messages into text, or make it easy to share them with assistants or teams. They don’t use smart analysis—like speech pattern recognition, or context analysis—to help decide which calls are most important.
In short, the prior art gives us the building blocks: call routing, authentication, voicemail, and some automation. But it doesn’t combine them in a way that gives users real control, flexibility, and privacy, especially in fast-changing situations. This is where the invention shines.

Invention Description and Key Innovations
Now, let’s dig into how this new system works, and what makes it special.
At its heart, the invention is a call routing system that puts the user in charge. It combines several main parts:
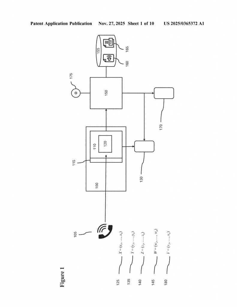
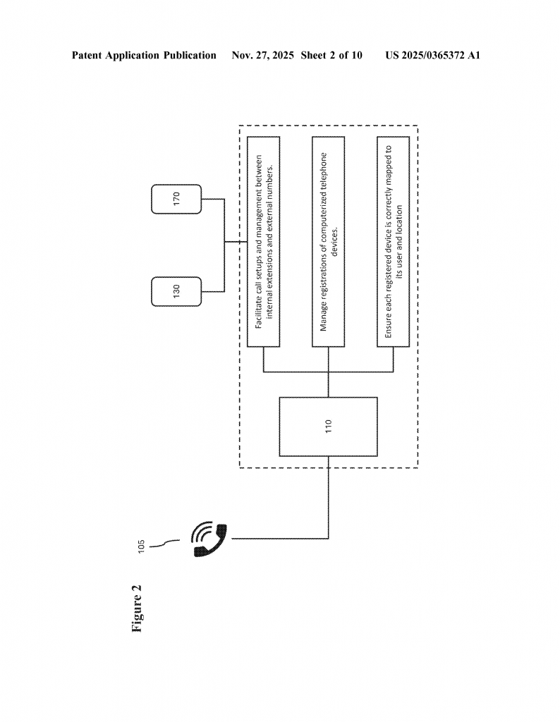
First, there’s a branch exchange system. Think of this as the brain of the phone network. It receives all incoming calls. Then, there’s a session initiation protocol (SIP) server, which helps manage calls, especially over the internet. The SIP server has a firewall to block unwanted traffic. All calls pass through this server, which checks if they should be allowed in.
Next, the system uses an automated attendant—like a virtual receptionist. When a call comes in, the attendant asks the caller to enter an authentication code. This could be a PIN, a password, or even a voice sample. If the code matches, the call goes forward. If not, the system can block the call, send it to voicemail, or ask for more proof.
Authentication can be very flexible. It might use the caller’s phone number (automatic number identification), a code, or even something like a fingerprint or face recognition if the devices support it. The system can layer these checks, making it very hard for unwanted callers to break through.

One of the biggest innovations is the “breakthrough routing identifier.” This is a special code or signal that lets certain people bypass the normal blocks. For example, a trusted assistant or family member might have a code that lets them reach you even when everyone else is blocked. There can be more than one breakthrough code, each with its own level of access. This is perfect for emergencies or for letting someone contact you just for a short time.
The system also lets users control who is on their “allowed list.” You can add or remove people, or change their status, right from your device. If you want to let a business partner reach you during a negotiation, you can flip a switch. When you’re done, you can turn it off. This real-time control is a huge step up from old systems where changing rules was slow and hard.
Another key feature is time-based control. You can set certain codes or access to only work during set hours—like business hours, or when you’re traveling. If someone tries to use a code outside that window, it won’t work. But the breakthrough code can override these time blocks if needed. This means you’re always protected, but never locked out in an emergency.
Message handling is also smarter here. If a call can’t get through, it can be sent to voicemail. But this isn’t old-school voicemail. The system records the message, then uses speech-to-text software to turn it into a written file. Both the audio and the text go into a database, ready for you to check from your phone, computer, or even forward to a team member. You can choose how and where you get your messages, and even set priority levels—so urgent messages get your attention right away.
Even better, the system can use a large language model to analyze messages. It can look at the words used, the way they’re said, and other clues to help sort messages by urgency or topic. For example, if a message sounds urgent or emotional, the system can flag it for you. This helps make sure that important calls or voicemails don’t get lost in the pile.
Everything is built to be easy to use. You can control the rules, add or remove people from your allowed list, set time windows, and change how you get messages—all from your device. The system is flexible, so it can be set up for one person, a family, or a business team.
Let’s imagine how it works in real life. Say you’re a CEO and your number is public, but you only want direct calls from your top team. When a call comes in, the system checks if the caller is on your list. If yes, the call goes through. If not, the caller is asked for a code. If they don’t have it, the call goes to voicemail. But if your assistant needs to reach you during a crisis, they enter a breakthrough code and get through, even if you’re in “do not disturb” mode.
The system can also deliver voicemails to more than one person. If an urgent message comes in, you and your assistant can both get the audio and text. You can even set rules for different types of messages, sending business calls to one device and personal ones to another.
Setup and updates are fast and simple. You’re not locked into one set of rules. If you need to change who can reach you, or when, it’s just a few taps on your phone or clicks on your computer.
The true power of the invention is how it brings together all the tools—authentication, smart routing, breakthrough codes, flexible rules, smart voicemail, and message analysis—into one system that gives you peace of mind and real control.
Conclusion
The patent application we’ve explored today is much more than a call blocker. It’s a full-featured, user-friendly system for call control, privacy, and smart message handling. By combining smart authentication, breakthrough access, flexible rules, and advanced voice-to-text features, it offers the control and flexibility that high-profile users need—without forcing them to constantly change their phone numbers.
This invention isn’t just for celebrities or CEOs. As privacy becomes more important to everyone, these tools will likely become part of everyday phone systems. With its blend of easy control, strong security, and smart automation, the invention sets a new standard for how we manage our calls and messages. If you’re thinking about protecting your own privacy, or you build products for people who care about theirs, this patent application is one to watch.
Click here https://ppubs.uspto.gov/pubwebapp/ and search 20250365372.
