Invented by Gupta; Saurabh

Modern medicine is changing fast. To help doctors and hospitals make better choices, save money, and help patients, new technology is needed. Today, let’s explore a new patent application for an integrated medical platform that uses artificial intelligence (AI) and machine learning (ML) to bring together all kinds of patient data in real time. This new platform doesn’t just collect information – it helps medical teams make smart choices during complex procedures, predict what might happen, and handle billing and paperwork more easily. Here’s how this invention could change healthcare for everyone.
Background and Market Context
Hospitals and clinics perform millions of medical procedures each year. These range from simple check-ups to tricky operations such as transcatheter aortic valve replacement (TAVR), which helps people with heart valve problems. The healthcare system is flooded with data: X-rays, scans, notes, bills, and records from many sources. But all too often, this information is scattered, stuck in old software programs, or hard to find when it matters most.
Doctors and nurses spend precious time hunting for details instead of caring for patients. Hospitals sometimes miss out on full payments because they can’t prove everything they did. Many have to hire extra staff just to fill out forms for insurance and government rules. Most of all, doctors want tools that help them quickly see the whole picture, spot risks, and find the best plan for each patient, not just rely on guesswork or memory.
As medicine becomes more complex, this need grows. Take TAVR as an example. It’s a less invasive alternative to open heart surgery, but it requires lots of careful planning. Teams need to pull together scans, videos, lab results, and check which medical devices are the right fit for each person. Missing even one piece of information can lead to problems, more time in the hospital, or worse outcomes.
Traditional software systems can’t keep up. They often can’t talk to each other, don’t process images or videos well, and are slow to update. Some programs only pull out simple facts from patient charts, but don’t help with decision-making, billing, or quality controls. This leaves doctors without the support they need. Medical device companies also wish they had more data about what works and what doesn’t, so they could improve their products.
The result? Patients don’t always get the best care. Hospitals lose money. Doctors get frustrated. The entire system wastes time and resources. There is a growing, urgent demand for a smarter, faster, more connected solution that can handle all types of health data, help professionals in real time, and make the whole process smoother for everyone involved.

Scientific Rationale and Prior Art
To understand why the invention described in the patent application matters, let’s look at the science and technology behind it. AI and ML have already shown they can help in areas like image recognition—finding tumors in scans, for example, or sorting through huge piles of data. But most current healthcare AI tools are limited. They might look at one kind of data, like X-rays, but ignore others, like doctor’s notes, videos, or lab results.
Most hospitals use electronic health records (EHRs) that are not designed for AI. These systems keep patient information in different places, often in formats that only work with specific software. This makes it hard to combine all the information for a single patient or procedure. Even the best AI models need massive amounts of labeled, high-quality data to learn and make good predictions. Without a way to bring together images, text, video, and numbers in one place, the power of AI is wasted.
A few companies like Carta Healthcare and Lumedx have built tools to pull structured data out of records. But these tools don’t take full advantage of AI. They don’t work with images or video, can’t help choose devices for procedures, and don’t provide real-time advice. They also don’t help with billing, compliance, or reporting needs—which are huge headaches in hospitals.
Most importantly, current AI systems don’t keep learning after they’re set up. If a hospital wants to add a new type of scan or change a workflow, the old models get confused or need to be rebuilt from scratch. There’s also the problem of privacy: patient data must be protected at all times, especially when it’s moving between different systems or being used to train AI.
The scientific breakthrough in the new patent is to build a platform that solves all these problems at once. It uses distributed, federated learning, which means data never has to leave its home system to be used for training. The AI models can combine images, text, audio, and numbers at the same time (“multimodal” data) to make smart predictions. The platform is designed to plug into many sources—EHRs, imaging systems, billing, and even wearable devices—and update itself as new information arrives. By keeping everything in sync and learning from every new case, it gets smarter and more helpful over time.
This invention is built to work in the real world of hospitals: messy, busy, full of different data types and formats, and always changing. It is not just an academic project or a single-purpose app. The scientific rationale is clear: if you can bring all the data together, protect privacy, and make the AI models flexible and fast, you can help medical teams deliver better care, improve outcomes, and lower costs.

Invention Description and Key Innovations
The heart of this invention is an integrated medical platform that collects and processes patient data from many sources in real time. It uses powerful AI and deep learning models, built from many layers of machine learning algorithms, to make sense of all this data and give back useful, actionable insights to doctors and hospitals.
Let’s break down how it works and what sets it apart:
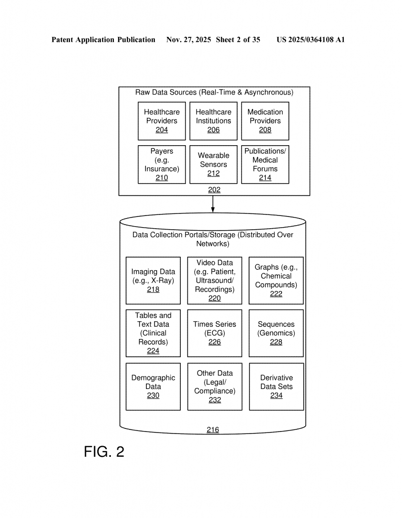
1. Real-Time Multimodal Data Processing
The platform gathers data from everywhere: scans (like CT and MRI), EHRs, videos, lab results, billing, even information from wearable devices and public health sources. This data is collected in real time and fed through smart “data portals” that handle different formats—pictures, numbers, graphs, text, and more. Each piece is labeled and organized so the AI can use it.
2. Deep Learning Layers and Continuous Training
At the core is a deep learning network made of many layers. Each layer is trained to handle a different type of data or task. For example, one part specializes in images, another in speech, another in clinical notes. These layers work together to pick out the right pieces of information for the procedure at hand. The system is always learning: every time a new procedure is done, the AI gets smarter, recognizing new patterns and outcomes.
3. Predictive and Decision Support During Procedures
When a medical team is preparing for a procedure like TAVR, the platform assembles all the needed data instantly. It compares patient details with a live index of approved medical devices (even checking sizes and models). It runs advanced algorithms to recommend the best device, flag risks, and predict possible outcomes. If something changes during the procedure, the model updates in real time, giving the team new advice on the spot.

4. Automated Billing, Compliance, and Reporting
One major pain point in healthcare is paperwork. The platform automates much of this. It collects all the data needed for insurance billing and coding, fills in forms for government compliance, and organizes everything for audits or quality checks. It can even transform raw clinical data into the right codes for billing, reducing errors and speeding up payments.
5. Privacy and Security by Design
Patient privacy is protected at every step. Data is encrypted end-to-end, and the platform uses federated learning so that sensitive information never leaves the hospital’s systems. Only anonymized data is used for training the AI models. Access is tightly controlled and tracked, meeting or exceeding standards like HIPAA, GDPR, and others.
6. Modular, Scalable, and Cloud-Ready
The platform is built to be flexible. Hospitals can start with one procedure and add more over time. The system is designed to work in the cloud, on-premises, or in hybrid setups. It connects easily to existing software and hardware, so hospitals don’t have to replace everything to get started.
7. User-Friendly Tools for Frontline Teams
Doctors, nurses, and admins get real-time dashboards, alerts, and reports. The platform can answer questions (“What is the best device for this patient?” “Were there any complications?”) using natural language. Results are shown in clear, simple formats—charts, graphs, images—so teams can make decisions quickly and confidently.
8. Smart Device Selection and Registry Tracking
For device-heavy procedures like TAVR, the platform maintains a live database of all approved devices and their sizes. It matches patient measurements to device specs and updates as soon as new devices are available. After each procedure, it tracks outcomes, helping both hospitals and device makers learn and improve.
9. Real-World Feedback and Continuous Improvement
Every procedure, every new piece of data, helps the platform get better. The system uses real-world feedback to retrain its models, spot trends, and adjust recommendations. Over time, this means safer, more effective care for patients and fewer surprises for doctors.
10. Support for Many Procedures and Future Growth
While the patent focuses on TAVR as an example, the platform is designed to handle many types of procedures—other heart surgeries, device implants, aneurysm repairs, and more. It can easily be expanded to new areas as medical needs change.
All of these features work together to create a single, unified platform for medical teams. Instead of juggling separate systems for imaging, records, billing, and reporting, everything is handled in one place. The AI “learns” from every case and gives back useful, practical advice in real time. Hospitals benefit from better outcomes, more efficient workflows, higher payments, and less hassle with paperwork. Patients get safer, faster, more personalized care.
Conclusion
This new patent application describes a big leap forward in how hospitals and doctors can use technology to deliver better care. By bringing together all types of data—images, videos, lab results, records, and more—into a single, AI-powered platform, it makes complex procedures safer and smoother. The platform not only helps with clinical decisions, but also automates billing, compliance, and reporting, reducing headaches for everyone involved.
What sets this invention apart is its ability to work in real time, continuously learn from new data, and protect patient privacy. It’s built to grow with the needs of hospitals and adapt to new kinds of procedures. For hospitals, device makers, and patients, this means better outcomes, lower costs, and a more seamless experience.
As medical care continues to get more complex, solutions like this will be key to keeping patients safe, doctors supported, and the whole healthcare system running smoothly. By investing in platforms that use real-time, multimodal AI, the future of medicine looks brighter—and smarter—than ever.
Click here https://ppubs.uspto.gov/pubwebapp/ and search 20250364108.
