Invented by Kwon; Gue Hyung, Xiong; Yizhi

Modern wearable gadgets like smartwatches and virtual reality headsets are getting smarter, smaller, and more powerful. One of the biggest hurdles in making these devices better is the camera. Not just any camera, but one that stays sharp and steady, even when your hand moves. Today, let’s dive deep into a new camera invention that does just this—using a clever sensor-shift design for optical image stabilization and focusing. We’ll look at why the market needs it, how it stands out from older solutions, and what makes this invention truly unique.
Background and Market Context
The world is moving fast, and so are our gadgets. Wearables like smartwatches and headsets are everywhere now. People want these devices to do more—track health, show maps, even take great pictures. But to fit all these features inside something so small, every part must be tiny and smart, especially the camera.
Think about a smartwatch. It sits on your wrist, always moving as you do everyday things. If you want to take a photo, your hand might shake. That’s a big problem for cameras. If the camera can’t stay steady, the picture will come out blurry. This is even tougher in low light, where the camera needs to keep its shutter open just a bit longer. The smallest shake can ruin the shot.
Until now, most small cameras used a method called “lens-shift” stabilization. That means the camera moves its lens around to cancel out your movements. But here’s the problem—when you want to take better pictures, you need a bigger sensor and a larger lens to let in more light. Bigger lenses and sensors are heavier. Moving these parts around quickly and accurately takes a lot of energy, and in a small device, that’s hard to do. The wires and motors used to move the lens can also wear out faster because they have to work harder. Sometimes, these moving parts even let dust get inside, which can make the camera worse over time.

People are also using wearables in new ways. In the world of virtual reality and artificial reality, headsets and wristbands use cameras to track your movements and show you a mix of the real and digital world. These cameras need to be fast, accurate, and as small as possible. The less power they use, the longer your device lasts on a single charge. Every millimeter counts.
So, the market is clear: we need a camera for wearables that is small, uses little power, takes sharp pictures even when moving, and is sealed tight to keep out dust and dirt. It should also work well in different positions—whether you’re holding your device up, down, or sideways. That’s where this new invention comes in, changing the game by moving the sensor, not the lens, to keep pictures clear and sharp.
Scientific Rationale and Prior Art
To understand the leap this new camera design makes, let’s look at what’s come before. For years, small digital cameras have used “lens-shift” to fight blur. Inside these cameras, tiny motors and coils shift the lens around. When you move your hand, sensors notice, and the camera tries to move the lens in the opposite direction to steady the image. This works, but only up to a point.
As cameras in phones and wearables improved, companies started using bigger sensors and wider lenses. These changes make photos look better, especially in low light, but also make the lens heavier. Moving a heavy lens quickly is hard, especially when you want your device to be small and light. The motors need to be stronger, which uses more power and makes them more likely to break. The supporting wires can snap or wear out over time. More moving parts also means more places for dust or moisture to sneak in, which is bad for a camera.
To get around these problems, some companies tried different types of motors, like piezo motors or tiny ultrasonic motors. These can be smaller or more efficient, but they often need more space or are tricky to make in large numbers. For many wearables, there just isn’t enough room to fit them in, especially if you want to keep the device thin and comfortable.

Another problem with lens-shift is sealing. Because the lens has to move, there’s often a tiny gap between the moving lens and the rest of the camera body. Even a tiny gap can let in dust or water, which can ruin the camera or blur your photos. In wearables, where sweat and outdoor use are common, this is a big issue.
Some newer smartphones use “sensor-shift” stabilization, where instead of moving the lens, the camera moves the sensor itself. Moving the sensor is easier because it’s lighter than the lens assembly. This uses less power, is faster, and can be more reliable. But until now, most sensor-shift designs only handled stabilization, not focusing. That means you still needed a way to move the lens to focus on objects at different distances, bringing back the same old problems.
This new invention changes that. It lets the camera move the sensor in more than one direction—for both keeping the image steady and for focusing. The sensor can move sideways to cancel out shakes and can also move closer or farther from the lens to focus on objects. This is done using a smart setup of magnets and coils, all inside a sealed camera body. By moving only the sensor, the camera can stay small, use less power, and avoid gaps that let in dust or water.
So, the scientific push here is simple but powerful: move the lightest part (the sensor), not the heaviest (the lens), and do it in a way that handles both stabilization and focusing. This is something no other small camera has done quite like this before, especially for wearables and very compact devices.
Invention Description and Key Innovations
This camera invention is all about making wearable cameras sharper, steadier, and longer-lasting. Let’s break down how it works in simple words.

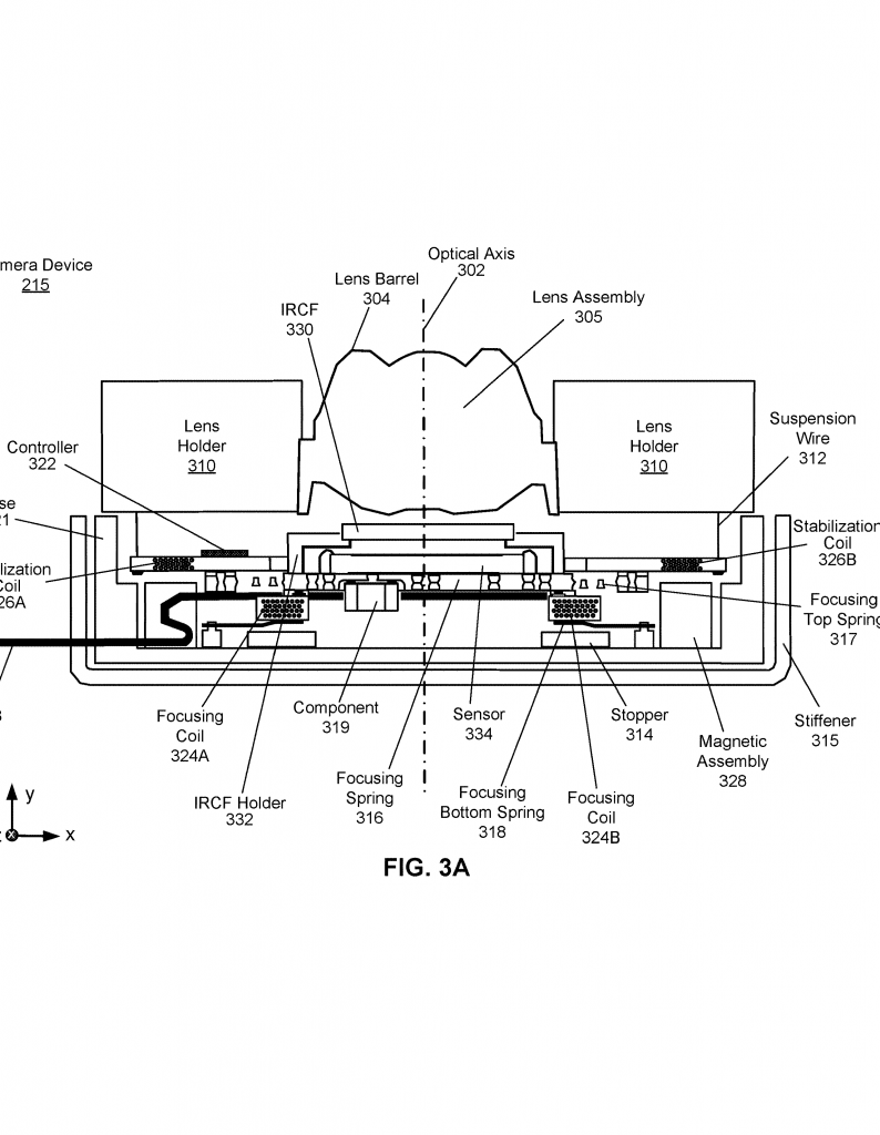
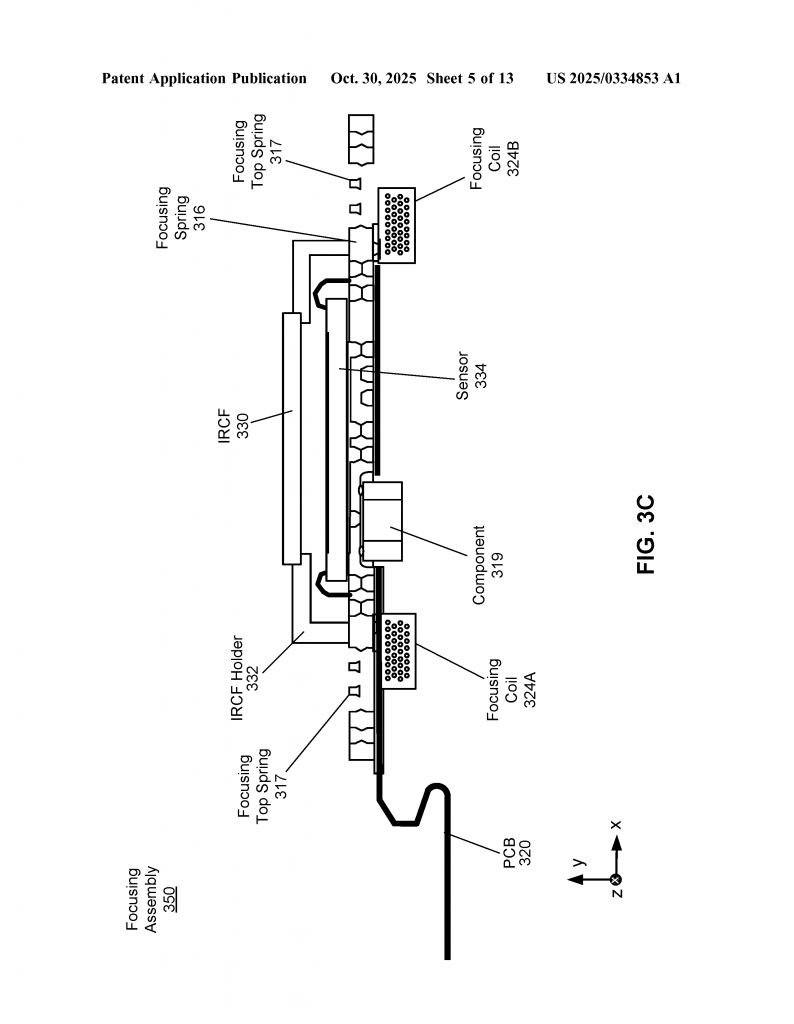
First, imagine the camera as a tiny sandwich. At the top, you have a lens assembly. The lens is fixed in place—it doesn’t move at all. Below the lens, there’s a platform where the image sensor sits. This sensor is the part that actually “sees” the light and turns what the lens captures into a picture. The platform can move the sensor in three directions: up and down, left and right, and back and forth (toward or away from the lens).
How does this platform move the sensor? The trick is in using magnets and coils. Around the sensor, there are several small magnets fixed in place. Next to each magnet, there’s a coil of wire attached to the moving platform. When the camera’s control system sends electric current through a coil, the coil creates a magnetic force. Depending on the direction and strength of the current, this force can push or pull the platform in a certain direction. This is known as the Lorentz force, a basic idea in physics used in many motors. But here, it’s used in a very clever and tiny way.
There are two types of coils on the platform: stabilization coils and focusing coils. The stabilization coils are lined up next to one side of each magnet. When the control system senses the camera is shaking (because you moved your wrist or hand), it sends current to the stabilization coils. This pushes the sensor sideways—left, right, up, or down—to cancel out your movement. The result is a sharp, stable picture even if your hand isn’t steady.
The focusing coils are lined up on another side of the magnets. When you point the camera at something close or far, the control system sends current to these focusing coils. This moves the sensor closer to or farther from the lens, letting the camera focus on different objects—just like your eye adjusts when you look at something near or far. By combining both sets of coils, the sensor can move in any direction needed, giving the camera both steady pictures and sharp focus.
One of the smartest things about this setup is that the magnets never move. They are fixed in place, which makes the whole system stronger and more reliable. The moving platform is light, so it doesn’t need big, power-hungry motors. Instead, the small coils and clever design use less energy, which is perfect for wearables that run on small batteries.
The platform is suspended by thin wires or springs. When no current is sent to the coils, the platform sits in a “neutral” position. If the camera moves, the control system quickly sends current to the right coils, moving the sensor just enough to keep the image steady. When you want to focus, it sends current to the focus coils to move the sensor forward or backward. If the device is turned off or in standby, everything returns to neutral, using no power at all.
The whole camera is sealed tight. Because the lens never moves, there are no gaps for dust or water to get in. This is a huge advantage for wearables, which are exposed to sweat, rain, or even sand. The simple, sealed design also means the camera can last longer without breaking down.
Let’s talk about the electronics. A small controller chip runs the whole system. It watches for any motion (using sensors in the device) and decides when to move the sensor for stabilization or focusing. The controller sends the right amount of current to each coil, at just the right time. The platform even has a flexible printed circuit board (PCB) to connect everything together without getting in the way of movement. Some extra parts, like filters and springs, are built into the platform to help with image quality and stability.
What makes this invention stand out is how it brings together all these ideas—sensor-shift for both stabilization and focus, a fully sealed camera, light moving parts, and efficient electronics—into one compact design. It solves the power, size, and reliability problems that older lens-shift cameras have, and it does it in a way that’s perfect for wearables, headsets, or any small gadget that needs a great camera.
In use, the camera can quickly switch between different positions—like moving from pointing up to pointing forward—without losing focus or stability. The control system keeps everything sharp and clear, whether you’re snapping a quick photo on your smartwatch or using a headset to blend the real and virtual worlds.
Key Takeaways
This innovation is all about moving smarter, not harder. By shifting the sensor instead of the lens, the camera uses less power, stays sealed against dust and water, and gives better pictures in a smaller package. The clever use of magnets and coils, along with a light moving platform, means the camera can react quickly to movement and focus changes, all while fitting inside the tiniest devices. This is a big leap for wearable tech and could change how all small cameras work in the future.
Conclusion
Tiny cameras are a big deal in today’s wearables, and making them sharper, steadier, and more reliable is a real challenge. This invention breaks new ground by using a sensor-shift design for both stabilization and focusing, all in a sealed, compact, and power-smart package. It’s a great example of solving modern problems with smart, simple engineering. As wearables get even more advanced, this kind of camera could be the new standard, making sure every picture is sharp, every device lasts longer, and every user gets the experience they want—no matter how small the gadget.
Click here https://ppubs.uspto.gov/pubwebapp/ and search 20250334853.
