Invented by LEE; Hochan, LEE; Dong-Hyuk

Let’s talk about moving and storing those special carriers that hold silicon wafers in a fab. It might sound simple, but it’s actually a real puzzle. If you’ve ever wondered how these little boxes get from point A to B without mistakes or delays, this article is for you. Today, we’ll break down a new patent for a carrier storage device that does things differently. We’ll look at why it matters in the market, how it builds on existing science, and what makes this invention new and important.
Background and Market Context
When you walk into a semiconductor plant, you might see lots of clean rooms, machines, and robots. The heart of it all is the wafer—a thin slice of silicon where microchips are made. These wafers don’t travel alone. They ride inside special carriers, like FOUPs or FOSBs. These carriers keep the wafers safe from dust and damage.
Moving and storing carriers in a fab is a big deal. Why? Because every second counts. The process has to be fast, safe, and reliable. If a carrier is in the wrong place, or if it takes too long to get to the next machine, the whole production line can slow down. That means lost time and money. So, fabs use clever systems to move these carriers around efficiently.
Most fabs use something called an Overhead Hoist Transport (OHT). This is like a train on tracks on the ceiling. The OHT picks up carriers and drops them off where needed. When a carrier is not needed right away, it goes into storage. The storage device is like a high-tech parking lot for carriers.
But here’s the problem: Old storage systems can be slow and rigid. Many work like a stack of boxes. If you want the box at the bottom, you have to move all the boxes on top first. This is called a “first-in, last-out” order. It’s not flexible. If you need a specific carrier, you might have to move several others to reach it. This wastes time and creates more work for the automated system.
In today’s world, fabs are getting bigger, and chips are getting more complex. The demand for better, faster, and more flexible storage is growing. Companies want systems that let them store more carriers in less space and grab any carrier at any time, no matter the order they were stored. This is where the new rotating port system enters the picture.

This patent aims to solve these problems. It brings a design that allows any carrier to be loaded or unloaded without moving others out of the way. This means less waiting, fewer mistakes, and more efficient use of space. For semiconductor manufacturers, this is a game-changer. It keeps the whole fab running smoothly, supports faster production, and helps meet the rising demand for chips.
In summary, the market for semiconductor carrier storage is hungry for smarter solutions. The new rotating port system answers this need by offering speed, flexibility, and better space management. In the next section, we’ll see how the science behind this system builds on—and improves—what came before.
Scientific Rationale and Prior Art
To understand this invention, we need to look at how things have been done in the past. Carrier storage in semiconductor fabs has gone through many changes over the years. Early systems were simple shelves or racks. Later, automated stockers arrived. These were like big vending machines, using robots to pick and place carriers. While these were a step up, they had limits.
Most old systems stack carriers in rows and columns. Think of it like a bookshelf or a row of lockers. If you want a carrier that’s buried in the middle, the system has to move other carriers out first. This takes time. It also creates risks—carriers might be bumped or dropped, and mistakes can happen if the wrong carrier is moved.
Some newer systems use carousels. These are rotating shelves, a bit like a giant Ferris wheel for carriers. The idea is to bring the right carrier to the front by spinning the wheel. While this helps, the design is still often flat (horizontal), which takes up a lot of floor space. Floor space in a fab is expensive, so this isn’t ideal.
Another problem is that many systems only allow one carrier to be moved at a time. If two machines in the fab want carriers at once, they have to wait their turn. This creates bottlenecks. In some systems, the robot arms that move the carriers are big and clunky, making maintenance harder and increasing the risk of breakdowns.
Many patents have tried to solve these issues. Some suggest vertical storage, stacking carriers on top of each other. Others use robotic arms that can slide in and out to grab carriers from any position. Some even propose using multiple robots in one storage unit. However, these solutions often add complexity or don’t fully fix the “first-in, last-out” problem.

The scientific goal is to allow carriers to be loaded and unloaded in any order, with speed and without moving others out of the way. Engineers want systems that are safe, reliable, and can fit more carriers in the same space. The rotating port system in this new patent builds on these ideas. Instead of a flat or stacked layout, it uses rings of ports arranged vertically, like two hula hoops standing on their side, one inside the other. Each port holds a carrier, and the whole ring can spin to bring any port to the front. There are also special openings between the ports, so a transport container can reach in and grab any carrier it needs.
What’s new here is the use of two concentric rings (one inside the other), each with its own rotating carriage. These carriages can move separately, making it easy to align any port with the transport container. This means you can grab any carrier, in any order, without touching the others. The system can also be scaled up by adding more rings, more ports, or more openings, all while keeping things simple and easy to maintain.
In short, this invention takes the best parts of carousel and robotic storage, and fixes their main problems. It uses clever mechanics to bring speed, safety, and flexibility to the process. Now, let’s dive into the details of how this system works and what makes it stand out.
Invention Description and Key Innovations
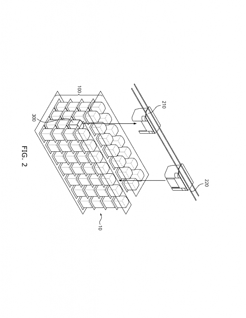
At the heart of this invention is a new way to store and move carriers for wafers in a fab. Imagine two rings, one inside the other. Each ring holds a set of ports, and each port can hold a carrier. The rings stand upright, like two circles placed on the floor but turned on their side so they face you. Both rings can spin around, and each has its own motor so they can move separately.
Let’s break it down:
The outer ring (called the first region) has several ports, each shaped to hold a carrier. These are like parking spots for the carriers. The ports are spaced evenly around the ring. In between some of these ports, there’s an opening—like a missing parking spot. This opening is wide enough for a transport container to fit through.

The inner ring (called the second region) is smaller and sits inside the first ring. It also has ports for carriers, arranged in a similar way. This ring also spins, with its own set of motors and arms. Sometimes, there’s a third set of ports right in the center, for even more storage.
When a carrier needs to be loaded or unloaded, the system works like this:
First, the transport container (which moves along a rail above the storage device) is moved to the right spot. The system figures out which port has the carrier it wants. If the carrier is on the outer ring, the ring is spun until the right port lines up with the opening and the transport container above. Then, the container lowers down, grabs the carrier, and lifts it out.
If the carrier is on the inner ring, the system does two things. First, it spins the outer ring so that the opening lines up with the transport container. Then, it spins the inner ring so the target port lines up with the opening. Now the container can reach through the opening in the outer ring, grab the carrier from the inner ring, and pull it out. This process can happen in reverse to load a new carrier in as well.
One of the biggest advantages here is that both rings can spin independently. This means the system can always bring the right port to the front, no matter where it is. There’s no need to move other carriers out of the way. The system can handle any order of loading and unloading, which is a huge improvement over old stacker systems.
Another key point: The ports are designed to keep the carriers safe and steady. Each port has a bottom for the carrier to sit on and sides to hold it in place. The opening is always at the top, so the carrier can be lifted straight up or down without tilting or shaking.
The belts and arms that spin the rings are simple but clever. Each port is attached to the ring with two arms, which makes sure the port always stays level as the ring spins. This keeps the carriers from sliding or falling, even as the rings move.
There’s also a sealing cover around the moving parts. This helps keep dust and particles away from the carriers—a must for any fab. Cleanliness is key, and this design helps keep the storage area as clean as possible.
The system can also be expanded. You can add more rings inside each other, or make the rings taller to fit more carriers. You can even add more openings, so several transport containers can work at the same time. This means the system can be scaled up or down to match the needs of any fab, big or small.
The control system is smart, too. It knows exactly where every carrier is at all times. When a carrier is needed, it figures out which rings and ports to move, aligns everything perfectly, and tells the transport container where to go. Sensors make sure everything is lined up before any carrier is picked up or put down.
All these features add up to a system that is fast, flexible, and safe. It saves space by stacking ports vertically and using the inside of the rings for extra storage. It saves time by letting you grab any carrier in any order, without moving others first. It keeps the carriers clean and steady, and it’s easy to expand as needs grow.
In summary, this invention is a big step forward for carrier storage in semiconductor fabs. It takes old problems—slow access, wasted space, rigid order—and solves them with smart mechanics and design. For fabs looking to boost speed, safety, and capacity, this is a solution that can make a real difference.
Conclusion
Handling and storing wafer carriers in a semiconductor fab is a challenge that keeps getting harder as factories grow. The new rotating port system described in this patent is a clever answer. By using concentric rings that spin independently, special openings for easy access, and smart design for safety and cleanliness, the system lets fabs store more, move faster, and work with fewer delays or errors.
If you’re in the business of making chips, or designing the systems that make chips possible, this invention is worth your attention. It takes the best of what came before and pushes it forward, giving fabs the flexibility and speed they need to stay ahead. For the world of semiconductor manufacturing, that’s a win everyone can appreciate.
Click here https://ppubs.uspto.gov/pubwebapp/ and search 20250364291.
