Invented by Cha; Henry H., Cha; Xavier, Straub; Alex

Today, let’s break down a new patent application for a virtual agent system that takes a big step forward from the chatbots we know today. This patent describes a system that can change its personality and pull answers from more than one expert source, making help from virtual agents much more personal and accurate. In this article, we’ll explore why this matters, how it builds on what came before, and exactly how it works.
Background and Market Context
Virtual agents, also called chatbots, are everywhere. You see them on websites, in mobile apps, and even on phone lines. Companies use them because they help customers without needing a person on the other end, which saves time and money. Think about asking a chatbot for your bank balance, getting flight info, or checking your insurance benefits. These bots are fast and always available.
But if you have ever talked to a chatbot, you know the experience can be cold or robotic. Sometimes the answers are too basic, too detailed, or just not helpful. Many bots seem like they don’t understand your real question, or they give you lots of information that isn’t what you need. It can be frustrating or even annoying.
This is a real problem for businesses. If people don’t like talking to bots, they end up calling customer service, which defeats the purpose. Worse, a bad experience can make customers unhappy with the company overall. So, while bots are everywhere, there is a big need to make them more human and more useful.
Right now, most chatbots have only one “personality”—and it is usually very plain. They also usually pull answers from a single database or document, which can lead to answers that are too generic or too long. For example, if someone asks about an insurance claim, the bot might just dump all the claim details at once, without picking the most important part. If the bot could act more like a helpful person and pull just the right piece of information, people would be much happier.
The market is quickly moving to smarter chatbots powered by artificial intelligence. Companies want bots that can understand what people really mean, not just what they type. They want bots that can talk in different ways—sometimes short and to the point, sometimes gentle and caring, or sometimes giving lots of details for people who like that. They also want bots that can pull information from several places, not just one, to get the best answer.

This patent application is aimed at solving these very problems. It suggests a system where the virtual agent’s personality can be changed, even in real time, and where the bot can pull information from several “expert” sources in a smart way. This could make virtual agents much more like talking to a real person who understands you and gets you the right answer, fast.
Scientific Rationale and Prior Art
To understand what’s new here, let’s look at how virtual agents and chatbots have worked until now. Most bots are based on a simple idea: they match what you say to a set of rules or scripts. Some newer bots use machine learning or AI, but they still usually give answers in the same style and draw on a single database or knowledge base.
There have been attempts to make bots more flexible. Some let you select a “style”—like formal or casual. Some can learn over time from lots of conversations. A few bots use AI models that try to understand what you mean, not just what you say. But there are limits. Most systems don’t really change their personality based on your needs, and almost all pull from just one source of data at a time.
Some systems do try to break answers into smaller pieces or follow a “decision tree” to get the right info. Others use AI to look for intent—that is, what you really want to know—even if you didn’t ask it plainly. But again, most of them still sound the same every time, and they don’t combine information from different places in a smart order.
There are also “stackable” data systems outside of chatbots—tools that pull from more than one database or API. But these systems rarely change the way they talk to you depending on who you are or how you ask. They just return the data as it is.
In terms of AI, some modern bots use reinforcement learning. This means they learn from past conversations, getting better over time at knowing what answer makes people happy. Some use neural networks that can “read” a conversation and suggest the next best action or reply. But even with these smart engines, the way the bot talks is often fixed, and the source of answers is often just one place.

What is missing—and what this patent tries to fix—is a system where the virtual agent can act with different “personas” (ways of speaking, attitudes, or levels of detail), and where the bot can combine information from several expert sources in a logical, step-by-step way, guided by what the user really wants. The patent also describes a way for the bot to change its personality based on who the user is, or even have two AI bots: one to pick the best persona and one to act out the conversation.
So, while there have been advances in how bots answer and how they understand people, there is still a gap. No one has really put together a system that is both deeply customizable in personality and smart about using multiple expert sources in order. This is the gap the new patent is designed to fill.
Invention Description and Key Innovations
Let’s dig into how this new virtual agent system works and what makes it stand out. The patent describes a system with a few core parts:
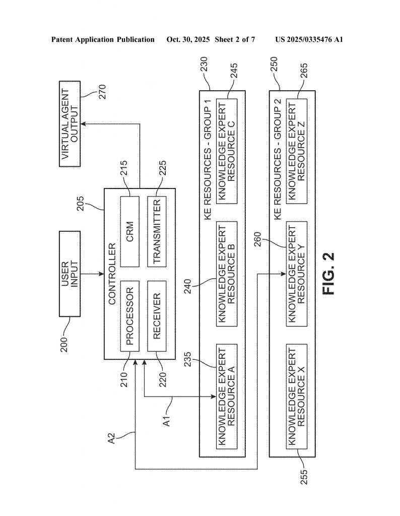
First, at the heart of the system is a processor—a computer or server that runs the virtual agent. This processor uses a special set of instructions stored on a computer-readable medium (like memory or a hard drive). These instructions tell the system how to handle user input, how to pick the right expert source, and how to choose or create the right persona for each conversation.
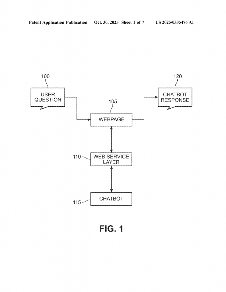
When a user asks for information, the system does more than just look up the answer. It first tries to understand what the user really wants—this is called intent recognition. For example, if you ask about your insurance, the system figures out if you want to know about claims, coverage, costs, or something else. It can do this by looking at how you ask, and even by learning from past conversations.
Once it knows what you want, the system sends a query to a “knowledge expert resource.” These are like expert databases or services that have the right information for a certain type of question. For example, one expert resource might know all about insurance claims, while another knows about medical coverage, and another about billing.
Here’s where the “stackable” idea comes in. After getting information from the first expert resource, the system might use that info to decide which expert to ask next. For example, if your insurance claim is for a certain procedure, the system knows to check with the coverage expert for that procedure. This step-by-step approach lets the bot give you a much more focused answer, avoiding too much or too little detail.

The order in which the bot asks different experts can be set ahead of time, or it can be learned over time as the system sees what works best. The bot can even learn from the user’s feedback—if you say the answer was helpful, the system remembers that. If you say it wasn’t, it tries a new approach next time. Over many conversations, the bot gets smarter and faster at picking the right experts.
Now, let’s talk about the persona feature. This is where the bot’s “personality” comes in. The system lets the persona be customized in different ways. Some users want a brief answer, others want details. Some prefer a “soft touch”—a gentle, caring tone—while others want a straight, analytical reply. The persona can be picked by the user, or it can be chosen automatically by the system, based on how the user talks or even basic info about the user, like age or job.
For example, if the user writes in a short, direct way, the bot might reply with short, direct answers. If the user seems stressed or polite, the bot can use a softer tone. The system can even use two AI bots at once—one bot decides what the best persona is, and the other bot “acts out” the conversation in that style.
Another key feature is prompt engineering. This means the system can set up its own instructions for different types of questions or “genres.” For example, the bot might have one set of prompts for finance, another for healthcare, and another for insurance. The right prompt is picked automatically based on what the user asks.
The system is built to learn and get better over time. It uses AI models, including deep reinforcement learning and neural networks, to remember what works best. When training, the system learns which actions get the best rewards (like good feedback from users), and it updates its models to do more of what works. When running live with real users, it uses what it has learned to answer quickly and correctly, only updating its models after collecting enough new feedback.
One other smart feature is proactive help. The system can sometimes reach out with information before the user even asks, based on things it sees or learns (like a health coach checking in after seeing a claim). It does this by running the same step-by-step process with the expert sources, but starting on its own.
To sum up, here are the real innovations:
– The virtual agent can switch between different personalities, either by user choice or automatically, giving a more human, satisfying experience.
– The system gets information in steps from several expert sources, not just one, so answers are more accurate and focused.
– The way the bot talks and the experts it picks can change in real time, based on what the user says, who the user is, and what has worked in the past.
– The system can learn and improve from every conversation, using feedback from users to get better at both picking the right persona and the right information.
– It uses advanced AI models, including deep neural networks and reinforcement learning, but in a way that is practical and focused on making the user happy.
– It can even reach out proactively, not just answer questions, giving companies a way to offer better, more personal service.
Conclusion
The new virtual agent system outlined in this patent application is a major leap forward for chatbots and digital assistants. By combining smart, customizable personas with a layered, expert-driven approach to information, it solves many of the problems that have made virtual agents feel cold or unhelpful. The system is built to learn and improve, making it more useful the more it is used. For companies, this means happier customers and fewer calls to live agents. For users, it means answers that are more personal and more useful, delivered in a way that fits their style. As virtual agents become part of everyday life, this new approach could set the standard for what a helpful, human-like digital assistant should be.
Click here https://ppubs.uspto.gov/pubwebapp/ and search 20250335476.
