Invented by Statton; Gregory, Mandagere; Nagapramod, Bajaj; Rupesh

Artificial intelligence is changing how we handle data every day. This patent application introduces a smart computing system that uses AI to manage data from many different places. In this article, we’ll walk through why this is important, how it builds on what came before, and what makes this invention new and useful.
Background and Market Context
In today’s world, data sits everywhere: on computers at work, in the cloud, in special apps, and even on our phones. Companies, big or small, use lots of different tools and storage systems to keep and use their data. This might include old systems sitting in a company building, new cloud services, or software from other providers. The challenge is that all these systems often don’t work smoothly with each other. Each has its own way of storing data and rules about who can see or change things.
Businesses face many problems when they try to get their data to work together. For example, a company might want to look at backup records from their old on-site server and also check logs from a new cloud app. Doing this usually takes a lot of time, many steps, and often needs experts who know each system really well. This can slow down decision-making and make it harder to keep everything secure and running smoothly.
There’s also the issue of “dark data.” This is data that companies have but don’t really use or even know about. It just sits there, taking up space and costing money. If companies could find and use this data better, they could make smarter choices, save money, and improve security.
A lot of tools try to help with data management. Some use dashboards, some use scripts, and some are just basic search tools. But most of these tools work with only one type of system, or they need a lot of setup to get running. They are not smart, and they don’t adapt by themselves. When companies want to do something new, or when their systems change, they often have to start from scratch.
With the rise of artificial intelligence, there is a big push to make computers handle more of the heavy lifting. AI can read natural language (plain English), learn from past actions, and make smart choices based on huge amounts of data. But until now, there hasn’t been a way for AI to easily control many different data tools at once, especially while keeping security tight and respecting who has permission to do what.
The market is hungry for solutions that can connect all these different data stores, act on user requests in smart ways, and keep everything safe. Businesses want something that saves them time, reduces mistakes, and helps them get more value from their data. This is where the invention described in this patent application fits in.

Scientific Rationale and Prior Art
Let’s step back and look at how companies have tried to solve these problems in the past.
Traditional data management tools are often built for a single use case. For example, a backup tool might only talk to one storage server. If a company wants to use a new cloud service, they need a different tool or a lot of custom work. To get data from two or more systems, users need to switch between different apps or write complex scripts. This is slow, risky, and not easy for most people.
Some newer systems try to use APIs (special connections that let software talk to each other). These can help, but again, each system might have its own API, and users need to know how each one works. Setting up permissions is also a headache. For example, just because someone can see backup data on one system doesn’t mean they have the same access on another.
Security is another big concern. If a tool gets access to data, it might open the door to mistakes or even data breaches. Companies need to make sure only the right people—and the right tools—can do certain things. This is usually done with “role-based access control” (or RBAC), which gives each person or tool a certain set of powers, like read-only or full control.
Machine learning and AI have started to appear in some data tools. For example, some platforms use AI to spot patterns, predict problems, or help with search. But very few have let AI take real action across many different systems, especially while following all the needed security rules.
Retrieval-augmented generation (RAG) is an AI method that combines large language models with the ability to pull in real data from outside sources. This helps the AI give better answers by using up-to-date information. Some systems have used RAG for search or chatbots, but not for actually taking action on many data sources at once.
Prior art also includes systems that use “tools” or “plugins” to extend what an AI can do. However, these have often been limited to very narrow tasks, or they require a lot of custom setup for each new tool or data source. They usually don’t handle complex security needs or let the AI act as the user with the correct permissions.

To sum up, the state of the art has many pieces: data tools for single systems, APIs for connecting apps, AI for analysis, and some first steps toward using AI for real actions. But none have brought all these together in a way that is flexible, secure, and easy to use across many types of data systems.
Invention Description and Key Innovations
This patent application brings a new way to use AI for managing data across many different systems, all while keeping things secure and easy for users.
At its core, the invention is a computing system that combines:
- Storage devices (where data lives)
- Processing parts (the computer “brain”)
- An AI agent that runs a machine learning model
Here’s how it works:
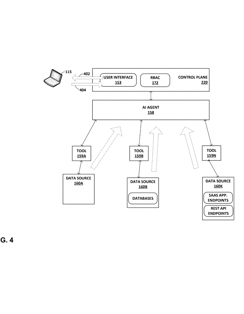
When a user wants something done—like checking backups, moving data, or updating security settings—they send a query. This query might be in plain language, like “Make sure my cloud database backups are up to date.” The AI agent reads this query and, using its machine learning model, creates a plan. This plan lists all the steps needed to finish the user’s task, even if those steps need to happen on different systems.

For each step, the AI agent picks a “tool.” Each tool is a software helper that knows how to talk to a certain data source, like a file server, database, or cloud app. The AI agent knows how to use each tool and can call on them as needed. For instance, it might use one tool to get backup information from a local server, and another to update settings in a cloud database.
What makes this system special is how it handles permissions and security. The AI agent doesn’t just act with full power. Instead, it uses the same permissions as the user. If the user is allowed to see certain data or make certain changes, the AI can do those things. If not, it can’t. This is handled through role-based access control (RBAC), which keeps everything safe and makes sure no one does more than they should.
The system also makes the setup process much easier. Instead of having to manually code every action or teach the AI from scratch, users or admins can provide configuration info for each tool. This info tells the AI what the tool can do, how to connect, and what kind of data to expect. The AI can use this to learn and adapt quickly, even as new tools or data sources are added.
The AI agent can handle both “dynamic” and “static” data sources. Dynamic sources are always changing, like real-time logs or cloud apps. Static sources might be backup archives that change less often. The AI can figure out what kind of data each source has and act accordingly.
Another key feature is that the AI can run several actions at once, across many tools and systems. This saves time and lets it handle big, complex tasks without waiting for one step to finish before starting the next.
The invention also uses a “data access proxy layer.” This is a middleman that helps tools connect to data sources, checks permissions, and manages authentication. This keeps things secure and lets the system scale up without getting tangled in security problems.
Some practical examples show how this works in real life. For instance, a user might ask the AI to optimize backup settings for a database. The AI would:
- Check the user’s permissions in each system
- Use one tool to get past backup info from a storage server
- Use another tool to check the current database state
- Make smart choices about new backup schedules or settings
- Apply those choices, but only where the user has the right permissions
The system can also help with security tasks, like updating access rules or checking for problems across many systems at once. It can even pull in data from multiple sources, reason about it, and give helpful advice or reports to the user.
Behind the scenes, the AI agent can be trained with different machine learning models, including large language models. It can learn from past actions, user feedback, and new tool configurations. This means it gets better over time and adapts to new needs without having to be rebuilt from scratch.
The system is built to be flexible. It can run in the cloud, on local servers, or a mix of both. It can use tools built by the company or third parties. It can handle all sorts of data, from files to logs to real-time streams.
Most importantly, this invention makes AI a real partner in data management. It doesn’t just show information—it can take action, all while staying within the rules set by the company.
Conclusion
This patent application sets out a new way to use AI for managing data across many systems. It solves big problems that companies face every day: connecting different data sources, keeping everything secure, and making data work for the business. By letting an AI agent act smartly and safely on the user’s behalf, companies can save time, reduce costs, and unlock the full value of their data.
The invention stands out by making it easy to add new tools, handle complex tasks, and respect user permissions at every step. It goes beyond old-style dashboards or scripts by letting AI truly manage and optimize data—no matter where that data lives.
For businesses looking to stay ahead, this technology means faster decisions, better security, and a smarter way to use the data they already have. As AI continues to grow, inventions like this will become the new standard for managing the complex world of enterprise data.
Click here https://ppubs.uspto.gov/pubwebapp/ and search 20250335443.
