Invented by KIM; Minsoo, KA; Bokhyun, KWON; Moon-Seok

In today’s world, batteries are everywhere. From toys and phones to cars and solar panels, batteries power our lives. But as we rely more on these batteries, we also want them to be safe. This article explains a new way to check if a battery’s negative electrode, also called the anode, is safe. We will walk through why this matters, how it works, and what makes this new idea different from old ways. If you want to know more about how battery makers keep their products safe, you’re in the right place.
Background and Market Context
Batteries are the silent workers behind much of today’s technology. Every smartphone, electric car, and home energy system needs batteries to work. Most of these batteries are “secondary” or rechargeable batteries. They can be used again and again, unlike “primary” batteries that get thrown away after one use.
In the past, batteries were mainly found in small gadgets like watches, radios, and remote controls. As technology grew, so did the size and role of batteries. Now, batteries are used in big jobs like running electric cars and storing solar power in homes or on the power grid. This means batteries have to be bigger, stronger, and charge a lot faster.
Charging a battery quickly is something people want. Nobody likes waiting for their phone or car to charge. But charging fast can make batteries wear out and, sometimes, become unsafe. The part of the battery that often gets in trouble is the negative electrode. When a battery is charged too quickly or used too much, bad things can happen inside that you cannot see. One of these problems is called “lithium plating.”
Lithium plating is when bits of lithium, a metal inside many batteries, stick to the negative electrode instead of going inside it smoothly. This can cause the battery to lose power, heat up, or even catch fire. As more cars, buses, and homes use batteries, making sure the negative electrode stays safe is more important than ever.
Until now, most ways to check battery safety have not been very good at finding out what’s happening inside the negative electrode. Many tests can tell that a battery is wearing out, but not exactly why. They can’t always tell the difference between problems at the positive or negative side. That means a battery might look fine in tests but still be at risk.

With more electric cars on the road and more batteries storing power at home, companies are looking for better ways to see if their batteries are safe. They want to catch problems before they become big and dangerous. This is where the new patent application comes in. It shows a way to look inside the battery using information from charging, all without having to open the battery or destroy it. This can help make batteries last longer, work better, and most of all, stay safe.
Scientific Rationale and Prior Art
Let’s take a closer look at how batteries work and why keeping an eye on the negative electrode matters so much. Most rechargeable batteries, especially ones in cars and gadgets, are called lithium-ion batteries. Inside, there are two main parts: a positive electrode (cathode) and a negative electrode (anode). When you charge the battery, tiny bits called ions move from the positive to the negative side and hide inside the anode. When you use the battery, the ions go back the other way, making electricity.
If you charge a battery too fast or too many times, the negative electrode can get tired. It may not hold as many ions anymore, or the path for ions can get blocked. Worse, sometimes the lithium metal builds up on the outside of the negative electrode instead of going inside. This is the “lithium plating” we talked about before. Lithium plating can make a battery weaker and more likely to fail.
For a long time, battery makers have tried to measure battery health. They look at how much energy goes in and out, how hot the battery gets, and how the voltage (the battery’s “pressure”) changes. But these tests can’t always tell if the negative electrode is the problem or if it’s something else. Sometimes the battery looks healthy on the outside but is hiding trouble inside.
Other ways to check inside the battery are destructive. That means you have to cut open the battery and look at the parts. This is not good for batteries that are already in use, like in cars or phones. It also doesn’t help you fix a problem before something bad happens.
There have been some ideas to use special sensors or to look for certain signals while the battery is charging or discharging. For example, some people use “differential voltage analysis.” This means they look at how the voltage changes during charging and see if there are special peaks or patterns. These peaks can tell you about what’s happening inside the battery. But even this way isn’t perfect. It can be hard to tell which peaks come from the negative electrode and which come from the positive one.
Another problem with old methods is that they often don’t use real-world charging data. They might test batteries in a lab with very slow, careful charging, not like what happens in real life. This means they miss out on problems that come up when people charge their devices quickly at home or at a charging station.

There’s also the issue of tracking changes over time. Batteries get old. Their parts change little by little as they are used. If you can’t tell how much the negative electrode has changed since the battery was new, it’s hard to know if it’s still safe.
This new patent idea builds on these older ways, but it brings in some smart changes. It uses voltage data from the battery as it charges at different speeds, just like it would in real life. By comparing this data to what the battery looked like when it was new, it can spot even small changes in the negative electrode. It does all of this without opening the battery or stopping it from working.
What is special is that the new method looks for specific “peaks” in the voltage data during charging. These peaks are like fingerprints—they tell you about the health of the negative electrode. By comparing how these peaks move or change when the battery is charged faster or slower, and also compared to when the battery was brand new, it’s possible to spot trouble early. This helps companies adjust how quickly the battery is charged, making it safer and helping it last longer.
Invention Description and Key Innovations
Now let’s talk about what this new patent application really does. The heart of the idea is a method for checking how safe the negative electrode is, using a few clever steps. Here’s how it works, in simple words.
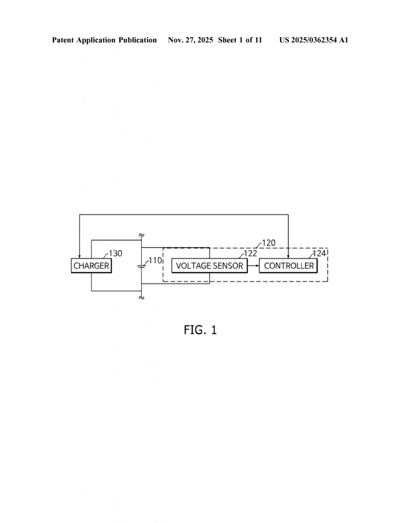
First, the battery system has a sensor that watches the voltage as the battery charges. This sensor sends data to a controller, which is like the brain of the system. The controller gets two sets of data: one from charging the battery slowly, and one from charging it faster. These two sets of data are called the “first charge data” and the “second charge data.” Sometimes, the controller also gets a third set of data from when the battery was brand new. This is called the “beginning of life” or BoL data.
Each set of data shows how the voltage changes as the battery fills up. When you look closely at this data and do some math (taking the “differential,” which is just checking how much the voltage goes up or down at each step), you find special points called “peaks.” These peaks happen at certain times during charging and tell you about what’s happening inside the battery.

The controller looks at these peaks from both the slow and fast charging data. It pays special attention to how these peaks move, or if they get smaller, larger, or shift left or right. If the peaks change a lot when you charge faster, it’s a sign that the negative electrode might be in trouble. If the peaks line up with what you saw when the battery was new, things are probably still safe.
The smart part of the invention is how it compares the peaks from slow and fast charging, and also to the peaks from when the battery was brand new. The controller does some math to figure out how much the peaks have changed. This number tells you if the negative electrode is losing power or getting blocked, which are signs of trouble like lithium plating.
If the controller finds that the negative electrode is not as healthy as it should be, it can take action. It can lower the charging speed, making it safer. This means the battery is less likely to have lithium plating or other problems, and it can last longer. If the controller sees that the negative electrode is still healthy, it can let the battery keep charging at full speed.
The method works for all sorts of batteries, no matter what materials are used in the positive or negative parts. It uses data that is easy to get, just by watching the voltage during normal charging. There’s no need to open the battery, stop using it, or add expensive parts.
Let’s break down the key steps in the process:
1. The system charges the battery at a slow rate and records the voltage as the battery fills up.
2. It charges the battery again, this time faster, and records this voltage data too.
3. If available, it looks at data from when the battery was new.
4. The system does some math on the voltage data to find special points called “peaks.”
5. It compares these peaks: slow charging vs. fast charging, and now vs. when the battery was new.
6. If the peaks have changed a lot, the system knows the negative electrode might be at risk.
7. The system decides if it should slow down future charging to keep the battery safe.
This approach is very clever because it works with the battery as it is being used. It does not need to stop the battery or take it apart. It works for any kind of battery that can be charged and uses simple voltage data that is already available in most battery systems.
The patent also describes how the system can decide exactly when to slow down charging. It picks a “safety threshold.” If the health of the negative electrode drops below this line, the system lowers how fast the battery can be charged. This helps avoid dangerous situations before they happen.
Another smart part is that the method can keep checking the battery over time. As the battery gets older, the system keeps comparing new data to the old “beginning of life” data. This lets it spot slow changes and react as needed. This is helpful for electric cars, home batteries, and any device where long life and safety are important.
This method is also flexible. It works no matter what kind of material is used for the battery’s positive or negative parts. It can be used in small batteries for gadgets, or big batteries for cars and power grids.
Most importantly, the whole process is “non-destructive.” That means the battery does not need to be taken apart or damaged to check its health. It only uses normal charging data. This means it can be used in real products, not just in labs.
By using this patent’s invention, companies can make batteries that are safer, last longer, and work better. People using electric cars or home batteries can have more peace of mind. Makers of batteries can catch problems early and avoid recalls or failures. It’s a big step forward for battery safety.
Conclusion
Batteries are becoming an even bigger part of our lives, powering cars, homes, and devices. But with more use comes more risk. Keeping batteries safe—especially the negative electrode—is now more important than ever. The new method described in this patent application is a simple and smart way to check if the negative electrode is healthy, using only charging data. It works for all types of batteries, is not destructive, and can help prevent dangerous problems before they start. By using this technique, battery makers and users can have safer, longer-lasting batteries. As the world moves to more electric power, this kind of innovation is key to keeping us all safe and powered up.
Click here https://ppubs.uspto.gov/pubwebapp/ and search 20250362354.
