Invented by CHUA; HUI BOON, IDRUS; SYED ISA SYED, THANIKACHALAM; BALAMURUGAN MURUGAMUDALI, BAKAR; KHAIRUL AZHAR ABU

Digital assistants are everywhere, guiding us with helpful suggestions. But what if you ignore their advice? This new patent shows how a digital assistant can notice when you don’t follow its recommendations—and quickly update what it tells you next, all on its own. Let’s explore why this is important, the science behind it, and how this invention works to make digital assistants smarter and more helpful.
Background and Market Context
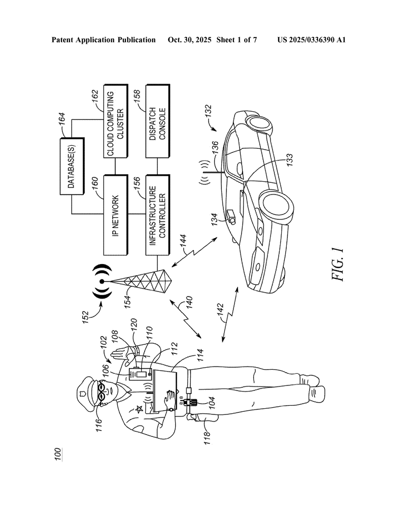
Digital assistants have become part of daily life. You probably know some big names like Siri, Alexa, or Google Assistant. These helpers live in your phone, your car, and even in the devices first responders use—like radios, laptops, or smart glasses. They help police, firemen, doctors, and many workers make decisions faster by sharing up-to-date information.
Imagine a firefighter rushing into a burning building. Their radio might tell them which way to spray water. A police officer might get a suggestion about how to handle a tricky situation. Even store clerks, warehouse workers, and security staff rely on digital helpers for quick advice. These assistants can use voice, text, or even pictures to deliver their recommendations.
But there’s a big problem: things change fast in the real world. Maybe the wind suddenly shifts during a fire. Maybe a police officer sees something unexpected. Maybe a nurse gets new patient data. If a digital assistant’s advice is based on old information, it might not be safe or helpful anymore. Even worse, if the assistant doesn’t realize that its advice is being ignored, it can’t learn or adjust.
This challenge is even bigger for people in dangerous jobs. First responders don’t have time to keep updating their assistant or explaining why they ignored advice—they need tools that keep up with them, not the other way around. In the marketplace, there’s a huge demand for smarter, more responsive assistants that don’t just talk—they listen and adapt right away, on their own.
That’s where this patent comes in. It describes a new way for digital assistants to notice when you don’t follow their advice, figure out if something important changed, and then update their recommendation automatically—all without needing you to say a word.
Scientific Rationale and Prior Art

To understand this invention, let’s look at how digital assistants work today and what’s missing.
Most digital assistants are smart, but not always aware of what’s really happening around you after they give advice. They listen to your requests, check the current data (like your location, health info, or what you’re working on), and then make a suggestion. If you want an update, you usually have to ask again or give them more information. Some assistants can check things on their own from time to time or if they detect a big event.
But here’s the catch: If you ignore their advice, they usually don’t notice. They keep waiting for your next command. In high-stakes jobs, that’s a problem. If a firefighter hesitates, the assistant doesn’t know why. If a nurse skips a step, the assistant doesn’t ask if something changed. Some assistants might update their advice if you give them new input, but that takes time, and sometimes it’s not safe or practical to interact in the middle of an emergency.
There are other tools that use sensors, cameras, or health trackers to gather data, but they mostly just collect information. They don’t connect your actions (or inactions) to their own advice. Some systems can monitor video or audio for certain triggers, but they don’t “know” if you’re ignoring advice because the situation changed—or for some other reason.
For example, let’s say a police officer gets a recommendation to chase a suspect, but instead stops to help an injured person. The assistant doesn’t know why the officer didn’t follow the advice. Was it because something else became more important? Or just a mistake? Without understanding the reason, the assistant can’t help in the best way.
This gap between giving advice and understanding what happens next is what the new patent aims to fix. It connects the dots between the assistant’s advice, your response, and any changes in the world around you. It also does this automatically—without needing you to explain yourself or ask for new advice.
Invention Description and Key Innovations
Now, let’s get into how this patent works and why it’s different from what’s come before.
The heart of the invention is a new method for digital assistants to keep track of what happens after they give advice, notice when you don’t follow their suggestion, and then figure out if something important changed. If there is a link between your action (or inaction) and a change in the situation, the assistant quickly updates its recommendation—without waiting for you to ask.

Here’s how it works, step by step, in plain language:
1. The digital assistant gathers all the data it can about you and your situation. This could be your job assignment, your location, the environment around you (like weather or air quality), your health, the status of your equipment, or even what’s happening to others nearby.
2. The assistant uses this data to make a recommendation, which it delivers to you by voice, on a screen, or both.
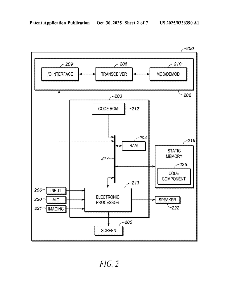
3. After giving you the recommendation, the assistant keeps watching (or listening) to see if you follow the advice. It can use cameras, microphones, or sensors to check what actions you take—or don’t take.
4. If you don’t do what the assistant suggested, it checks if something important changed since the last recommendation. Maybe a new sensor value popped up, or the environment shifted, or your assignment changed.
5. The assistant then asks itself: Is there a connection between you ignoring the advice and this change in the data? For example, if the wind speed suddenly picked up, is that why you stopped spraying water in that direction? If so, the assistant quickly updates its advice to match the new situation.
6. The updated recommendation is delivered right away, again by voice or on screen, so you get advice that matches what’s happening now—not what happened a minute ago.

7. This all happens automatically. The assistant doesn’t wait for you to ask for a new suggestion or explain your actions. It watches, listens, and adapts in real time.
Let’s bring this to life with a few easy-to-understand examples:
Imagine a firefighter at a burning building. The assistant says, “Spray water toward the west wall.” But the firefighter notices a strong wind blowing the other way. Instead of following the advice, they pause. The assistant, using cameras and wind sensors, notices the wind speed just jumped past a safe limit. It realizes the firefighter hesitated because of the wind change. Instantly, the assistant updates its recommendation: “Adjust your aim to the north wall, where the wind is calmer.”
Or, think about a police officer told to chase a robber. The officer doesn’t move—instead, they help a person who just got hurt. The assistant, using body cameras or health data, sees a new injury at the scene. It recognizes this is why the officer didn’t run after the suspect. The assistant then updates its advice: “Help the injured person. Another unit is chasing the suspect.”
These examples show how the assistant not only notices your actions, but also checks the world around you to understand why you might ignore its advice. Then, it adapts its help to better match the real situation.
A few more key points make this invention special:
– It works without extra effort from you. You don’t have to stop what you’re doing and explain yourself to the assistant.
– It uses lots of different types of data—video, audio, sensor readings, health info, equipment status, and more—to get a full picture of what’s happening.
– It checks for “meaningful” changes, not just any small shift. For example, it only updates its advice if the change is big enough to matter (like a wind speed jumping above a set limit).
– If the assistant can’t find a reason for you ignoring its advice, it can gently remind you to follow the original suggestion. But if it finds a real-world reason, it updates its advice.
– The invention works across many jobs and settings: firefighting, police work, hospitals, airports, retail stores, warehouses, hotels, and more.
– It can be built into many types of devices—smart radios, laptops, smart glasses, body cameras, wearable health trackers, and more.
– The whole process can happen in the cloud, on your device, or spread across different parts of a communication network, making it flexible for many uses.
The result is a digital assistant that’s always paying attention, learning from what you do (and don’t do), and giving you advice that keeps up with the real world—helping you work safer and smarter.
Conclusion
This patent shows a big step forward for digital assistants. Instead of just talking at you, they now pay attention to what you actually do—and why. By linking your actions to real changes in your environment, the assistant can update its advice quickly and without extra effort from you. This makes digital helpers more useful, more trustworthy, and more in tune with what’s really happening around you.
In a world where things change fast—especially for first responders and workers in busy places—having an assistant that can keep up can make all the difference. This invention opens the door to digital assistants that aren’t just smart, but truly aware and responsive. As technology keeps moving forward, expect to see more helpers that learn, adapt, and support you exactly when you need it most.
Click here https://ppubs.uspto.gov/pubwebapp/ and search 20250336390.
